基因测序芯片(纳米孔Flowcell)加工工艺 -广东佛智芯微电子-四代固态纳米孔芯片
一、公司简介:
广东佛智芯微电子技术研究有限公司成立于2018年08月13日,注册地位于佛山市南海区狮山镇南海软件科技园内佛高科技智库中心A座科研楼A107室(住所申报),法定代表人为华显刚。经营范围包括一般项目:工程和技术研究和试验发展(不含人体干细胞、基因诊断与治疗技术开发和应用);知识产权服务(专利代理服务除外);非居住房地产租赁;会议及展览服务;电子元器件批发;技术服务、技术开发、技术咨询、技术交流、技术转让、技术推广;创业空间服务;电子产品销售;货物进出口。(除依法须经批准的项目外,凭营业执照依法自主开展经营活动)(以上项目不涉及外商投资准入特别管理措施)
二、主流产品



三、专利检索
★专利检索1:
★专利:
CN118545897A-一种玻璃键合方法-2024-广东佛智芯微电子
CN114920468B-一种硼硅玻璃亲水性键合方法-北方夜视技术股份有限公司-2022
CN113415981A-一种玻璃键合方法-泰极微(成都)技术发展有限公司-2021
★测序芯片(Flowcell)类型:
集成电路芯片(IC Chip)
★加工工艺
、一种玻璃键合方法,本发明的玻璃键合方法可以将两块玻璃贴合对准并于较低温度下实现键合,避免引起玻璃爆裂。包括以下步骤:
(1)玻璃前处理:
1-1、采用无水乙醇对玻璃表面进行清洗,然后置于氮气环境中干燥处理;
1-2、将玻璃置于丙酮溶液中浸泡,浸泡完成后采用去离子水冲洗;
1-3、将玻璃置于异丙醇溶液中浸泡,浸泡完成后采用纯水冲洗。
(2)玻璃活化处理:
2-1:将玻璃置于体积比98%H2SO4:37%H2O2=3:1组成的第一液体中,加热50-70℃浸泡5-20min,然后采用纯水冲洗,完成预活化;
2-2:将预活化后的玻璃置于由体积比28%氨水:37%H2O2:H2O=1:1:3组成的第二液体中,加热至70-90℃
浸泡5-20min,完成活化。
(3)玻璃氧气等离子体清洗处理
(4)玻璃预键合(分子间脱水缩合形成Si-O-Si键):取两片处理后的玻璃,将其中一片玻璃表面朝上,往该表面上滴加0 .3‑0 .6 μ L/cm2纯水,再将另一片玻璃贴合于该玻璃上,并施加0 .4‑0 .6MPa压力16‑32h,完成两片玻璃的预键合
(5)键合(彻底干燥,分子间脱水缩合形成Si-O-Si键):在280‑320℃、1 .8‑2 .5MPa压力下对预键合后的玻璃进行热压处理,完成键合。
2、玻璃键合工艺:
(1)高温热压(≥800℃)熔化键合:温度高、热变形
(2)中间介质键合:将低熔点玻璃料(Glass Frit)置于键合界面,加热使其熔化粘接键合
(3)阳极键合(材料要薄):高温高压下,玻璃中Na+离子向负极方向移动形成耗尽层,实现Si-O-Si化学键键合。阳极键合适用于玻璃-硅-金属键合,且厚度不能太大。
(4)利用化学或物理方法使基片表面形成亲水性基团,之后在高温、加压的条件下使亲水性基团脱水缩合形成共价键的亲水性键合技术。
3、键合后无牛顿环和裂纹,证明键合良好。
4、影响因素:(1)压力;(2)水含量不能过多或过少。(3)加热温度
★优劣势
通过在玻璃表面引入‑OH基团以改善玻璃表面的亲水性,两个表面吸附的‑OH基团通过氧键连接,实现自发键和,然后通过热处理,除去界面水分子,形成Si‑O‑Si键,实现高强度键合,但该方法使用的化学溶液有较强的腐蚀性,所以不适合对光学性能要求较高的光学组件的键合
★专利检索2:
★专利:
CN114783958A-一种基于玻璃基板的封装结构及封装方法-2022-广东佛智芯微电子
★测序芯片(Flowcell)类型:
集成电路芯片(IC Chip)
★加工工艺
1、璃基板上开设凹槽的具体方法:激光切割、激光辅助刻蚀或纳米金属辅助刻蚀
2、钻孔方法:激光开孔或等离子气体轰击开孔
3、填孔的方法为电镀、溅射、化镀或纳米金属烧结
★优劣势
/
★专利3:
CN119170597A-低应力高结合强度的金属化玻璃基板结构及其制备方法-2024-广东佛智芯微电子
★测序芯片(Flowcell)类型:
集成电路芯片(IC Chip)
★加工工艺
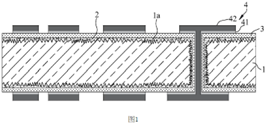
1、一种低应力高结合强度的金属化玻璃基板结构及其制备方法:
(1)结构为玻璃基板-粘接胶层-金属化线路结构
(2)胶层的材质选自BCB树脂、PI树脂、ABF树脂、环氧树脂、酚醛树脂、聚四氟乙烯树脂、丙烯酸树脂及其衍生物中任一种或至少两种的复合物。胶层厚度10-250um
2、一些玻璃处理工艺:
(1)粗化工艺为通过粗化液对玻璃板表面进行粗化处理(结构化处理),使玻璃板表面形成粗化界面,提高玻璃板表面积,以提高玻璃板与后续制作的金属化线路结构之间的结合强度
(2)表面硬化处理是指对玻璃板进行钢化处理或者渗碱金属强化处理,所述渗碱金属强化处理是指将玻璃板置于碱金属溶液中浸泡,使碱金属渗入至玻璃板表面的晶体结构中,以改变玻璃板表面的晶体结构,使玻璃板表面的晶格更致密。如渗K强化处理、渗Na强化处理、渗Li强化处理
(3)钢化处理是一种通过特殊工艺提高玻璃强度和安全性的方法。其基本原理是将普通玻璃加热到接近软化点后迅速冷却,使得玻璃表面产生压缩应力,而内部产生张应力,从而增加玻璃的抗冲击能力和安全性。包括物理法钢化、化学法钢化、空气淬火法、液体淬火法、盐浴淬火法
★优劣势
/
专利检索
★专利检索4:
★专利:
CN118598532A-一种玻璃基板刻蚀方法-2024-广东佛智芯微电子
★测序芯片(Flowcell)类型:
集成电路芯片(IC Chip)
★加工工艺
1、一种玻璃基板刻蚀以获得表面光滑、锥度小的通孔的方法:采用待刻蚀的玻璃基板将刻蚀槽分隔成第一区域和第二区域,刻蚀过程中通过温差(50-65℃)使刻蚀液形成对流,可以有效提高刻蚀效率,并能形成表面光滑的玻璃通孔以及且降低通孔锥度。
2、现有玻璃湿法刻蚀的问题:
(1)由于刻蚀液通常处于静态,与玻璃板接触并对玻璃板的改性区域刻蚀后的刻蚀液的浓度往往会低于新鲜的刻蚀液,从而导致刻蚀效率较低;
(2)玻璃板表面尤其是玻璃板的激光改性区域被刻蚀液刻蚀之后,刻蚀后的玻璃板(通孔)表面依然会存在部分玻璃杂质,从而存在刻蚀表面不光滑的现象。
3、本专利工艺流程:
激光改性处理→插入刻蚀槽→预刻蚀→加热和冷却刻蚀槽→正式刻蚀→完成
★优劣势
激光改性处理+温差法湿刻
文章来源
网络、新闻采访、专利等公开信息,仅用于学习
文章由芯晨微纳(河南)光电科技有限公司搜集整理
浙公网安备 33010602011771号