【计算机网络复习】1.2.1 分层结构、协议、接口、服务
分层结构、协议、接口、服务
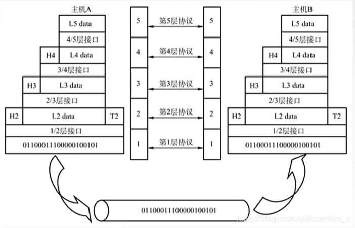
一、 分层结构
分层的基本原则
1、各层之间相互独立,每层只实现一种相对独立的功能。
2、每层之间界面自然清晰,易于理解,相互交流尽可能少。
3、结构上可分隔开。每层都采用最合适的技术来实现。
4、保持下层对上层的独立性,上层单向使用下层提供的服务。
5、整个分层结构应该能促使标准化工作。·

分层结构:
1、实体:第n层中的活动元素称为n层实体。同一层的实体叫对等实体。
2、协议:为进行网络中的对等实体数据交换而建立的规则、标准或约定称为网络协议。
- 语法:规定传输数据的格式
- 语义:规定所要完成的功能
- 同步:规定各种操作的顺序
3、接口(访问服务点SAP):上层使用下层服务的入口
4、服务:下层为相邻上层提供的功能调用。【垂直】
概念总结
-
实体表示任何可发送或接受信息的硬件或软件进程。
-
协议是控制两个对等实体进行通信的规则的集合,协议是“水平的”。
-
任一层实体需要使用下层服务,遵循本层协议,实现本层功能,服务是“垂直的”。
-
下层协议的实现对上层的服务用户是透明的。
-
网络体系结构是从功能上描述计算机网络结构。
-
计算机网络体系结构简称网络体系结构是分层结构。
-
每层遵循某个/些网络协议以完成本层功能。
-
计算机网络体系结构是计算机网络的各层及其协议的集合。
-
第n层在向n+1层提供服务时,此服务不仅包含第n层本身的功能,还包含由下层服务提供的功能。
-
仅仅在相邻层间有接口,且所提供服务的具体实现细节对上一层完全屏蔽。
-
体系结构是抽象的,而实现是指能运行的一些软件和硬件。

浙公网安备 33010602011771号