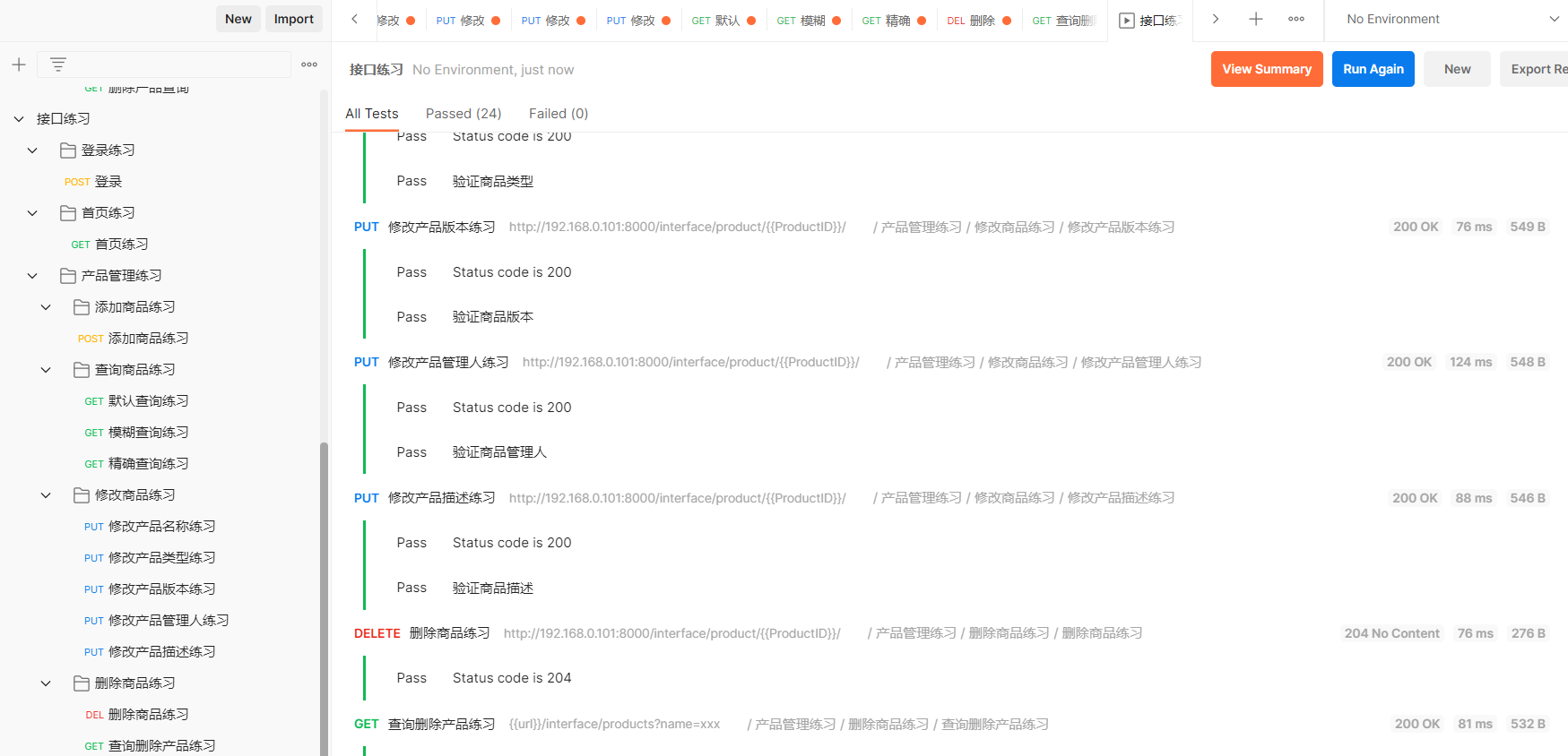
接口测试5.Postman生成报告
在平常工作中,如果一个模块玩的使用了自动化测试100%(所有场景)的实现了,那么人就不需要参与进去测试了。
查询业务形态:
-
默认查询
-
-
精确查询

优点:
对于整个接口测试案例,Tests保存整体测试

-
服务会提供API来提供第三方调用,那么服务可能出现瘫痪,怎么解决?
-
瘫痪/崩溃了怎么知道?------监控和报警
监控到服务出问题了然后发出报警:钉钉、微信、短信
-
在线安装Newman步骤
win+r输入cmd输入
npm install -g newman --register=https://registry.npm.taobao.porg
win+r输入cmd输入newman -v检测版本
Postman导入导出
导出:

测试报告导出Newman
执行Newman
打开控制台进入桌面cd desktop执行newman run空格table键找到相应文件

生成html格式
newman run 接口测试.postman_collection.json -r html
执行后,会在当前目录下生成newman的文件夹,文件夹里面就有.html的测试报告

作业








浙公网安备 33010602011771号