一、本周作业头
| 这个作业属于那个课程 | C语言程序设计II |
| 这个作业要求在哪里 | https://www.cnblogs.com/pengchen511/p/10564067.html |
| 我在这个课程的目标是 | 掌握结构的格式,并灵活运用 |
| 这个作业在那个具体方面帮助我实现目标 | 通过结构我能设计一个学生成绩信息的结构体 |
| 参考文献 | 《C语言程序设计》 |
二、基础作业
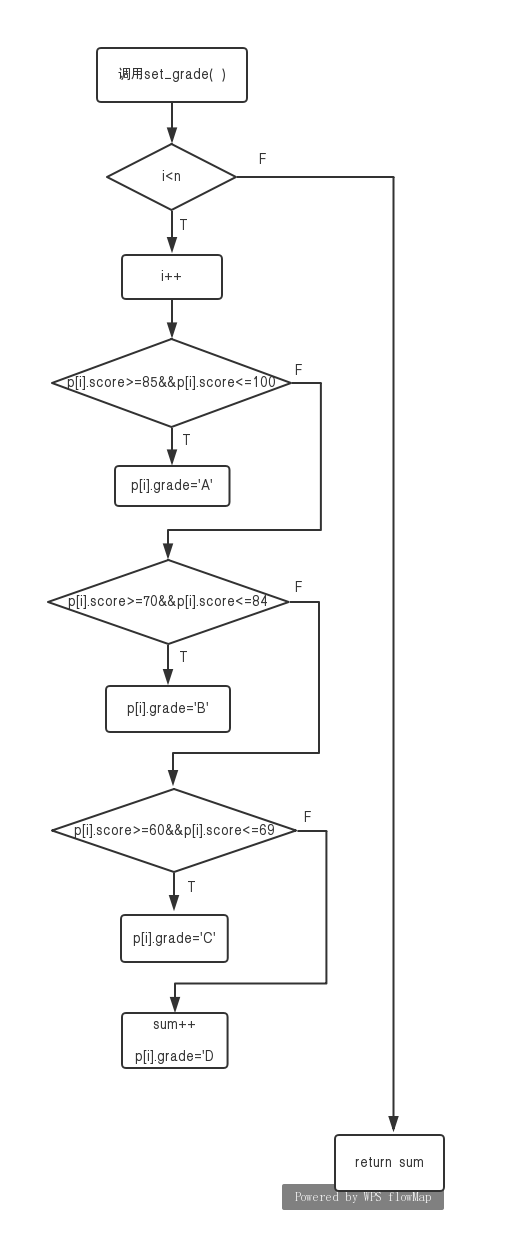
本题要求实现一个根据学生成绩设置其等级,并统计不及格人数的简单函数。
函数接口定义:
int set_grade( struct student *p, int n );
其中p是指向学生信息的结构体数组的指针,该结构体的定义为:
struct student{
int num;
char name[20];
int score;
char grade;
};
n是数组元素个数。学号num、姓名name和成绩score均是已经存储好的。set_grade函数需要根据学生的成绩score设置其等级grade。等级设置:85-100为A,70-84为B,60-69为C,0-59为D。同时,set_grade还需要返回不及格的人数。
裁判测试程序样例:
#include <stdio.h>
#define MAXN 10
struct student{
int num;
char name[20];
int score;
char grade;
};
int set_grade( struct student *p, int n );
int main()
{ struct student stu[MAXN], *ptr;
int n, i, count;
ptr = stu;
scanf("%d\n", &n);
for(i = 0; i < n; i++){
scanf("%d%s%d", &stu[i].num, stu[i].name, &stu[i].score);
}
count = set_grade(ptr, n);
printf("The count for failed (<60): %d\n", count);
printf("The grades:\n");
for(i = 0; i < n; i++)
printf("%d %s %c\n", stu[i].num, stu[i].name, stu[i].grade);
return 0;
}
/* 你的代码将被嵌在这里 */
输入样例:
10
31001 annie 85
31002 bonny 75
31003 carol 70
31004 dan 84
31005 susan 90
31006 paul 69
31007 pam 60
31008 apple 50
31009 nancy 100
31010 bob 78
输出样例:
The count for failed (<60): 1
The grades:
31001 annie A
31002 bonny B
31003 carol B
31004 dan B
31005 susan A
31006 paul C
31007 pam C
31008 apple D
31009 nancy A
31010 bob B
实验代码:
1 int set_grade( struct student *p, int n ) 2 { 3 int i,sum=0; 4 char A,B,C,D,grade; 5 for(i=0;i<n;i++) 6 { 7 if(p[i].score>=85&&p[i].score<=100) 8 { 9 p[i].grade='A'; 10 } 11 else if(p[i].score>=70&&p[i].score<=84) 12 { 13 p[i].grade='B'; 14 } 15 else if(p[i].score>=60&&p[i].score<=69) 16 { 17 p[i].grade='C'; 18 } 19 else 20 { 21 sum++; 22 p[i].grade='D'; 23 } 24 } 25 return sum; 26 }
设计思路:

题调试过程碰到问题及解决办法:

问题原因:结果有重复,范围没有设置好
解决办法:用else if语句,同时在范围上进行拆分,并用&&连接
运行结果:

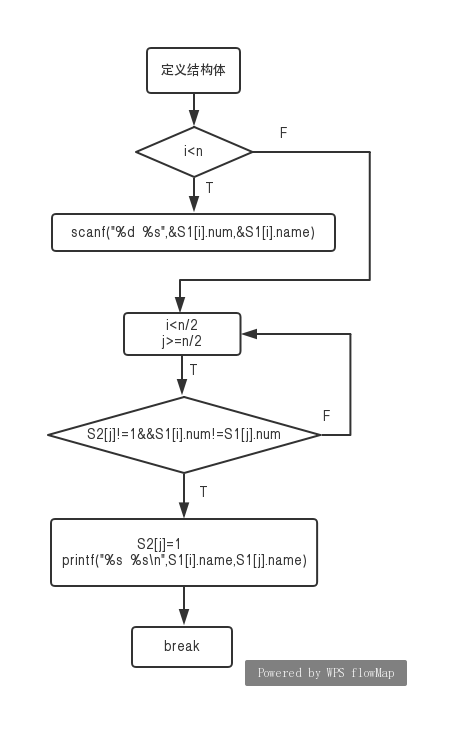
“一帮一学习小组”是中小学中常见的学习组织方式,老师把学习成绩靠前的学生跟学习成绩靠后的学生排在一组。本题就请你编写程序帮助老师自动完成这个分配工作,即在得到全班学生的排名后,在当前尚未分组的学生中,将名次最靠前的学生与名次最靠后的异性学生分为一组。
输入格式:
输入第一行给出正偶数N(≤50),即全班学生的人数。此后N行,按照名次从高到低的顺序给出每个学生的性别(0代表女生,1代表男生)和姓名(不超过8个英文字母的非空字符串),其间以1个空格分隔。这里保证本班男女比例是1:1,并且没有并列名次。
输出格式:
每行输出一组两个学生的姓名,其间以1个空格分隔。名次高的学生在前,名次低的学生在后。小组的输出顺序按照前面学生的名次从高到低排列。
输入样例:
8
0 Amy
1 Tom
1 Bill
0 Cindy
0 Maya
1 John
1 Jack
0 Linda
输出样例:
Amy Jack
Tom Linda
Bill Maya
Cindy John
实验代码:
1 #include<stdio.h> 2 struct student 3 { 4 char name[50]; 5 int num; 6 }; 7 int main (void) 8 { 9 int n,S2[50]; 10 scanf("%d",&n); 11 struct student S1[50]; 12 13 for(int i=0;i<n;i++) 14 { 15 scanf("%d %s",&S1[i].num,&S1[i].name); 16 } 17 for(int i=0;i<n/2;i++) 18 for(int j=n-1;j>=n/2;j--) 19 { 20 if(S2[j]!=1&&S1[i].num!=S1[j].num) 21 { 22 S2[j]=1; 23 printf("%s %s\n",S1[i].name,S1[j].name); 24 break; 25 } 26 } 27 28 return 0; 29 }
设计思路:

题调试过程碰到问题及解决办法:

问题原因:我在对S2[j]!=1&&S1[i].num!=S1[j].num语句进行判断是用了while,导致答案部分正确
解决办法:把while改成if
运行结果:

每个 PAT 考生在参加考试时都会被分配两个座位号,一个是试机座位,一个是考试座位。正常情况下,考生在入场时先得到试机座位号码,入座进入试机状态后,系统会显示该考生的考试座位号码,考试时考生需要换到考试座位就座。但有些考生迟到了,试机已经结束,他们只能拿着领到的试机座位号码求助于你,从后台查出他们的考试座位号码。
输入格式:
输入第一行给出一个正整数 N(≤1000),随后 N 行,每行给出一个考生的信息:准考证号 试机座位号 考试座位号。其中准考证号由 16 位数字组成,座位从 1 到 N 编号。输入保证每个人的准考证号都不同,并且任何时候都不会把两个人分配到同一个座位上。
考生信息之后,给出一个正整数 M(≤N),随后一行中给出 M 个待查询的试机座位号码,以空格分隔。
输出格式:
对应每个需要查询的试机座位号码,在一行中输出对应考生的准考证号和考试座位号码,中间用 1 个空格分隔。
输入样例:
4
3310120150912233 2 4
3310120150912119 4 1
3310120150912126 1 3
3310120150912002 3 2
2
3 4
输出样例:
3310120150912002 2
3310120150912119 1
实验代码:
1 #include<stdio.h> 2 struct student 3 { 4 char number[17]; 5 int snumber,knumber; 6 }; 7 int main(void) 8 { 9 int i,j,a,b[1000],n; 10 scanf("%d",&n); 11 struct student s1[1000]; 12 13 for(i=0;i<n;i++) 14 { 15 scanf("%s%d%d",s1[i].number,&s1[i].snumber,&s1[i].knumber); 16 } 17 scanf("%d",&a); 18 19 for(i=0;i<a;i++) 20 { 21 scanf("%d",&b[i]); 22 } 23 24 for(i=0;i<a;i++) 25 for(j=0;j<n;j++) 26 { 27 while(b[i]==s1[j].snumber) 28 { 29 printf("%s %d\n",s1[j].number ,s1[j].knumber); 30 break; 31 } 32 } 33 34 return 0; 35 }
设计思路:

题调试过程碰到问题及解决办法:

问题原因:在while语句中没有用break,导致运行超时
解决办法:加上break
运行结果:

三、挑战作业
继续上一周的挑战作业,请完成了的同学们继续优化。
九宫格键盘对应英语单词
九宫格键盘一般可以用于输入字母。如用2可以输入A、B、C,用3可以输入D、E、F等。如图所示:

对于号码5869872,可以依次输出其代表的所有字母组合。如:JTMWTPA、JTMWTPB……
1.您是否可以根据这样的对应关系设计一个程序,尽可能快地从这些字母组合中找到一个有意义的单词来表述一个电话好吗呢?如:可以用单词“computer”来描述号码26678837.
2.对于一个电话号码,是否可以用一个单词来代表呢?怎样才是最快的方法呢?显然,肯定不是所有的电话号码都能够对应到单词上去。但是根据问题1的解答,思路相对比较清晰。
题目来源:《编程之美——微软技术面试心得》 稍有修改
四、预习作业
第十周的教学内容是:第十章 函数与程序结构
请大家查阅资料,思考问题中的三问:什么是递归函数,它的优点和缺点有哪些,如何归纳出递归式?
请将你的思考用自己的语言写下来。如果有引用他们的文字,请一定要标出出处(使用Markdown的链接方式)。
答:
1、递归就是一个函数在它的函数体内调用它自身。执行递归函数将反复调用其自身,每调用一次就进入新的一层。递归函数必须有结束条件。
所以递归要有两个要素,结束条件与递推关系
优点:
1. 简洁
2.在树的前序,中序,后序遍历算法中,递归的实现明显要比循环简单得多。
缺点:
1.递归由于是函数调用自身,而函数调用是有时间和空间的消耗的:每一次函数调用,都需要在内存栈中分配空间以保存参数、返回地址以及临时变量,而往栈中压入数据和弹出数据都需要时间。->效率
2.递归中很多计算都是重复的,由于其本质是把一个问题分解成两个或者多个小问题,多个小问题存在相互重叠的部分,则存在重复计算,如fibonacci斐波那契数列的递归实现。->效率
3.调用栈可能会溢出,其实每一次函数调用会在内存栈中分配空间,而每个进程的栈的容量是有限的,当调用的层次太多时,就会超出栈的容量,从而导致栈溢出。优缺点
五、学习进度统计
| 周/日期 | 这周所用时间 | 代码行 | 学到的知识点简介 | 目前比较迷惑的问题 |
| 3/9-3/15 | 10小时左右 | 200左右 | 自学二维数组 | 对矩阵的上下三角形的一些规律,运用的不熟练 |
| 3/16-3/22 | 8小时左右 | 260左右 | 选择排序法和冒泡法 | 对题目进行思路分析不够全面 |
| 3/23-3/29 | 10小时30分钟左右 | 220左右 | 在定义指针变量时需要使用指针声明符 * ,但指针声明符并不是指针的组成部分 | 什么是指针变量的初始化 |
| 3/30-4/5 | 7小时左右 | 180左右 | 理解变量、内存单元和地址之间的关系;掌握定义指针变量,使用指针变量 | 如何使用指针实现函数调用返回多个值 |
| 4/6-4/12 | 8小时左右 | 200左右 | 使用指针实现函数调用返回多个值 | 老师上课的表格,我还不能完全运用 |
| 4/13-4/19 | 9小时左右 | 236左右 | 可以根据运行时的实际存储需求分配适当的存储区 | 还不能分清什么时候用数组什么时候用字符串 |
| 4/20-4/26 | 7小时左右 | 220左右 | 了解结构的概念和定义 | 结构的定义形式还有其他类型吗 |
累积代码行和博客字数:
| 时间 | 博客字数 | 代码行数 |
| 第二周 | 1010 | 45 |
| 第三周 | 1479 | 92 |
| 第四周 | 2586 | 74 |
| 第五周 | 2308 | 68 |
| 第六周 | 1791 | 112 |
| 第七周 | 2043 | 99 |
| 第八周 | 2422 | 118 |
| 第九周 | 2511 | 87 |
六、学习感悟
感觉这节内容还是比之前的指针容易掌握些,主要是因为它的代码有固定的格式,我们只要套用格式就好了
七、描述结对编程过程和结对编程的优缺点
都挺好的,希望继续保持下去


浙公网安备 33010602011771号