👀在vim文本编辑器下,单词和字串是同一个概念吗?
单词和字串是同一个东西吗?
显然不是的,一般来说,单词可以有两种定义
-
数字字母下划线组成的字符序列,如喵呜_889,可以是单词
-
当然,除去数字字母下划线的非空白符组成的字符序列,如,..也叫做单词
那么什么叫字串呢?
字串比单词好记多了,只要是非空白符组成的字符序列都是字串,聪明的同学可能发现了,单词是字串的子集。
说到字串和单词那一定得谈一谈vim了。什么是vim呢?
vim是linux下的一种文本编辑器,他具有丰富的命令。你可以通过这款游戏去玩转vim的基本命令。
这款游戏灵感来自PacMan,让你使用Vim的命令去控制主角躲避怪物。把这款游戏玩熟练了,你的Vim水平也上了很大一个台阶。
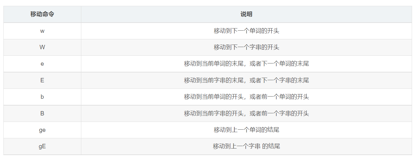
控制单词和字串移动的命令如下(小写控制单词,大写控制字串)


浙公网安备 33010602011771号