TCP/IP协议学习笔记2----链路层
1、数据链路层三个目的:
1)为IP模块发送和接收IP数据报;
2)为ARP模块发送ARP请求和接收ARP应答;
3)为RARP发送RARP请求和接收RARP应答。
ARP:地址解析协议,是用IP地址换MAC地址的一种协议;
RARP:逆地址解析协议。
2、以太网和IEEE802封装
以太网:一般是指数字设备公司(Digital Equipment Corp)、英特尔公司(Intel Corp)和Xerox公司在1982年联合公布的一个标准,是现在TCP/IP采用的主要的局域网技术。采用CSMA/CD的媒体接入方法,速率为10Mb/s,地址为48bit。
IEEE 802委员会的标准集中,802.3针对整个CSMA/CD网络。
在TCP/IP中,以太网IP数据报的封装是在RFC 894中定义的,IEEE 802网络中的IP数据报封装是在RFC 1042中定义的。主机需求RFC要求每台Internet主机与一个10Mb/s的以太网电缆相连接:
1)必须能发送和接收采用RFC 894封装格式的分组;
2)应该能接收与RFC 894混合的RFC1042封装格式的分组;
3)也许能发送采用RFC1042格式封装的分组。如果主机能同时发送两种类型的分组数据,那么发送的分组必须是可以设置的,而且默认条件下必须是RFC 894分组。
可见,RFC1042在TCP/IP里处于一个配角的地位,这两种不同的数据报格式参考教材:http://docs.52im.net/extend/docs/book/tcpip/vol1/2/
3、协议
Serial Line IP(SLIP):一种在串行线路上对IP数据报进行封装的简单形式,SLIP适用于RS-232串行接口和高速调制解调器接入Internet。
PPP点对点协议:修改了SLIP协议中的所有缺陷。ppp比SLIP的优点:1)ppp支持在单根串行线路上运行多种协议,不只是IP协议;2)每一帧都有循环冗余检验;3)通信双方可以进行IP地址的动态协商;4)与CSLIP类似,对TCP和IP报文首部进行压缩;5)链路控制协议可以对多个数据链路选项进行设置。这些优点所付出的代价就是在每一帧首部增加3字节,当建立链路时要发送几帧协商数据,以及更为复杂的实现。
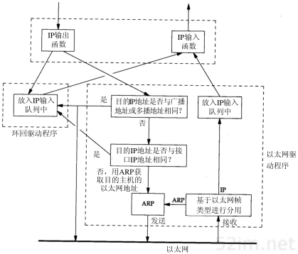
4、环回接口
环回接口(Loopback Interface):允许运行在同一台主机上的客户程序和服务器程序通过TCP/IP进行通信。
环回接口处理IP数据报的过程如图:

注意点:
1)传给环回地址(一般是127.0.0.1)的任何数据作为IP输入;
2)传给广播地址或多播地址的数据报复制一份传给环回接口,然后送到以太网上。这是因为广播传送和多播传送的定义包含主机本身;
3)任何传给该主机IP地址的数据均送到环回接口。
5、最大传输单元MTU
以太网和802.3对数据帧的长度都有一个限制,其最大值分别是1500和1492字节,链路层的这个特性称作MTU。
IP层数据报要小于MTU,否则要进行分片。
可以用netstat命令打印出网络接口的MTU,如“netstat -in”
浙公网安备 33010602011771号