- 前言
- Chapter 2: Signals, Interfaces, and Pins 信号,接口和引脚
- 2.1 Introduction
- 2.2 Dedicated Device Pins
- 2.3 PS-PL Signals and Interfaces
- 2.3.1 PS-PL Voltage Level Shifters
- 2.3.2 Processor Communications
- 2.3.3 System Error Signals
- 2.3.4 MIO-EMIO Signals and Interfaces
- 2.3.5 Miscellaneous Signals and Interfaces
- 2.3.6 Dedicated Stream Interfaces
- 2.3.7 DisplayPort Media Interfaces
- 2.3.8 Clock Signals
- 2.3.9 Timer Signals
- 2.3.10 System Debug Signals and Interfaces
- 2.4 PS-PL AXI Interfaces
- 本章小结
前言
上一章讲了ug1085MPSOC技术参考手册的第一章,也就是MPSOC整体概述的一章,这次我们来讲第二章,也就是关于信号与引脚以及接口的一章。
Chapter 2: Signals, Interfaces, and Pins 信号,接口和引脚
2.1 Introduction
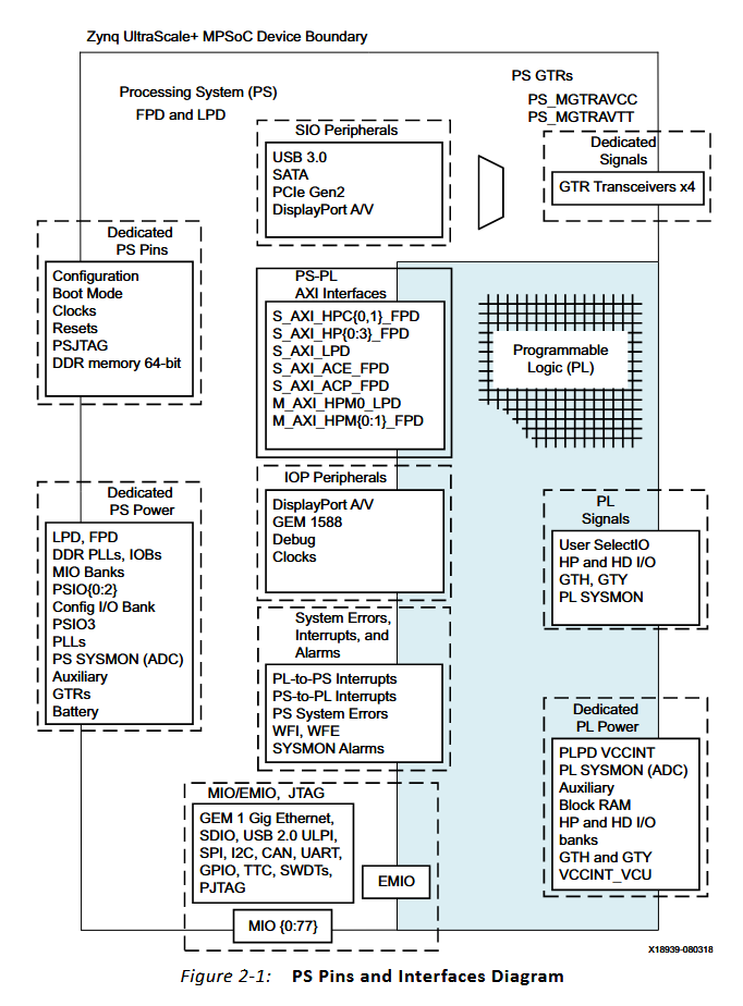
这一章主要介绍两个方面,一是MPSOC的专用引脚,这些引脚的功能是确定的,不像MIO引脚功能较多,可以分配给不同的外设控制器。这些引脚主要是电源,时钟等引脚。第二个方面就是PL端与PS端相连的信号,这些信号就比较多了,我们待会一个个介绍。最后还介绍了以下PS和PL端的AXI互联接口。下面这张图给出了PS和PL端信号和接口的总览,还有一些电源域的内容:

2.2 Dedicated Device Pins
这一节就是介绍设备专用引脚的,专用引脚主要有6类,这些引脚的功能和用途是固定的,我们来挨个介绍。
2.2.1 Power Pins
MPSOC内部是一个非常复杂的系统,不同的部分需要不同的供电指标,这些引脚就是MPSOC的供电引脚,要注意这些引脚是在PCB上与供电端之间连接的,其对应的供电电压以及其他参数都可能不同,而且应该还有特定的上电顺序,更为具体的内容在Zynq UltraScale+ MPSoC Data Sheet: DC and AC Switching Characteristics (DS925) 中会写到,这里就不再贴表格了。
2.2.2 Clock, Reset, and Configuration Pins
这类引脚是有关时钟,复位以及配置MPSOC的,比较典型的有PS端参考时钟,PLPS端复位信号,PLPS端初始化完成信号以及boot模式设置信号,这些信号都是实际接到PCB上的,这里还要在强调一遍。信号比较多这里也不在详述了。
2.2.3 JTAG Interfaces
JTAG接口是用来连接上位机调试MPSOC的,这小节额外提到了MPSOC有两个JTAG接口,一个PSJTAG一个PJTAG,但是我没看懂什么是PJTAG,描述为The PJTAG interface port provides exclusive access to the Arm DAP controller。
2.2.4 MIO Pins
MIO就是多用途IO,这些IO的功能是通过访问IOU_SLCR寄存器集合来实现的,MPSOC总共有78个MIO,这些MIO被分为26个一组共三组,与其相连的外设如下图所示:

2.2.5 DDR Memory Controller I/O
PS端的DDR控制器连接的IO也是固定的,不过这里并没有讲,说内容在第17章。
2.2.6 PS GTR Serial Channel Device Pins
PS端的GTR也有固定使用的几个引脚,也就是说只有这些引脚才能用GTR实现要求的协议,例如PCIE和以太网,不够这部分我也不太熟,这里也说详细内容看第29章,也不介绍了。
2.3 PS-PL Signals and Interfaces
PS端和PL端有一大堆信号来实现互相连接,例如PS端传给PL的时钟,PS与PL互传的中断等等,这一节就是介绍这些信号。这些互联信号排除AXI互联接口外还有10类,下面一一介绍。
2.3.1 PS-PL Voltage Level Shifters
我们在看PS端和PL端进行互联时,可能会想当然的以为是不是直接走线过去就能直接连接了,但是这部分内容却说明PS与PL的连接没有这么简单,来看下面的原文:
PS使用电压水平转换器与PL通信。PS和PL之间的所有信号(输入和输出)和接口都穿过电压边界并通过电压水平转换器路由。一些电压电平转换器使能由PL电源状态控制,包括PL、EMIO JTAG、PCAP接口和其他模块的信号。PL被视为单独的电源域(PLPD)。
也就是说,PL端与PS端的连接首先要通过电压电平转换器,之后才能与PS进行相连,相当于转换器是所有互联信号的基础。不过这里提到AXI互联是一个单独的模块,需要像PMU发送PS-PL电源隔离失效请求才能够互联,不过这里并没有展开讲。
2.3.2 Processor Communications
这一小节描述了PL与PS端PMU,处理器以及GIC中断控制器通信的信号,列表如下:

这里大致可以分为两类信号,一类PL与PMU交流的信号,我没有找到这类信号的实际意义。第二类是中断类信号,PL和CPU互相中断的信号,有PL和PS进行IPI中断(处理器间中断)的信号,还有就是LPD和FPD外设连接GIC或者PL的中断信号。我还查看了VIVADO中的中断设置,可以来对照一下:

2.3.3 System Error Signals
这里文档没有详细解释什么是系统错误信号,只列了一个表:

我也不太理解这些信号的作用,这里就跳过了。
2.3.4 MIO-EMIO Signals and Interfaces
我们之前提到过,PS端的外设不仅仅可以连接到MIO上,还可以通过EMIO连接到PL端的IO上,这里就显示了外设是否运行连接到EMIO以及其性能是否改变,其结果如下图所示:

这小节有个标识很显著的建议,来看下原文:
建议:IOP接口I/O信号的路由必须配置为一个组。也就是说,接口内的信号不得分裂并路由到不同的MIO管脚组。例如,如果SPI0时钟被路由到MIO管脚40,则SPI 0接口的其他信号必须被路由到MIO管脚41至45。同样,IOP接口内的信号不得在MIO和EMIO之间分割。然而,IOP接口内未使用的信号不一定需要路由。每个未使用的MIO引脚都可以配置为一个GPIO。
我理解一下这段话,也就是说,对于复用MIO有一个前提,就是复用的MIO必须都处于一个group中,如我们之前所说,78个MIO被以26个一组分为3组,这些组就是复用的限制,另外还有限制是不能既复用MIO又复用EMIO。
2.3.5 Miscellaneous Signals and Interfaces
这节直译叫做杂项信号,顾名思义我也没太看懂这些信号是干嘛的,不过可以确认的是处理两个和GEM相关的信号,其余信号是PL端用于额外控制PS端外设的,具体的内容如下图:

2.3.6 Dedicated Stream Interfaces
这部分似乎是在说PS端的GEM(Gbit 以太网控制器)能够直接路由到PL进行包处理以及视频广播,不过我没有用过这个功能,这里也说详细内容见第34章,这里不在说了。
2.3.7 DisplayPort Media Interfaces
这个部分讲DP口,就是平时在显示器上常见的DP口,似乎PS端的DP控制器支持双向传输,即可以由PS传到PL,又可以由PL传到PS,但是详细内容我也不懂,这里就列了下DP口的传输信号,如下图所示:

2.3.8 Clock Signals
我们在使用VIVADO设置MPSOC的BLOCK时,能够看到在PS-PL互联选项中有提供给PL时钟的选项,这里的时钟信号就代表了那四个被传输给PL的时钟信号,除此以外PL也可以给PS传输一些时钟信号,我这里找了下VIVADO中的设置界面,可以对照一下:


2.3.9 Timer Signals
MPSOC有4个三路定时器和两个看门狗,一个负责LPD域一个负责FPD域的看门。定时器可以被用在PL端,以实现比较简单的波形计数,而看门狗则实现对PL端逻辑的运行监控,也就是PL端要不停喂狗来防止看门狗对PL产生复位信号。但是我这里也有点疑问,三路定时器的计数值PL端是否能够设置定时器的计数值,我看了一下定时器章节但是没看见相关内容,我估计应该是不能。定时器信号如下表:

2.3.10 System Debug Signals and Interfaces
这小节应该是在讲系统的degug信号,但这里完全没有做解释,我也不多说了。
2.4 PS-PL AXI Interfaces
这节讲了下PS与PL进行连接的AXI信号接口,AXI接口对于连接PL和PS是非常关键的,这一连接不仅涉及数据传输,还涉及统一地址映射,也是很重要的内容,这里也只是简要提了一下,更为具体的内容等到以后看到第35章的时候再详细讲,现在就只带过一下。PS与PL的AXI互联总线如下图所示:

综合的来说这些总线总的就分为两组,一组PS端做主器件控制PL,一组PL做主器件控制PS,当然这其中还分为PL连接FPD和LPD,以及直接连接CCI和APU缓存的区别,不过我们以后再讲。
本章小结
本章主要讲了一大堆的信号线,这些信号线很多还是比较关键的,特别对于PCB制作和PL与PS互联,但是内容也比较偏介绍性,我们下次来看第三章。
浙公网安备 33010602011771号