AS7173搭配VL171应用TypeC转DP双向8K60设计方案
VL171是一款USB Type-C AltMode多路复用器(MUX),AS7173是Type-C转DisplayPort双向转换芯片,两者搭配可实现TypeC转DP双向8K60方案,向下兼容4K240分辨率,AS7173芯片支持PD2.0/3.0协议,具备DP1.4重复输出能力,支持UFP、DFP和DRP多种CC配置模式,工作电压范围为3.3V至5.5V,并集成高达6KV的ESD保护功能。
AS7173搭配VL171应用电路图如下:

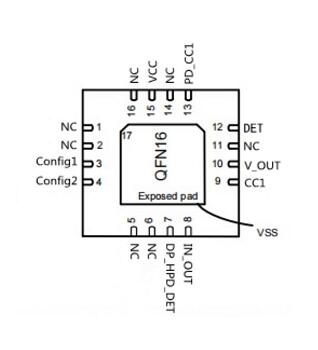
AS7173管脚分布及功能定义说明如下:



浙公网安备 33010602011771号