会员
众包
新闻
博问
闪存
赞助商
HarmonyOS
Chat2DB
所有博客
当前博客
我的博客
我的园子
账号设置
会员中心
简洁模式
...
退出登录
注册
登录
liuyubo58
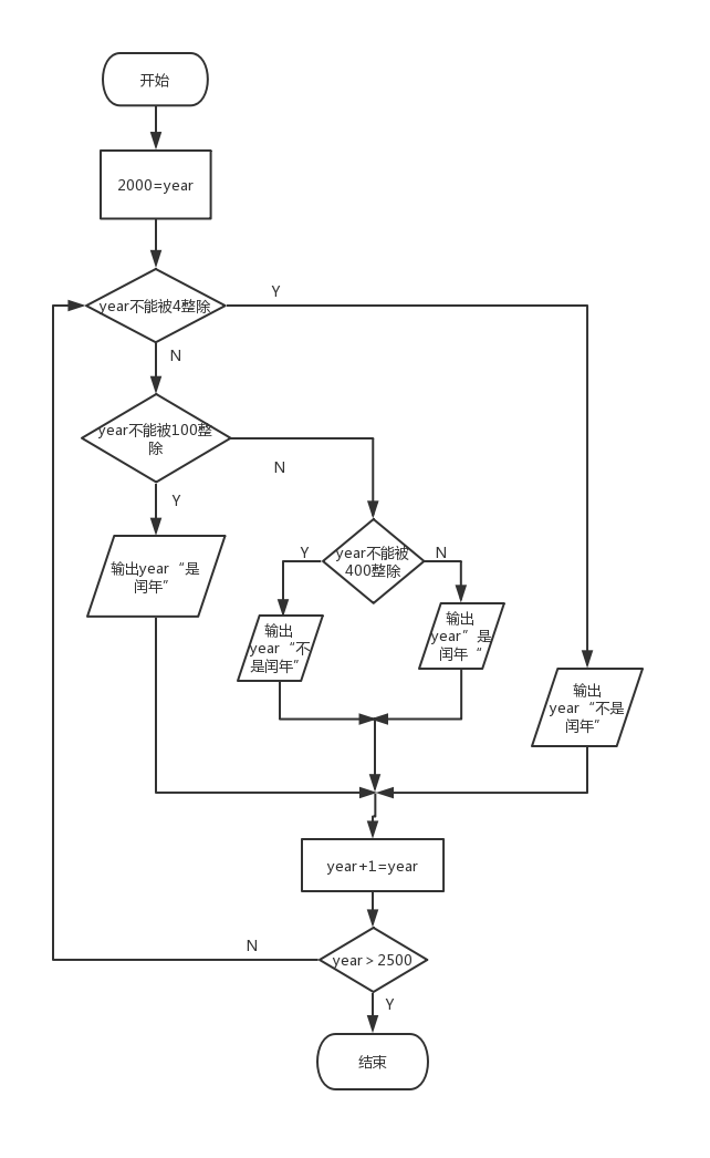
流程框图
posted on
2019-03-06 21:46
liuyubo58
阅读(
317
) 评论(
0
)
收藏
举报
刷新页面
返回顶部
导航
博客园
首页
新随笔
联系
订阅
管理
公告