第一次博客作业
一、前言:
题目总览:
第一次作业:
1.身体质量指数(BMI)测算
2.长度质量计量单位换算
3.奇数求和
4.房产税费计算
5.游戏角色选择
6.学号识别
7.判断三角形类型
8.巴比伦法求平方根近似值
9.二进制数值提取
第二次作业:
1.成绩计算-1-类、数组的基本运用
2.成绩计算-2-关联类
3.有重复的数据
4.去掉重复的数据
5.面向对象编程(封装性)
6.GPS测绘中度分秒转换
7.菜单计价程序-1
8.jmu-java-日期类的基本使用
第三次作业:
1.jmu-java-日期类的基本使用
2.课程成绩统计程序-1
3.面向对象编程(封装性)
4.判断两个日期的先后,计算间隔天数、周数
对于第一次作业,考验的都是java的一些基础语法以及对程序细节的处理,并未涉及有关面对对象的题目。
第二第三次作业开始涉及有关面对对象的问题,特别是课程和菜单计价问题,做的晕晕乎乎的,不过经历了一段时间的学习,也对面对对象有了一些理解。
总体来说题目量不算太大,但涉及面对对象知识的题目,对于我来说还是有一定难度的。
二、设计与分析:
第二次作业第一题:
创建学生类,包含
属性:学号(String)、姓名(String)、语文成绩(int)、数学成绩(int)、物理成绩(int)
方法:计算总分、计算平均分
输入5个学生的信息,将每个学生的信息封装在一个学生对象中。
按输入顺序依次输出5个学生的总分、平均分(精确到小数点后两位,舍去部分按四舍五入规则计入最后一位)。
先上源码:
import java.text.DecimalFormat;
import java.util.ArrayList;
import java.util.Scanner;
class Student {
String id;
String name;
int chinesecode;
int mathcode;
int fcode;
public String getId() {
return id;
}
public void setId(String id) {
this.id = id;
}
public String getName() {
return name;
}
public void setName(String name) {
this.name = name;
}
public int getChinesecode() {
return chinesecode;
}
public void setChinesecode(int chinesecode) {
this.chinesecode = chinesecode;
}
public int getMathcode() {
return mathcode;
}
public void setMathcode(int mathcode) {
this.mathcode = mathcode;
}
public int getFcode() {
return fcode;
}
public void setFcode(int fcode) {
this.fcode = fcode;
}
Scanner cs = new Scanner(System.in);
ArrayList<Student> students = new ArrayList<>();
public void add() {
for (int i = 0; i < 5; i++) {
Student s = new Student();
String id = cs.next();
s.setId(id);
String name = cs.next();
s.setName(name);
int chinesecode = cs.nextInt();
s.setChinesecode(chinesecode);
int mathcode = cs.nextInt();
s.setMathcode(mathcode);
int fcode = cs.nextInt();
s.setFcode(fcode);
students.add(s);
}
}
public void allcode()
{
for (int i = 0; i < students.size(); i++) {
Student s = students.get(i);
int all = s.getChinesecode() + s.getMathcode() + s.getFcode();
double average = all/3.0;
DecimalFormat df = new DecimalFormat("#.00");
System.out.println(s.getId()+" "+s.getName()+" "+all+" "+df.format(average));
}
}
}
public class Main {
public static void main(String[] args) {
Student s = new Student();
s.add();
s.allcode();
}
}

时序图如上。
程序分析:本题是一道比较简单的面向对象编程题。首先建了一个学生类,类成员包括学生ID,学生姓名,学生的语文、数学及物理成绩。通过建立一个student的ArrayList集合来存储输入的学生信息,使用add()方法存入5个学生信息,最后再通过allcode()方法计算各个学生的总成绩和平均成绩。
第二次作业第二题:
创建成绩类,包含:
属性:平时成绩(int)、期末成绩(int)
方法:计算总成绩(计算规则:平时成绩0.4+期末成绩0.6,保留整数部分,小数部分直接丢弃)
创建学生类,包含:
属性:学号(String)、姓名(String)、语文成绩(成绩类)、数学成绩(成绩类)、物理成绩(成绩类)
方法:计算总分、计算平均分
输入3个学生的信息,将每个学生的信息封装在一个学生对象中。
按输入顺序依次输出3个学生的总分、平均分(精确到小数点后两位,舍去部分按四舍五入规则计入最后一位)。
源码:
import java.util.ArrayList;
import java.util.Scanner;
public class Main {
public static void main(String[] args) {
Student[]s = new Student[3];
Scanner cs = new Scanner(System.in);
for (int i = 0; i < s.length ; i++) {
Student s1 = new Student();
s1.chinesecode = new code();
s1.mathcode = new code();
s1.fcode = new code();
for (int j = 0; j < 3; j++) {
s1.id = cs.next();
s1.name = cs.next();
String a = cs.next();
if (a.equals("语文")) {
s1.chinesecode.normalcode = cs.nextInt();
s1.chinesecode.classcode = cs.nextInt();
} else if (a.equals("数学")) {
s1.mathcode.normalcode = cs.nextInt();
s1.mathcode.classcode = cs.nextInt();
} else if (a.equals("物理")) {
s1.fcode.normalcode = cs.nextInt();
s1.fcode.classcode = cs.nextInt();
}
}
s[i] = s1;
}
for (int i = 0; i <s.length; i++) {
System.out.printf(s[i].id+" "+s[i].name+" "+s[i].getTotalcode()+" ");
System.out.printf("%.2f",s[i].getnomalAverage());
System.out.print(" ");
System.out.printf("%.2f",s[i].getclassAverage());
System.out.print(" ");
System.out.printf("%.2f",s[i].getAverage());
System.out.println();
}
}
}
class code {
int normalcode;
int classcode;
public code(int normalcode, int classcode) {
this.normalcode = normalcode;
this.classcode = classcode;
}
public code() {
}
public int getNormalcode() {
return normalcode;
}
public void setNormalcode(int normalcode) {
this.normalcode = normalcode;
}
public int getClasscode() {
return classcode;
}
public void setClasscode(int classcode) {
this.classcode = classcode;
}
public int allcode()
{
double allcode = this.normalcode*0.4+this.classcode*0.6;
int a = (int)allcode;
return a;
}
}
class Student {
String id;
String name;
code chinesecode;
code mathcode;
code fcode;
public String getId() {
return id;
}
public void setId(String id) {
this.id = id;
}
public String getName() {
return name;
}
public void setName(String name) {
this.name = name;
}
public code getChinesecode() {
return chinesecode;
}
public void setChinesecode(code chinesecode) {
this.chinesecode = chinesecode;
}
public code getMathcode() {
return mathcode;
}
public void setMathcode(code mathcode) {
this.mathcode = mathcode;
}
public code getFcode() {
return fcode;
}
public void setFcode(code fcode) {
this.fcode = fcode;
}
public Student(String id, String name, code chinesecode, code mathcode, code fcode) {
this.id = id;
this.name = name;
this.chinesecode = chinesecode;
this.mathcode = mathcode;
this.fcode = fcode;
}
public Student() {
}
public int getTotalcode()
{
return chinesecode.allcode()+ mathcode.allcode()+ fcode.allcode();
}
public double getAverage() {
return getTotalcode()/3.0;
}
public double getnomalAverage()
{
return (chinesecode.normalcode+mathcode.normalcode+ fcode.normalcode)/3.0;
}
public double getclassAverage()
{
return (chinesecode.classcode+mathcode.classcode+ fcode.classcode)/3.0;
}
}

时序图如上。
源码分析:先建两个类student类和code类,添加相应的成员。再创建getTotalcode()方法求得学生总成绩,getAverage()方法计算学生平均成绩,getnormalAverage(),getclassAverage()方法分别计算平时平均成绩和期末平均成绩。这些类与方法的创建是比较简单的,但在输入数据方面就花了我很长时间。首先先创键一个数组存储学生信息,特别注意的是这里不仅要new学生对象,还要new成绩对象,因为这里的chinesecode,mathcode和fcode都是code类型的,并不是上题的int类型,写代码时也是在这里困很久,其余地方也没有什么可说的了。
第二次作业第七题:
某饭店提供4种菜,每种菜品的基础价格如下:
西红柿炒蛋 15
清炒土豆丝 12
麻婆豆腐 12
油淋生菜 9
设计点菜计价程序,根据输入的订单,计算并输出总价格。
订单由一条或多条点菜记录组成,每条记录一行,最后以"end"结束
每条点菜记录包含:菜名、份额两个信息。
份额可选项包括:1、2、3,分别代表小、中、大份)
不同份额菜价的计算方法:
小份菜的价格=菜品的基础价格。
中份菜的价格=菜品的基础价格1.5。
小份菜的价格=菜品的基础价格2。
如果计算出现小数,按四舍五入的规则进行处理。
参考以下类的模板进行设计:
菜品类:对应菜谱上一道菜的信息。
Dish {
String name;//菜品名称
int unit_price; //单价
int getPrice(int portion)//计算菜品价格的方法,输入参数是点菜的份额(输入数据只能是1/2/3,代表小/中/大份)
}
菜谱类:对应菜谱,包含饭店提供的所有菜的信息。
Menu {
Dish[] dishs ;//菜品数组,保存所有菜品信息
Dish searthDish(String dishName)//根据菜名在菜谱中查找菜品信息,返回Dish对象。
}
点菜记录类:保存订单上的一道菜品记录
Record {**
Dish d;//菜品
int portion;//份额(1/2/3代表小/中/大份)
int getPrice()//计价,计算本条记录的价格
}
订单类:保存用户点的所有菜的信息。
Order {**
Record[] records;//保存订单上每一道的记录
int getTotalPrice()//计算订单的总价
Record addARecord(String dishName,int portion)
//添加一条菜品信息到订单中。
}
每条点菜记录的格式:
菜名+空格(英文)+份额
注:份额可输入(1/2/3), 1代表小份,2代表中份,3代表大份。
最后一条记录以“end”结束。
订单上所有菜品的总价(整数数值),每份菜
如果订单中包含不能识别的菜名,则在总价之前输出“** does not exist”,**是不能识别的菜名
源码:
import java.util.Scanner;
public class Main {
public static void main(String[] args) {
Scanner cs = new Scanner(System.in);
String[]menu = new String[]{"西红柿炒蛋","清炒土豆丝","麻婆豆腐","油淋生菜"};
Dish dish = new Dish();
int portion = 0;
int price = 0;
for(; ;) {
int count = 0;
dish.name = cs.next();
if (dish.name.equals("end"))
break;
portion = cs.nextInt();
if (dish.name.equals(menu[0])) {
count = 1;
if (portion == 1) dish.unit_price = 15;
if (portion == 2) dish.unit_price = 23;
if (portion == 3) dish.unit_price = 30;
price+= dish.unit_price;
}
else if (dish.name.equals(menu[1])) {
count = 1;
if (portion == 1) dish.unit_price = 12;
if (portion == 2) dish.unit_price = 18;
if (portion == 3) dish.unit_price = 24;
price+= dish.unit_price;
}
else if (dish.name.equals(menu[2])) {
count = 1;
if (portion == 1) dish.unit_price = 12;
if (portion == 2) dish.unit_price = 18;
if (portion == 3) dish.unit_price = 24;
price+= dish.unit_price;
}
else if (dish.name.equals(menu[3])) {
count = 1;
if (portion == 1) dish.unit_price = 9;
if (portion == 2) dish.unit_price = 14;
if (portion == 3) dish.unit_price = 18;
price+= dish.unit_price;
}
if (count == 0)
System.out.println(dish.name +" "+ "does" + " " + "not" + " " + "exist");
}
System.out.println(price);
}
}
class Dish {
String name;//菜品名称
int unit_price; //单价
public Dish(String name, int unit_price) {
this.name = name;
this.unit_price = unit_price;
}
public Dish() {
}
public String getName() {
return name;
}
public void setName(String name) {
this.name = name;
}
public int getUnit_price() {
return unit_price;
}
public void setUnit_price(int unit_price) {
this.unit_price = unit_price;
}
}

时序图如上。
程序分析:题目中给定了类的定义,无形中给这道题增加了难度,个人能力问题,我所写程序虽然可以满分通过PTA但并未使用题目中的类定义,对于面对对象来说就是0分,基本没有用到面对对象思想。
第三次作业第二题:
某高校课程从性质上分为:必修课、选修课,从考核方式上分为:考试、考察。
考试的总成绩由平时成绩、期末成绩分别乘以权重值得出,比如平时成绩权重0.3,期末成绩权重0.7,总成绩=平时成绩0.3+期末成绩0.7。
考察的总成绩直接等于期末成绩
必修课的考核方式必须为考试,选修课可以选择考试、考察任一考核方式。
1、输入:
包括课程、课程成绩两类信息。
课程信息包括:课程名称、课程性质、考核方式(可选,如果性质是必修课,考核方式可以没有)三个数据项。
课程信息格式:课程名称+英文空格+课程性质+英文空格+考核方式
课程性质输入项:必修、选修
考核方式输入选项:考试、考察
课程成绩信息包括:学号、姓名、课程名称、平时成绩(可选)、期末成绩
课程信息格式:学号+英文空格+姓名+英文空格+课程名称+英文空格+平时成绩+英文空格+期末成绩
以上信息的相关约束:
1)平时成绩和期末成绩的权重默认为0.3、0.7
2)成绩是整数,不包含小数部分,成绩的取值范围是【0,100】
3)学号由8位数字组成
4)姓名不超过10个字符
5)课程名称不超过10个字符
6)不特别输入班级信息,班级号是学号的前6位。
2、输出:
输出包含三个部分,包括学生所有课程总成绩的平均分、单门课程成绩平均分、单门课程总成绩平均分、班级所有课程总成绩平均分。
为避免误差,平均分的计算方法为累加所有符合条件的单个成绩,最后除以总数。
1)学生课程总成绩平均分按学号由低到高排序输出
格式:学号+英文空格+姓名+英文空格+总成绩平均分
如果某个学生没有任何成绩信息,输出:学号+英文空格+姓名+英文空格+"did not take any exams"
2)单门课程成绩平均分分为三个分值:平时成绩平均分(可选)、期末考试平均分、总成绩平均分,按课程名称的字符顺序输出
格式:课程名称+英文空格+平时成绩平均分+英文空格+期末考试平均分+英文空格+总成绩平均分
如果某门课程没有任何成绩信息,输出:课程名称+英文空格+"has no grades yet"
3)班级所有课程总成绩平均分按班级由低到高排序输出
格式:班级号+英文空格+总成绩平均分
如果某个班级没有任何成绩信息,输出:班级名称+英文空格+ "has no grades yet"
异常情况:
1)如果解析某个成绩信息时,课程名称不在已输入的课程列表中,输出:学号+英文空格+姓名+英文空格+":"+课程名称+英文空格+"does not exist"
2)如果解析某个成绩信息时,输入的成绩数量和课程的考核方式不匹配,输出:学号+英文空格+姓名+英文空格+": access mode mismatch"
以上两种情况如果同时出现,按第一种情况输出结果。
3)如果解析某个课程信息时,输入的课程性质和课程的考核方式不匹配,输出:课程名称+" : course type & access mode mismatch"
4)格式错误以及其他信息异常如成绩超出范围等,均按格式错误处理,输出"wrong format"
5)若出现重复的课程/成绩信息,只保留第一个课程信息,忽略后面输入的。
信息约束:
1)成绩平均分只取整数部分,小数部分丢弃
参考类图:

源码:
import java.text.Collator;
import java.util.*;
public class Main {
public static void main(String[] args) {
Scanner s = new Scanner(System.in);
String cs = s.nextLine();
ParseInput handle=new ParseInput();
while (!cs.equals("end")) {
handle.parseInput(cs);
cs = s.nextLine();
}
handle.showStudents();
handle.showCourses();
handle.showClasses();
}
}
class ParseInput{
ArrayList<Student> listStudent=new ArrayList<>();
ArrayList<Course> listCourse=new ArrayList<>();
ArrayList<Class> listClass=new ArrayList<>();
ArrayList<ChooseCourse> listChooseCourse=new ArrayList<>();
public void parseInput(String str){
InputMatching mat=new InputMatching();
int a =mat.matchingInput(str);
switch (a){
case 0:System.out.println("wrong format");
break;
//课程信息
case 1:courseMessage(str);
break;
//成绩信息
case 2:gradeMessage(str);
break;
}
}
public void courseMessage(String str){
String arr[]=str.split(" ");
String courseName=arr[0];
String type=arr[1];
String testType=arr[2];
Course course=new Course(courseName,type,testType);
if(checkCourse(course)){
if(searchCourse(courseName)==null)
listCourse.add(course);
}
}
public boolean checkCourse(Course course){
int flag1,flag2;
switch(course.getType()){
case "必修":flag1=0;break;
case "选修":flag1=1;break;
default:flag1=-1;break;
}
switch(course.getTestType()){
case "考试":flag2=0;break;
case "考察":flag2=1;break;
default:flag2=-1;break;
}
if(flag1==0&&flag2==0)
return true;
if(flag1==1&&(flag2==0||flag2==1))
return true;
System.out.println(course.getCourseName()+" : course type & access mode mismatch");
return false;
}
public Class searchClass(String classId){
for(Class cls:listClass){
if(cls.getClassId().equals(classId))
return cls;
}
return null;
}
public Course searchCourse(String name){
for(Course course:listCourse){
if(course.getCourseName().equals(name))
return course;
}
return null;
}
public boolean searchStudent(String id){
for(Student stu:listStudent){
if(stu.getId().equals(id))
return true;
}
return false;
}
//查找是否有重复选课成绩
public boolean searchChooseCourse(String stuName,String courseName){
for(ChooseCourse cs:listChooseCourse){
if(cs.student.getStuName().equals(stuName)&&cs.course.getCourseName().equals(courseName))
return true;
}
return false;
}
public void gradeMessage(String str){
String dp[]=str.split(" ");
String stuId= dp[0];//学生学号
String classID= dp[0].substring(0,6);
String name=dp[1];//学生姓名
String courseName=dp[2];//课程名字
//如果该班级第一次出现
if(searchClass(classID)==null){
Class cla=new Class(classID);
listClass.add(cla);
}
Student stu=new Student(classID,stuId,name);
if(!searchStudent(stuId))
listStudent.add(stu);//将学生加入列表中
//课程是否存在
if(searchCourse(courseName)==null){
System.out.println(courseName+" "+"does not exist");
}
//当课程存在时
else if(searchCourse(courseName)!=null){
Course course=searchCourse(courseName);
//考察
if(dp.length==4&&course.testType.equals("考察")){
int finalGrade= Integer.parseInt(dp[3]);
AssessGrade assessGrade=new AssessGrade(finalGrade);
ChooseCourse chooseCourse=new ChooseCourse(course,stu,assessGrade);
if(!searchChooseCourse(name,courseName))
listChooseCourse.add(chooseCourse);
}
//考试
else if(dp.length==5&&course.testType.equals("考试")){
int usualGrade= Integer.parseInt(dp[3]);
int finalGrade= Integer.parseInt(dp[4]);
ExamGrade examGrade=new ExamGrade(usualGrade,finalGrade);
ChooseCourse chooseCourse=new ChooseCourse(course,stu,examGrade);
listChooseCourse.add(chooseCourse);
}
else{
//学号+英文空格+姓名+英文空格+": access mode mismatch"
System.out.println(stuId+" "+name+" "+": access mode mismatch");
}
}
}
public void showStudents(){
Collections.sort(listStudent);
for(int i=0;i<listStudent.size();i++){
Student stu=listStudent.get(i);
//从总选课表listChooseCourse中获取该生的选课记录
ArrayList<ChooseCourse> stuCourseSelects=getStudentSelects(stu.getId());
if(stuCourseSelects.size()!=0) {
System.out.println(stu.getId()+" "+stu.getStuName());
}
else if(stuCourseSelects.size()==0){
System.out.println(stu.getId()+" "+stu.getStuName()+" "+"did not take any exams");
}
}
}
public void showCourses(){
Collections.sort(listCourse);
for(int i=0;i<listCourse.size();i++){
Course course=listCourse.get(i);
ArrayList<ChooseCourse> stuCourseSelects=getCourseSelects(course.getCourseName());
if(stuCourseSelects.size()!=0){
if(course.testType.equals("考试"))
System.out.println(course.getCourseName()+" "+getAvgUsualScore(stuCourseSelects));
if(course.testType.equals("考察"))
System.out.println(course.getCourseName());
}
else if(stuCourseSelects.size()==0){
System.out.println(course.courseName+" "+"has no grades yet");
}
}
}
public void showClasses(){
Collections.sort(listClass);
for(int i=0;i<listClass.size();i++){
Class cls=listClass.get(i);
ArrayList<ChooseCourse> stuCourseSelects=getClassSelects(cls.getClassId());
if(stuCourseSelects.size()!=0){
System.out.println(cls.getClassId());
}
else if(stuCourseSelects.size()==0){
System.out.println(cls.getClassId()+" "+"has no grades yet");
}
}
}
public ArrayList<ChooseCourse> getStudentSelects(String id){
ArrayList<ChooseCourse> choose=new ArrayList<>();
for(ChooseCourse cos:listChooseCourse) {
if (cos.student.getId().equals(id))
choose.add(cos);
}
return choose;
}
public ArrayList<ChooseCourse> getCourseSelects(String courseName){
ArrayList<ChooseCourse> choose=new ArrayList<>();
for(ChooseCourse cos:listChooseCourse) {
if (cos.course.getCourseName().equals(courseName))
choose.add(cos);
}
return choose;
}
public ArrayList<ChooseCourse> getClassSelects(String clsId){
ArrayList<ChooseCourse> choose =new ArrayList<>();
for(ChooseCourse cos:listChooseCourse) {
if (cos.student.getClsId().equals(clsId))
choose.add(cos);
}
return choose;
}
public int getAvgUsualScore(ArrayList<ChooseCourse> cs){
int average=0;
int sum=0;
for(ChooseCourse c:cs){
if(c.course.getTestType().equals("考试")){
sum+=c.grade.getUsualGrade();
}
}
average=sum/cs.size();
return average;
}
}
class ChooseCourse{
Course course;
Student student;
Grade grade;
public ChooseCourse(Course course,Student student,Grade grade) {
this.course = course;
this.student=student;
this.grade=grade;
}
}
class Student implements Comparable<Student>{
String stuName;
String id;
String clsId;
public String getId(){
return id;
}
public String getStuName(){
return stuName;
}
public String getClsId(){
return clsId;
}
public Student(String clsId,String id,String stuName) {
this.clsId=clsId;
this.id=id;
this.stuName=stuName;
}
public int compareTo(Student stu){
return getId().compareTo(stu.getId());
}
}
class Course implements Comparable<Course>{
String courseName;
String type;
String testType;
public Course() {
}
public Course(String courseName,String type,String testType) {
this.courseName=courseName;
this.type=type;
this.testType=testType;
}
public String getCourseName(){
return courseName;
}
public String getType(){
return type;
}
public String getTestType(){
return testType;
}
@Override
public int compareTo(Course o) {
Comparator<Object> compare = Collator.getInstance(java.util.Locale.CHINA);
return compare.compare(courseName,o.getCourseName());
}
}
class Class implements Comparable<Class>{
String classId;
public Class() {
}
public String getClassId(){
return classId;
}
public Class(String classId) {
this.classId = classId;
}
@Override
public int compareTo(Class o) {
return getClassId().compareTo(o.getClassId());
}
}
abstract class Grade{
int finalGrade;
public Grade() {
}
public abstract int getUsualGrade();
public abstract int getTotalGrade();
}
class ExamGrade extends Grade{
int usualGrade;
public ExamGrade(int usualGrade,int finalGrade) {
this.usualGrade=usualGrade;
this.finalGrade=finalGrade;
}
public int getUsualGrade(){
return usualGrade;
}
public int getFinalGrade(){
return 0;
}
public int getTotalGrade(){
return (int)(usualGrade*0.3+finalGrade*0.7);
}
}
class AssessGrade extends Grade{
public AssessGrade(int finalGrade) {
this.finalGrade=finalGrade;
}
public int getFinalGrade(){
return finalGrade;
}
@Override
public int getUsualGrade() {
return 0;
}
public int getTotalGrade(){
return finalGrade;
}
}
class InputMatching {
static String stuNumMatching = "[0-9]{8}";
static String stuNameMatching = "\\S{1,10}";
static String scoreMatching = "([1-9]?[0-9]|100)";
static String courseNameMatching = "\\S{1,10}";
static String courseTypeMatching = "(选修|必修)";
static String checkCourseTypeMatching = "(考试|考察)";
//courseInput用于定义课程信息模式(正则表达式)
static String courseInput = courseNameMatching + " " + courseTypeMatching + " " + checkCourseTypeMatching;
//scoreInput用于定义成绩信息模式(正则表达式)
static String scoreInput1 = stuNumMatching + " " + stuNameMatching + " " + courseNameMatching + " " +
scoreMatching ;
static String scoreInput2= stuNumMatching + " " + stuNameMatching + " " + courseNameMatching + " " +
scoreMatching + " " +scoreMatching;
public InputMatching() {
}
public int matchingInput(String s) {
if (matchingCourse(s))
return 1;
if (matchingScore(s))
return 2;
return 0;
}
//课程信息
private static boolean matchingCourse(String s) {
return s.matches(courseInput);
}
//成绩信息
private static boolean matchingScore(String s) {
//System.out.println(match);
if(s.matches(scoreInput1)||s.matches(scoreInput2))
return true;
return false;
}
}

时序图如上。
代码分析:这道题非常有面对对象那味道了,参考了一些大佬的博客,才能勉强写出一些,首先建类,ParseInput类,InputMatching类,Course类,Class类,Student类,AssessGrade类,ChooseCourse类,ExamGrade类;再建一些有关的方法,注意代码之间的逻辑。个人能力原因,不能完善的分析代码。
三、踩坑心得:
说到踩坑,最多的莫过与第一次作业,由于第一次写java的pta,对基础语法不大了解及对答题规范的模糊,导致第一次作业大部分不能完美通过。
首先是数据类型的问题:
在第一次作业的第四题中:数据类型只能用float而不能用double类型;
若用double类型,则:

按理来说double类型并不是不可以,应该是测试点的原因。
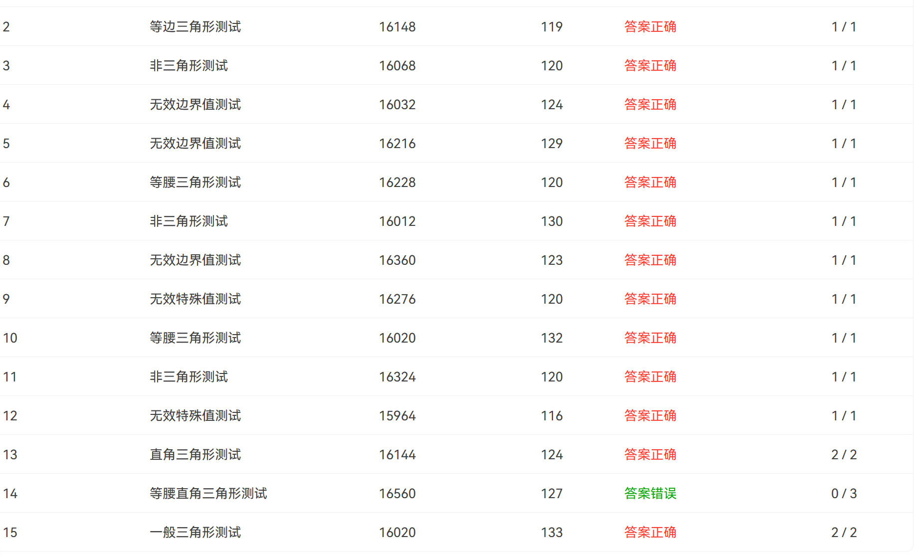
还有第一次作业第7题,三角形的判断
源码:
import java.util.Scanner;
public class Main{
public static void main(String[] args) {
Scanner cs = new Scanner(System.in);
double a = cs.nextDouble();
double b = cs.nextDouble();
double c = cs.nextDouble();
if (a <= 200 && a >= 1 && b <= 200 && b >= 1 && c <= 200 && c >= 1) {
if (a + b > c && a + c > b && b + c > a) {
if (a == b && b == c)
System.out.print("Equilateral triangle");
else {
if ((a == b) || (a == c) || (b == c)) {
if ((a * a + b * b - c * c <0.01) || (a * a + c * c - b * b <0.01) || (b * b + c * c - a * a <0.01))
System.out.print("Isosceles right-angled triangle");
else
System.out.print("Isosceles triangle");
} else {
if ((a * a + b * b - c * c <0.01) || (a * a + c * c - b * b <0.01) || (b * b + c * c - a * a <0.01))
System.out.print("Right-angled triangle");
else
System.out.print("General triangle");
}
}
}
else
System.out.print("Not a triangle");
}
else
System.out.print("Wrong Format");
}
}
在判断是否为直角三角形时,不能写a * a + b * b - c * c == 0而要写小于一个很小的数。不然:

四、主要困难及改进:
主要困难还是在于对面对对象的理解,对面对对象相关语法的的使用以及对代码逻辑的的理解。
比如第二次作业的第七题,对于题目给好了类,要求根据题目来写题,我还没有掌握此类题型,在今后的学习中我会在此类题型中下多点功夫。
五、总结:
在经过三次作业后,我基本掌握了java的基本语法,但在面对对象思想及实现上显得力不从心。对于java实验,希望老师能有相应的讲解。
浙公网安备 33010602011771号