猜牌数
自然语言解决问题:
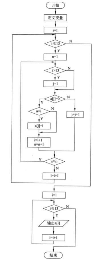
假设桌子上有 13 个空盒子排成一圈,设定其中一个盒子序号为 1,将黑桃 A 放入 1号盒子中,接着从下一个空盒子开始重新计数,当数到第 2 个空盒子时,将黑桃 2 放入其中。然后再从下一个空盒子开始重新计数,数到第 3 个空盒子时,将黑桃 放入其中,这样依次进行下去,直到将 13 张牌全部放入空盒子中为止。需要注意的是,在计数过程中要跳过那些已放入牌的盒子,而只对空盒子计数。最后牌在盒子中的顺序,就是魔术师手中牌的顺序。
根据问题分析,使用循环结构来实现程序。使用程序将分析过程模拟出来,就可以计算出魔术师手中牌的原始次序。由于有 13 张牌,因此显然要循环 13 次,每次循环时找到与牌序号对应的那个空盒子,因此循环体完成的功能就是找到对应的空盒子将牌存入
流程图:

具体代码:
#include<stdio.h>
int a[14];
main(){
int i,j=1,n;
printf("魔术师手中的牌原始次序是:\n");
for(i=1;i<=13;i++){
n=1;
do
{
if(j>13)j=1;
if(a[j])j++;
else
{
if(n==i)
a[j]=i;
j++;
n++;
}
}while(n<=i);
}
for(i=1;i<=13;i++)
printf("%d ",a[i]);
printf("\n");
}

浙公网安备 33010602011771号