求车速
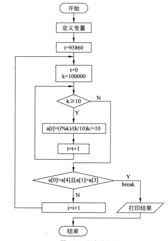
自然语言解决问题:根据题意,司机在上午 10点看到里程表上的读数是一个对称数95859,两小时后里程表上出现的新的对称数必然大于 95859。因此,假设所求对称数为 ,并设其初值为95860,即从95860开始检测,使i的取值依次递增。对于的每一次取值都将其进行分解,然后将对称位置上的数字进行比较,即第一位和第五位比较,第二位和第四位比较。如果每个处于对称位置上的数都是相等的,则可以判断出当前的i中所存放的五位数即为里程表上新出现的对称数
流程图:

具体代码:
#include<stdio.h>
int main(){
int t,a[5];
long int k,i;
for(i=95860;;i++){
for(t=0,k=100000;k>=10;t++){
a[t]=(i%k)/(k/10);
k/=10;
}
if((a[0]==a[4])&&(a[1]==a[3]))
{
printf("里程表上出现的新的对称数为:%d%d%d%d%d\n",a[0],a[1],a[2],a[3],a[4]);
printf("该车的速度为:%.2f\n",(i-95859)/2.0);
break;
}
}
}

浙公网安备 33010602011771号