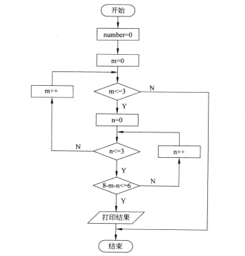
三色球问题
自然语言解决问题:12个彩球中有三个红球,三个白球,六个黑球,取其中八球并要得知有几种搭配方法。该题只需通过将每一种颜色循环并将三种颜色的个数和设为8就能够解决,但由于数量有限,要记得将各颜色数量设上限
流程图:

具体代码:
#include<stdio.h>
int main(){
int R,W;
for(R=1;R<=3;R++){
for(W=1;W<=3;W++){
if(8-R-W<=6)
printf("红球数量为%d, 白球数量为%d,黑球数量为%d\n",R,W,8-R-W);}}
return 0;
}

浙公网安备 33010602011771号