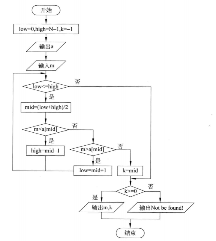
折半查找
自然语言解决问题:输入一个属于数组中的数a,将数组中最大的数与最小的数之和折半并于此数a比较,若大于折半数则将折半数设为最小数并于最大数之和折半并于a比较,如此继续循环,反之亦然。
流程图:

具体代码:
#include <stdio.h>
#define N 10
main(){
int i,a[N]={-3,4,7,9,13,45,67,89,100,180},low=0,high=N-1,mid,k=-1,m;
printf("a数组中的数据如下:\n");
for(i=0;i<N;i++)
printf("%d ",a[i]);
printf("\n");
printf("Enter m: ");
scanf("%d",&m);
while(low<=high)
{
mid=(low+high)/2;
if(m<a[mid])
high=mid-1;
else
if(m>a[mid])
low=mid+1;
else
{
k=mid;
break;
}
}
if(k>=0)
printf("m=%d,index=%d\n",m,k);
else
printf("Not be found!\n");
}

浙公网安备 33010602011771号