kubernetes管理虚拟机KubeVirt
前言
虚拟化分类:
-
Paravirtualization(半虚拟化): 不对硬件设备进行模拟,虚拟机拥有独立的运行环境,通过虚拟机管理程序共享底层的硬件资源。大部分操作系统需要进行修改才能运行在半虚拟化环境中。半虚拟化的性能要稍微高于全虚拟化,像Xen。
-
Partial Virtualization(部分虚拟化): 仅仅提供了对关键性计算组件或者指令集的模型,操作系统可能需要做某些修改才能够运行在部分虚拟化环境中。
-
Full Virtualization(全虚拟化): 几乎是完整的模拟一套真实的硬件设备,大部分操作系统无需进行任何修改即可直接运行在全虚拟化环境中,例如KVM技术。
KubeVirt使用到的虚拟化技术:
-
libvirtd: ibvirtd是一个守护进程,本质上是对不同的hypervisor(如qemu、Xen、LXC等)操作做了封装,并且对外提供了统一的api接口,可以把libvirt看做是一个统一抽象层。
-
qemu: QEMU是一套由法布里斯·贝拉(Fabrice Bellard)所编写的以GPL许可证分发源码的模拟处理器软件,在GNU/Linux平台上使用广泛。
-
kvm:全称是Kernel-Based Virtual Machine,对应的是2007年加进linux 2.26.20的内核的kvm.ko模块。kvm必须在具备Intel VT(对应kvm-intel.ko)或AMD-V(对应kvm-amd.ko)功能的x86平台上运行,是一种
全虚拟化的解决方案。kvm可以看作是qemu可执行文件的一个分支,两个团队都积极努力将差异降至最低,并且在减少差异方面取得了进展,最终目标是qemu可以在任何地方运行。当前qemu团队更专注于硬件仿真和可移植性,而kvm团队则专注于内核模块以及与其余用户空间代码的接口。qemu虚拟机是可以独立运行的,但是由于qemu完全是软件模拟硬件,在速度上比真正的硬件要差不少。为了解决速度问题,qemu允许使用kvm作为加速器,以便可以使用物理CPU虚拟化扩展。
当qemu独立运行时,qemu模拟cpu、内存和硬件资源;当kvm和qemu协同工作时,kvm负责cpu和内存的访问,而qemu则模拟其它硬件资源。
补充概念:
-
Type-1 hypervisor
Type-1是直接在主机硬件上运行的本机或裸机虚拟机监控程序
-
Type-2 hypervisor:
Type-2是一个托管的系统管理程序,这意味着它和其他计算机程序一样在传统的操作系统上运行
基于上述概念,也可以这么理解qemu和kvm:qemu是在用户空间中运行并执行虚拟硬件仿真的Type-2 hypervisor,而kvm是在内核空间中运行的Type-1 hypevisor。
一、KubeVirt是什么?
kubevirt是一个容器方式运行虚拟机的项目,用于实现在k8s集群中像对Pod进行编排部署一样管理虚拟机。类似的产品:OpenShift CNV
1.1 在k8s中使用虚拟机的理由
一是对不便于容器化的应用,必须运行在虚拟机中;二是应用运行环境可能需要与K8S平台运行不同的内核或OS。
1.2 虚拟机与Pod在K8S集群中的关系
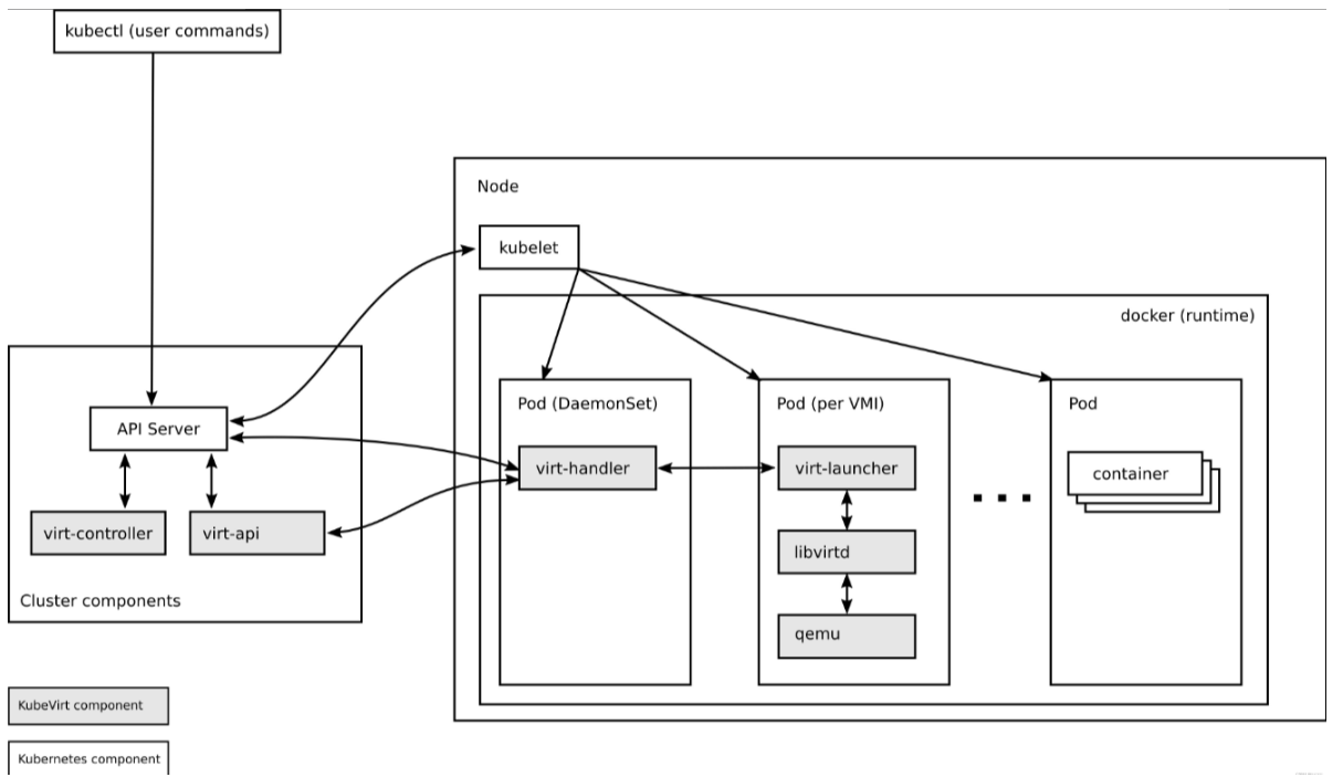
1.3 kubevirt架构
kubevirt运行在kubernetes之上,且 调度(scheduling)也是由kubernetes负责,底层则是在物理资源的基础上,利用虚拟化技术运行不同的操作系统(operating System)。
二、KubeVirt部署
2.1 本地虚拟化支持
2.2 部署KubeVirt
# kubectl apply -f https://github.com/kubevirt/kubevirt/releases/download/v0.59.0/kubevirt-operator.yaml
# kubectl get ns
NAME STATUS AGE
......
kubevirt Active 10s
# kubectl get pods -n kubevirt
NAME READY STATUS RESTARTS AGE
...
virt-operator-6d56bb6986-jl66g 1/1 Running 1 (39m ago) 8s
virt-operator-6d56bb6986-vnnkn 1/1 Running 1 (39m ago) 8s
# kubectl apply -f https://github.com/kubevirt/kubevirt/releases/download/v0.59.0/kubevirt-cr.yaml
# kubectl get pods -n kubevirt
NAME READY STATUS RESTARTS AGE
virt-api-5888cc84c7-2zstl 1/1 Running 1 (39m ago) 62m
virt-api-5888cc84c7-tscw9 1/1 Running 1 (39m ago) 62m
virt-controller-546465698c-dh644 1/1 Running 1 (39m ago) 61m
virt-controller-546465698c-ptrqm 1/1 Running 1 (39m ago) 61m
virt-handler-jmqwg 1/1 Running 1 (39m ago) 61m
virt-handler-q22tx 1/1 Running 1 (39m ago) 61m
virt-operator-6d56bb6986-jl66g 1/1 Running 1 (39m ago) 64m
virt-operator-6d56bb6986-vnnkn 1/1 Running 1 (39m ago) 64m
kubevirt组件说明
virt-controller:
基于informer的list-watch机制,监听VM、VMI等资源的事件,转换成VMI对应的pod,从而达到管理虚拟机的生命周期的功能。
virt-api:
virt-api以deployment的形式运行,逻辑上主要包含以下功能:
1、提供VM、VMI等CRD资源mutating+validating webhook接口;
2、通过kubernetes的aggregator特性,对外暴露虚拟机操作的相关接口,包括restart、migrate、start、stop、freeze/unfreeze、softReboot、pause/unpause、console、vnc等操作。
virt-handler:
virt-handler以deamonSet的形式运行在每个节点上(配置hostNetwork+hostPID),逻辑上包含以下功能:
1、提供rest接口供virt-api调用,接口功能包括console、vnc、pause/unpause、freeze/unfreeze等功能,这些接口最终操作本节点上对应的VMI对应的虚拟机。virt-api通过VMI的status.nodeName+约定好的端口找到VMI对应节点上的virt-handler https服务,这也是为什么virt-handler要配置hostNetwork网络;
2、通过list-watch机制确保相应的libvirt domain的启动或停止,但是这个过程并不是virt-handler与对应的libvirtd直接交互,而是virt-handler通过unix sock文件访问virt-launcher,virt-launcher再与libvirtd交互。virt-handler与virt-launcher交互的sock文件为/var/run/kubevirt/sockets/{vmi_uid}_sock。
virt-launcher:
每一个VMI对应的pod中都运行着一个virt-launcher进程,该进程逻辑上提供如下功能:
1、以unix sock形式启动一个grpc server,该server负责提供接口供virt-hanlder调用;
2、管理VMI对应的pod内的libvirtd、qemu进程的生命周期,例如qemu进程异常后会自动重启。
查看kubevirt是否满足VM运行条件,如下是满足运行条件的
# kubectl wait kv kubevirt --for condition=Available -n kubevirt
输出:
kubevirt.kubevirt.io/kubevirt condition met
2.3 安装virtctl客户端工具
用于对虚拟机管理使用。
# wget https://github.com/kubevirt/kubevirt/releases/download/v0.59.0/virtctl-v0.59.0-linux-amd64
# chmod +x virtctl-v0.59.0-linux-amd64
# mv virtctl-v0.59.0-linux-amd64 /usr/local/bin/virtctl
# virtctl version
三、创建VirtualMachine
vm(VirtualMachine),是在vmi基础之上更完善的逻辑控制,可以认为是控制器;vmi(VirtualMachineInstance),是虚拟机实例。vm与vmi之间的关系类似于deployment与pod之间的关系。
3.1 准备VM部署描述文件
# vim test.yaml
# cat test.yaml
apiVersion: kubevirt.io/v1alpha3
kind: VirtualMachine
metadata:
labels:
kubevirt.io/vm: vm-cirros
name: vm-cirros
spec:
running: false
template:
metadata:
labels:
kubevirt.io/vm: vm-cirros
spec:
domain:
devices:
disks:
- disk:
bus: virtio
name: containerdisk
- disk:
bus: virtio
name: cloudinitdisk
machine:
type: ""
resources:
requests:
memory: 64M
terminationGracePeriodSeconds: 0
volumes:
- name: containerdisk
containerDisk:
image: kubevirt/cirros-container-disk-demo:latest
- cloudInitNoCloud:
userDataBase64: IyEvYmluL3NoCgplY2hvICdwcmludGVkIGZyb20gY2xvdWQtaW5pdCB1c2VyZGF0YScK
name: cloudinitdisk
KubeVirt 的 VirtualMachine 可以使用以下几种常用的存储卷类型:
1、ephemeral - 其对应的卷 (PVC) 的数据不会以发生变化,因为所有的写入都保存在位于本地存储的临时镜像中。当 VM 停止、重启或删除时,便会丢弃临时镜像。
2、containerDisk - 从 registry 中拉取镜像到运行 VM 的主机节点上,并在 VM 启动时作为磁盘附加到 VM。containerDisk 提供了在容器镜像注册表中存储和分发 VM 磁盘的能力。不过 containerDisk 是临时的,数据将在 VM 停止、重启或删除时丢弃。
3、dataVolume - 可动态创建 PVC 并将外部磁盘、镜像、容器数据导入到这些 PVC 中。为了使用 dataVolume 卷,必须借助 OpenShift Virtualization Operator 安装的 Containerized Data Importer (CDI) 功能。如果不使用 dataVolume 卷,那么可以使用 persistentVolumeClaim 卷,即将一个可用的 PVC 分配给 VM。
4、persistentVolumeClaim - 将可用的 PVC 附加到 VM。将现有 VM 导入到 OpenShift 中的方法是使用 CDI 将现有 VM 的磁盘或容器镜像中的磁盘导入到 PVC 中,然后将 PVC 附加到 VM 实例。
5、emptyDisk - 为 VM 创建额外的 qcow2 磁盘。当 VM 重启,数据会保留下来,但当重新创建 VM,数据将会被丢弃。
6、cloudInitNoCloud - 将所引用的 cloudInitNoCloud 数据源附加给磁盘,以便在 VM 启动后自动执行脚本。VM 内部需要安装 cloud-init。
3.2 执行VM部署描述文件
# kubectl apply -f test.yaml
# kubectl get vm
NAME AGE STATUS READY
vm-cirros 61m Stopped False
3.3 启动VirtualMachineInstance
VirtualMachineInstance(VMI),一个VMI对象对应一台虚拟机,实际上这台虚拟机是在一个特殊的kubernetes pod中,该pod里有virt-launcher、libvirtd和qemu进程,因此也就是可以看作kubevirt把虚拟机运行在了pod中。
# virtctl start vm-cirros
VM vm-cirros was scheduled to start
[root@node2 ~]# kubectl get vm
NAME AGE STATUS READY
vm-cirros 63m Starting False
[root@node2 ~]# kubectl get vmi
NAME AGE PHASE IP NODENAME READY
vm-cirros 8s Running 10.233.74.81 node4 True
四、访问虚拟机控制台
# virtctl console vm-cirros
Successfully connected to vm-cirros console. The escape sequence is ^] 显示这个信息时,需要按回车键,才能出现登录提示。
login as 'cirros' user. default password: 'gocubsgo'. use 'sudo' for root.
vm-cirros login: cirros 用户名
Password: gocubsgo 密码
$ ip a s
1: lo: <LOOPBACK,UP,LOWER_UP> mtu 65536 qdisc noqueue qlen 1
link/loopback 00:00:00:00:00:00 brd 00:00:00:00:00:00
inet 127.0.0.1/8 scope host lo
valid_lft forever preferred_lft forever
inet6 ::1/128 scope host
valid_lft forever preferred_lft forever
2: eth0: <BROADCAST,MULTICAST,UP,LOWER_UP> mtu 1450 qdisc pfifo_fast qlen 1000
link/ether d6:b9:cf:6a:9b:0c brd ff:ff:ff:ff:ff:ff
inet 10.233.74.81/32 brd 10.255.255.255 scope global eth0
valid_lft forever preferred_lft forever
inet6 fe80::d4b9:cfff:fe6a:9b0c/64 scope link
valid_lft forever preferred_lft forever
退出控制台使用ctrl+]组合键。
五、为虚拟机创建service并访问
# virtctl expose virtualmachine vm-cirros --name vmiservice-node --target-port 22 --port 24 --type NodePort
# kubectl get svc
NAME TYPE CLUSTER-IP EXTERNAL-IP PORT(S) AGE
kubernetes ClusterIP 10.233.0.1 <none> 443/TCP 15h
vmiservice-node NodePort 10.233.48.20 <none> 24:30747/TCP 43m














浙公网安备 33010602011771号