软件工程第二次作业
软件工程第二次个人作业
| 博客信息 | 沈阳航空航天大学计算机学院2020软件工程作业 |
|---|---|
| 作业要求 | https://edu.cnblogs.com/campus/sau/Computer1701-1705/homework/10583 |
| 课程目标 | 熟悉一个“高质量”软件的开发过程 |
| 作业目标 | 单元测试练习 |
一、题目要求
问题: 给定n个整数(可能为负数)组成的序列a[1],a[2],a[3],…,a[n],求该序列如a[i]+a[i+1]+…+a[j]的子段和的最大值。当所给的整数均为负数时定义子段和为0,依此定义,所求的最优值为: Max{0,a[i]+a[i+1]+…+a[j]},1<=i<=j<=n
例如,当(a[1],a[2],a[3],a[4],a[5],a[6])=(-2,11,-4,13,-5,-2)时,最大子段和为20。
-- 引用自《百度百科》
二、代码与程序运行结果
代码部分
代码:https://github.com/Li-shi-wei/Li/blob/master/2.cpp
运行结果部分

三、单元测试
测试工具:VS2013
测试方法:
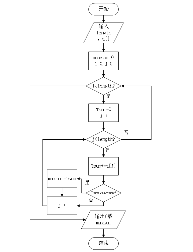
程序流程图如下所示:

本次测试共设三组测试数据用于测试,分别如下:
一:{-1,-5,-7,-12,-16,-20},结果应为 0
二:{0,-3,-6,-11,-13,-8},结果应为 0
三:{-2,11,-4,,13,-5,-2},结果应为 20
通过以上三组测试数据即可满足判定条件覆盖。
测试结果:

四、工作记录
| 项目 | 记录结果 |
|---|---|
| 日期 | 2020/4/5 |
| 开始时间 | 5:20 |
| 结束时间 | 8:50 |
| 编码行数 | 35 |
| 错误数量 | 1 |
| 错误1 | cppunittest.h加载错误 |
| 错误1修改时间 | 6:50 |
五、个人总结及心得体会
本次作业完成过程中,出现了“cppunittest.h"头文件无法加载的问题,在CSDN论坛上搜索后,看了一下在测试代码编写过程中是否设置了预编译头文件,发现问题果然出在这里,更改之后,测试顺利完成了。
写本文也是不是很容易,比如如何插入图片,设置图表居中等都是要解决的问题,一番查找之后,虽然并不是很好,但也算是完成了本文。

浙公网安备 33010602011771号