原文:https://blog.csdn.net/xulong_08/article/details/81463054
Linux是目前应用最广泛的服务器操作系统,基于Unix,开源免费,由于系统的稳定性和安全性,市场占有率很高,几乎成为程序代码运行的最佳系统环境。linux不仅可以长时间的运行我们编写的程序代码,还可以安装在各种计算机硬件设备中,如手机、路由器等,Android程序最底层就是运行在linux系统上的。
一、linux的目录结构

/ 下级目录结构
-
bin (binaries)存放二进制可执行文件
-
sbin (super user binaries)存放二进制可执行文件,只有root才能访问
-
etc (etcetera)存放系统配置文件
-
usr (unix shared resources)用于存放共享的系统资源
-
home 存放用户文件的根目录
-
root 超级用户目录
-
dev (devices)用于存放设备文件
-
lib (library)存放跟文件系统中的程序运行所需要的共享库及内核模块
-
mnt (mount)系统管理员安装临时文件系统的安装点
-
boot 存放用于系统引导时使用的各种文件
-
tmp (temporary)用于存放各种临时文件
-
var (variable)用于存放运行时需要改变数据的文件
二、linux常用命令
命令格式:命令 -选项 参数 (选项和参数可以为空)
如:ls -la /usr

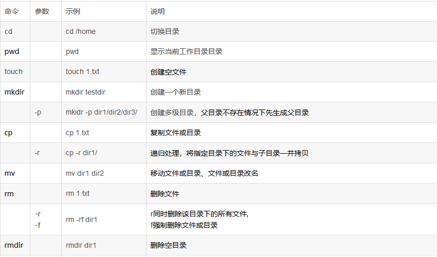
2.1 操作文件及目录



2.2 系统常用命令



2.3 压缩解压缩

2.4 文件权限操作
-
linux文件权限的描述格式解读

-
r 可读权限,w可写权限,x可执行权限(也可以用二进制表示 111 110 100 --> 764)
-
第1位:文件类型(d 目录,- 普通文件,l 链接文件)
-
第2-4位:所属用户权限,用u(user)表示
-
第5-7位:所属组权限,用g(group)表示
-
第8-10位:其他用户权限,用o(other)表示
-
第2-10位:表示所有的权限,用a(all)表示

三、linux系统常用快捷键及符号命令

四、vim编辑器
vi / vim是Linux上最常用的文本编辑器而且功能非常强大。只有命令,没有菜单,下图表示vi命令的各种模式的切换图。

4.1 修改文本

4.2 定位命令

4.3 替换和取消命令

4.4 删除命令

4.5 常用快捷键

浙公网安备 33010602011771号