Java面向对象编程特点与用法
1.什么是面向对象(Object-Oriented Programming,OOP)
面向过程:按步骤去实现功能,适用于一些简单的问题。
面向对象:首先思考问题如何分类,然后对问题的子类再细分,最后对分类下的细节进行面向过程的思考。适合处理复杂以及需要多方协作的问题。
对于复杂的事物,为了从宏观上把握、从整体上合理分析,我们需要使用面向对象的思路来分析整个系统;然后对于微观操作,我们则需要采用面向过程的思路去处理解决。
面向对象编程的本质就是:以类的方式组织代码,以对象的方式组织(封装)数据。
抽象:对问题进行分析抽离出需要研究解决的特质。
三大特性的简单理解(后续会有更具体的学习):
1)封装:将代码要用的数据封装起来,一同使用;
2)继承:子类父类的继承关系,子类会顺承父类的一系列特性;
3)多态:对于一个方法,不同对象可能会有不同的形态。
一般认识的角度来说,先有对象而后有类,对象是具体的事物,类是对对象的抽象。而从代码运行的角度来说,先有类才有对象,类是对象的模板(对象是以类为模板new出来的)。
方法的调用:
1)静态方法(static):直接调用。
2)非静态方法:需要先将类实例化,再调用(new Student().method() 或者Student a = new Student(); a.method())
要注意的是,static方法是随类产生同时生成的,而非静态方法需要先声明才可调用。所以在方法之间的调用时,要注意先后顺序,若在静态方法内调用非静态方法,可能会因为非静态方法还未实例化导致调用失败。

2.类和对象的创建
类是一种抽象的数据结构,是对某一类事物整体描述/定义,但是并不能代表一个具体的事物,只属于这类事物的共有模板,比如,人都可以通过年龄、身高和体重等数据来描述。
对象是类的具体实例,比如张三,以上面的类为模板,年龄是18,身高是170cm,体重是55kg等,能体现出这个人的具体属性或特点。
创建和初始化对象:我们使用new关键字来创建对象。使用new关键字创建的时候,JVM除了分配内存空间之外,还会给创建好的对象进行默认的初始化以及对类中构造器的调用。
结果:
this.name:this指当前类,this.name即为当前类下的name属性。
3.构造器详解
项目中新建一个类,直接查看项目的class文件,可以看到项目中默认生成了一个无形参无返回值的方法,名字与类名相同,这个方法即为一个构造器,也称构造方法。

构造方法:当对某一个类创建对象时,必须调用对应的构造方法用来实例化对象(赋初始值),这个构造方法即为构造器,它必须和类的名字相同,并且没有返回类型,无void关键字。
结果:
除了程序自动生成的默认无参构造器,我们也可手动写一些无参或有参的构造器,比如调整属性的初始值等。下面是两个例子:
无参构造:
结果:
有参构造:
结果:
(要注意的是,当已经定义了有参构造后,如果在main方法中还需使用无参构造,则必须自己显式定义一个无参构造,否则会报错)
构造器:
1)和类名相同;
2)没有返回值。
作用:
1)使用new实例化一个对象时,实际上是在调用构造方法(构造器);
2)构造器主要是用于初始化对象的值。
——alt+ins 可默认生成一个有参构造器(select none选项为无参)
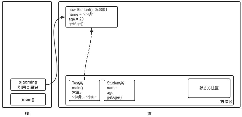
4.创建对象内存分析
初始化类时,在堆中的方法区加载Test类及相关主方法和常量,栈中压入main方法。同时加载静态方法区的所有方法(static):
实例化第一个Student类xiaoming,在方法区加载Student类对应的属性和方法,将引用变量名压入栈中,在堆中申请对应的内存空间0x0001,属性均为初始化默认值:

提取Test类中的常量为实例的属性赋值:

同理实例化第二个Student类,将引用变量名压入栈中,在堆中申请对应的内存空间0x0002,并为属性赋值:

5.类和对象小结
1)类和对象:
类是一个抽象模板,对象是一个具体的实例;
2)类的构成:
a.静态的属性:属性
b.动态的功能:方法
3)对应的引用:
基础数据类型(8种)和引用类型(除8种基本数据类型均为引用类型),对象是通过引用类型来进行操作的,即前面内存分析中从栈到堆的引用关系。
4)属性:类中的字段(field),也称成员变量
a. 默认初始化:
数字:0或者0.0
char类型:/u0000
boolean类型:false
引用类型:null
b. 命名语法:修饰符 属性类型 属性名 = 属性值
5)对象的创建和使用:
——必须使用new关键字创建对象,创建对象后会生成默认的构造方法(构造器),对象中还包含对应的属性和方法
6.封装
程序设计追求“高内聚,低耦合”,“高内聚”指类内部的数据操作细节自己完成,不允许外部干涉;“低耦合”指仅提供少量的方法供外部使用。数据封装就是相似的概念,一般的类会禁止直接访问内部数据的实际表示,而是提供对应的接口供外部访问,这也被称为信息隐藏。
封装一般是对应类中的属性,通过private关键字将属性变成私有的,此时其他类不能通过“类.属性名”调用(报错如下),需要用到类提供的方法去调用或设置,比如getAge()、setAge()等。

结果:
对于类中的private属性,我们可以通过alt+ins的快捷键去快速设置对应的get/set方法。
封装的意义:
1)提高程序的安全性,保护数据;
2)隐藏代码的具体实现细节;
3)统一接口;
4)提高系统的可维护性。
7.继承
继承是类和类之间的关系,本质上是对一批类的抽象。除了继承之外,类与类之间的关系还有依赖、组合、聚合等。
继承关系的两个类,一个为子类(派生类),一个为父类(基类)。子类继承父类,用关键字extends来表示。
一般继承的是公有属性和方法(一般只有属性会被设置为私有),若需要用到父类的私有属性,也可以通过封装中的get/set方法去调取:如


结果:
修饰符的优先级顺序
1)public
2)protected
3)default(一般未标明修饰符即为default属性)
4)private(不可被继承)
另外有final修饰符的类也不可被继承。
通过ctrl+h可以查看当前类的继承树:


可以看到,所有类中都继承了一个Object父类,包括新增的全空的NewPerson类,我们实例化这个NewPerson类,然后可以发现其中仍然有很多方法可以使用。

由此我们可以得知,在Java中,所有的类都默认直接或者间接继承Object类。
另外要注意的是,Java中只有单继承,没有多继承。即一个子类只能有一个父类,但一个父类可能有多个子类。
8.Super详解
相对于this修饰符,super有如下特点,主要用于指代父类的非private属性或一些方法:
1)代表的对象不同
this代表当前类对象的引用;
super代表父类对象的引用;
2)使用条件不同
this没有继承也可以使用;
super必须在继承了父类的子类中使用;
3)代表的构造方法不同
this(); 代表本类的构造方法;
super(); 代表父类的构造方法。
属性的实例:

结果:

方法的实例:

结果:

构造的实例:

结果:
在子类构造方法上直接加入父类的构造方法super();,可以看到结果一致。
结果:
注意点:
1)super()调用父类的构造方法,必须位于构造方法中的第一位(最高优先级构造);

2)super只能出现于子类的方法或构造方法中;
3)super和this不能同时调用构造方法;
结果:
如果同时存在super()和this(),则会报错(因为二者都要求存在于构造方法中的第一行):

4)私有的属性无法被继承;

5)子类会默认调用父类无参构造,所有要求父类必须有无参构造方法。所以我们在给类编写有参构造方法时要注意补充无参构造,养成良好编程习惯。
报错:

备注:多级继承时,super指向的是当前类的上一级父类,若在上一级父类中未找到对应的属性或方法则继续向上搜寻。
9.方法重写
重写是方法的重写,与属性无关,主要用于体现JAVA的多态性,当我们现在已有的方法已经被系统中的多处引用到了,突然我们的需求发生了很大的改变时(子类不一定需要父类的所有功能,或满足父类的所有条件),我们只需要子类重写这个方法,然后用子类去实现就行了,不用对系统去进行过多的改变。
1)静态方法和非静态方法在方法重写中要注意区别:
父类和子类的方法都为static静态方法,方法在类加载时就已经确定,调用结果只和引用的数据类型有关,方法只取决于等式左边引用的数据类型。

结果:

父类和子类的方法均非静态方法时,在声明实例时才加载方法,若父类的引用指向子类,此时子类会重写父类的方法,父类的原方法会通过子类的重写方法进行操作。

结果:

2)通过alt+ins快捷键快速重写方法:

初始会默认调用父类方法:
(平常可以通过左边这个图标确认当前方法是否属于重写方法)
我们再根据需要去重写:

方法重写的条件:
1)需要存在继承关系,子类重写父类的方法;
2)方法名和参数列表必须相同
3)必须为非静态方法;
4)方法的修饰词范围可以扩大,不能缩小。原本为default,可以重写成public或protected,但不能重写成private(public>protected>default>private);
5)抛出的异常范围可以被缩写,但不能扩大(这里写了解,后面会详细学习)。
简单来说,子类和父类的方法必须一致,但方法体不同。
10.多态
同一方法可以根据发送对象的不同而采用多种不同的行为方式,这叫做多态。这体现了一种动态编译的思想,以提高程序的可拓展性。在多态中,一个对象的实际类型(new Student())是确定的,但是可以指向对象的引用的类型有很多。

针对于引用类型及类方法的不同,有几点需要注意:
1)多态是方法的多态,属性没有多态;
2)类对象可以指向另一个类类型,但二者必须有所联系,如子类和父类有继承关系,父类对象才可指向子类,若没有联系会报异常:ClassCastException!;

3)若两个类型之间存在同名方法,则子类可以通过重写方法来让父类对象调用;
——不能重写的方法:
1)static方法,属于类,不属于实例;
2)final类型属于常量类型,不能重写;
3)private类型方法是私有的,不能重写。
4)父类引用如果需要调用子类方法,可以尝试将父类对象强制转换成子类后再调用:((student) B). method()
细节如下图所示:
Main方法:

11.instanceof和类型转换
instanceof一般用于判断一个对象是属于什么类型,返回Boolean值。
现有继承关系如下:

下面我们分别将不同等级的父类引用对象指向Student()子类,然后用instanceof判断这些对象的类型:

注释掉编译报错语句后执行,结果为:

结论:
1)对象指向的实际类型(new Student())和要对比的类型若存在继承关系,则比较结果为真,否则为假;
2)比较的对象引用类型(如Object obj)和要对比的类型必须存在继承关系,才可以使用instanceof比较,否则会报编译错误。
类型转换


注释掉编译报错语句,执行结果如下:

1)子类转换为父类不用强制转换(向上转型),这里会损失子类的方法;
2)父类转换为子类要强制转换(向下转型),会继承父类方法,但若子类重写了父类方法,这一类方法会被丢失。
类型转换的作用:方便方法的调用,减少重复的代码,保证程序简洁。
12.static关键字详解
static静态关键字可以用于类中的变量和方法。标有static关键字的变量和方法会在类加载的时候同时加载,便于程序的调用。
1)静态变量
静态变量通过类名访问,非静态变量通过声明类实例后调用。

注释掉编译错误语句后,重新执行,结果:

2)静态方法
和静态变量一致,随类同时加载,可以直接通过类名调用。

注释掉编译错误语句后,重新执行,结果:

3)静态代码块、匿名代码和构造方法的优先级:

结果:

由结果可知:
1)静态代码块随类加载同时执行,每次类加载只执行一次,与实例化对象无关;
2)匿名代码块在每次实例化对象时都会第一个执行,一般用于配置默认值等操作;
3)构造方法在匿名方法块执行之后执行。
4)静态导入包
当我们需要常用一些java工具类时,可以直接通过静态导入包来简化代码量。
例如Math.random();这个生成随机数的方法,可以改为下面的方式:
结果:
13.抽象类
通过abstract关键字来编写抽象类,主要是为了起到约束的思想,抽象类的抽象方法没有具体的方法体,只能通过子类继承后重写调用,这样可以以更灵活的方式编写方法,减少重复代码量,提高开发效率。


结果:

由此我们可以总结出抽象类的几个特点:
1)抽象类本身不能通过new关键字声明实例,只能通过子类实现(约束思想);
2)抽象类的abstract方法,继承了它的子类要么仍是抽象类,要么就必须重写对应的abstract方法去实现;
3)抽象方法必须在抽象类中,通过子类重写去调用;
4)抽象类可以有普通方法,通过继承的子类实例对象调用;
5)抽象类的静态方法可以通过类名直接调用;
6)抽象类中也存在默认构造方法,在非抽象子类声明实例时调用。
14.接口的定义与实现
和抽象类类似,接口主要针对的也是面向对象中约束的编程思想,接口相对而言实现的是更专业的约束。在企业中,很多工作都是面向接口编程,接口将约束和实现方法分离,以抽象的思想提供一个基本的方法框架,其他人再在各自的实现类中根据需求重写接口的方法。
接口声明关键字为interface,接口需要通过实现类来实现,实现类通过implements关键字实现对应接口,一个实现类可实现多个接口,以此来达到多继承的功能。实现类需要将接口中的所有方法重写,然后才能供对象调用。
接口中所有定义的方法都是抽象的 public abstract。如果在接口中定义属性,那么这些属性都是常量,默认带public static final属性,但一般接口中不会定义属性(不建议)
一般也可根据图标确认当前代码是类、抽象类或者是接口:
类:
抽象类:
接口:
另外,接口中也不含构造方法:

代码实例:
接口:

实现类:

主方法:

结果:

15.N种内部类(拓展)
下面一些比较特殊的代码,主要用于拓展,不推荐这些写法。
成员内部类:
实现方法:通过外部类来实例化内部类。内部类可以直接获得外部类的私有属性和私有方法。

结果:
静态内部类:无法直接获取外部类的私有属性和方法

匿名内部类
类:

结果:
接口:可以直接new对应的接口,但需要重写接口中的所有方法,这里声明的接口也是没有名字的,也为匿名内部类、


局部内部类

一个java类中可以存在多个class类,但只能有一个public类

浙公网安备 33010602011771号