【工作这点小事_笔录】邮箱使用必会的功能_创建邮件组
前言
最近新项目启动,立项确认项目组织人员;从开始各种会议沟通、例会、评审等都需要同步给组员的;每次都是一次手动输入20个邮箱地址;手类。为了更方便进行项目进展、消息同步,也为了防范遗漏人员;必须要创建一个邮件组方便大家沟通。
接下来我要这里写邮箱使用必会功能;是现代办公人都要关注的哦!
参考资料:阿里云邮箱帮助 ,https://help.aliyun.com/knowledge_detail/36721.html
一、创建邮件组
1.1 企业邮箱普通用户(这里以-foxmail为例,outlook用法差不多)
第一步:

1.2 企业邮箱有管理员权限用户(阿里邮箱)
权限可以找公司负责企业邮箱的同事申请给予创建邮件组的权限。申请通过后,根据企业邮箱负责人提供的邮箱管理url; 进行企业邮箱管理页登录账号。
详细步骤:
进入邮件组成员管理界面
可分别通过从通讯录添加、手动添加和导入成员,3个方法进行添加。
1) 选择从通讯录添加。单击 从通讯录添加 ,在 员工账号列表 中选择部门后面的
号,添加部门邮件组(此部门已创建动态邮件组),选择部门后面的
号,添加部门中的所有账号,单击 确认 。
2) 添加单个组成员。单击 手动添加 ,输入邮箱账号的关键字,选择匹配出的邮箱账号名称,单击此账号
再单击 确认 按钮。
3) 导入成员。
根据要求编辑好导入文件后,单击 导入成员 按钮,选择上传导入文件,单击 打开
再单击 确认 即可。
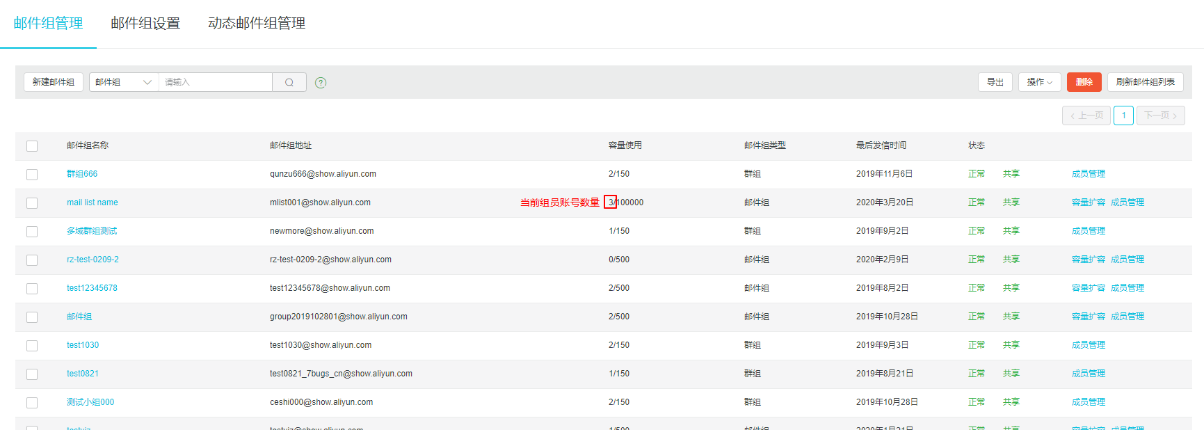
3. 邮件组列表界面中,组名称一栏的数字如3/10000,3即是当前的组成员账号数量。









浙公网安备 33010602011771号