2025獬豸杯Joyooo
Joyooo獬豸杯wp
服务器取证
1.该集群主节点操作系统版本是?[标准格式:100.100.100]
7.9.2009

火眼扫出来系统信息里发现是 7.9.2009 (Core)
2.该集群创建时间是?[标准格式:0000-00-00T00:00:00Z]
2024-06-24T11:28:12Z
输入命令:kubectl get namespace default -o yaml 得到答案

正常来说输入kubectl cluster-info查看集群创建时间,但是这道题没出来,学到集群创建时间和命名空间(系统默认的)创建时间很接近,直接查看命名空间创建时间
(此命令会以 YAML 格式(一种人类可读的数据序列化格式)输出 default 命名空间的详细信息,可以在输出中找到 creationTimestamp 字段来获取创建时间)


3. 该集群共有多少个命名空间?[标准格式:100]
7

官方wp里kubectl get namespace --no-headers | wc -l固然可以出来
感觉不如直接ns一个一个数

4 该集群所有命名空间内总共有多少个pod?[标准格式:100]
19

这个多一点,用掐头去尾计数法就方便了,如上
5 请给出该集群所使用的cni网络插件及其版本?[标准格式:abc-V1.1.1]
flannel-V1.0.0
大部分 CNI 插件的配置文件位于/etc/cni/net.d/目录下,通过查看这些文件能确定插件类型和版本信息。(这道题属于少数情况了)
ls /etc/cni/net.d/可查看
这题在/opt/cni/bin/下
ls -l /opt/cni/bin/可查看
/opt/cni/bin/flannel -version可查看finnal版本

6 其中打金平台的后台登录地址跳转文件是?[标准格式:abc.php]
WIdbdgd1Us.php
宝塔面板上找到这个网站,应为是登录,操作日志搜login/,找到"http://www.mtbtsdafda.com/index.php/systemlogined/login/index后台登录网址com往后的是跳转的,在所需要的php里因该有,所以取跳转到的部分**index.php/systemlogined/login/index
文件里面搜索带这个的找到答案(header在这里是指向的意思
其实网站根目录也就俩php文件,默认index.php那么另一个应该就是了,可以自行测试一下

7 其中打金平台密码加密算法是?[标准格式:abc]
sha1
在该网站目录下搜索password,看到是sha1

8 其中打金平台中"13067137585"用户的累计产量有多少?[标准格式:100.00]
43853.21、
诺神niub,请教了家诺,先

找到对应网站点管理

跳转以后点数据库,查询输入13067137585,在“member”里找到这个人的账号密码,密码不好破解,直接用自己设的密码sha1加密一下然后改掉

在返回登陆界面用自己改的密码登录就可以了,进来看到答案

9 其中打金平台会员组最高溢价比例是多少?[标准格式:10.00]
1.70
systomlogin后台登陆
loginaction登陆反应(可进去改判断条件
在找到跳转后台登陆的php,进去能看判断条件,对//验证用户名和密码做修改,可以使得密码失效。

然后之前跳转后台的文件里有后台的网址,打开用账号admin登入(密码随便输)

可以看到答案为1.70
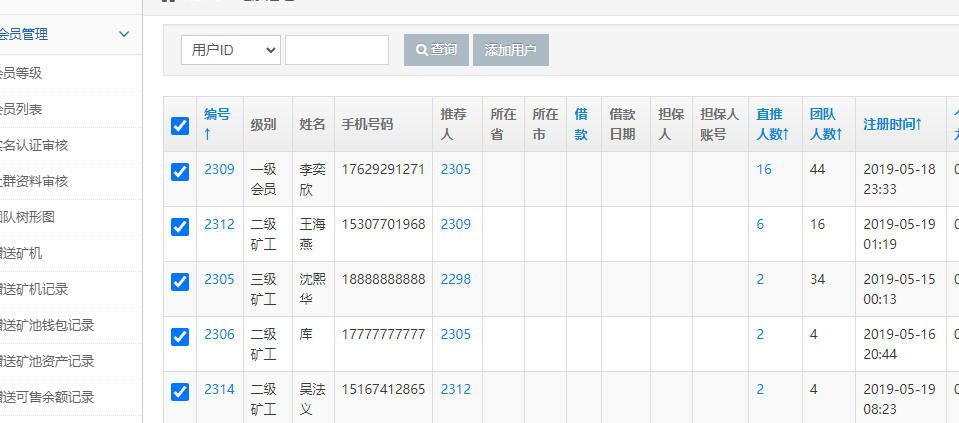
10 其中打金平台会员推广人数最多的会员其姓名是?[标准格式:名字]
李弈欣

后台直接就能看到
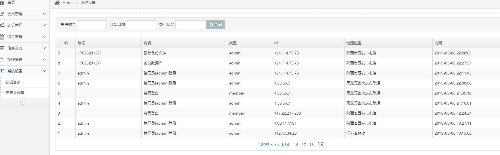
11 其中打金平台最早一次备份数据库的时间(Asia/Shanghai)是?[标准格式:2024-01-01-01:01:01]
2019-05-06-22:27:57

数据库里找到这一条然额是错的。

发现可以从 权限管理-操作日志里找到网站备份数据库的时间。(在对应的日志里找备份时间)
当然在数据库里找也是可以的:在表对象概览里的注释一栏找到系统操作日志表:ds_log,双击打开,搜索备份数据库。两条分别转换时间戳找早的那条。

12 其中金瑞币(JINRUI COIN)平台图片上传平台是哪种类型?[标准格式:腾讯云ABC]
阿里云

这个是查看网站的文件夹的路径

找到对应文件夹搜索“云”就出来了。
13 其中金瑞币平台手机直充接口是什么?[标准格式:http://xxx.xxx.xxx/xxx]
http://op.juhe.cn/ofpay/mobile/onlineorder


在网站的源代码里搜索能搜到
14 其中金瑞币平台后台登录地址是?[标准格式:http://xxx/xxx/xxx.xxx]
http://www.gsjksu2kig.com/admin.php/login/index.html
翻服务器文件的时候发现了密码是加盐MD5方式

可以用浏览器自带的搜索词高亮“空地ctrl+F”

就找着了嗨嗨嗨
15 其中金瑞币平台中密码加密盐值是?[标准格式:AbC1d]
GWwRbMOPJYZCvE5gembG

一搜即得
16 其中金瑞币平台中交易手续费是百分之多少?[标准格式:100]
36

后台进来了多翻一翻就找到了
17 其中金瑞币平台中目前有几种充值方式?[标准格式:100]
3

如图
18 二号集群节点有源代码的网站目录有几个?(正在运行的除外)[标准格式:1]


一般来说服务器集群01为主节点,02为一号节点,03为二号节点
连上E03用find / -name index.html
用这个指令确实能看到opt下有大量未运行源码,找到opt目录下看文件名能看出5个网站目录。
19 二号集群节点memcached端口是?[标准格式:100]
11211
003里搜搜发现:
port是端口的意思
尝试下直接全局搜索‘port’

自然是可以的。
还可以在003node2虚拟机里输入命令得到答案11211来的更直接
命令:netstat -anpt

可以看到memcached端口
20 盲盒平台中余额最多的用户是?[标准格式:AbC1d]
ZrAuyMT1tyo
改host地址“C:\Windows\System32\drivers\etc”
进去发现啊,数据库连不上,进不去
回来一看炸刚了,数据库编辑选项都无,咋搞呢,大佬求解!!
发现这个数据库在地址200,003服务器在201,所以先把002也开起,同步以后,再打开
发现第一个网站就是盲盒平台,奈何数据库还是不知道咋连上去
翻翻日志找到了后台网址(还是搜login

搜了下用户名看到需要的数据库用户名
找家诺问了下

在200的宝塔里面点同步数据库,把需要的数据库同步下来了g3xiwj
然后用之前的宝塔里面的账号密码(这里要先用密码改密,因为未设置),就进去了数据库。

数据库里发现后台密码
之前搜pwd时候有看到加密方式:“admin密码”这样直接MD5

自己构建一个改回去

登进来


看到答案
21 盲盒平台可选二级域名有多少个?[标准格式:100]
13

后台能翻到
22 盲盒平台的支付密钥是?[标准格式:AbC1d]
LDAWIucAQQGQp7rEE4nSlvzQMKZxTxopqNSwjL8PcAIBbVLJkh

23 盲盒平台中拥有分站的用户名是?[标准格式:123abc]
5432ef
后台可翻到
24 借贷平台(www.jiedai0rmr.com)中验证码发送接口域名是?[标准格式:http://xxx.xxx.xxx/]
文件里搜索“验证码”找得到端口
我宝塔面板获取这个文件的时候一直在转出不来,就copy一下


问了问ai判断其作用的方法

25 借贷平台后台登录密码的加密算法中共使用了多少次hash函数加密?[标准格式:10]
4
搜索amdin发现有个加密方式是getpass

搜getpass能出来加密方式

也可以更简单,直接搜sha1,直接就出来了
加密方法:
26 接上题,借贷平台中后台登录的密码额外加密字符串?[标准格式:123ABc+]
26XBAmVMs+n_
密码额外加密字符串是“cfg_adminkey”搜就出来了

27 借贷平台中一共有多少借款订单?[标准格式:100]、
43
日志里先找到后台网址,然后翻数据库,可以发现还有两个数据库没翻
我是翻了第一个发现没啥,再去第二个,不知道有没有一眼看出的方法(进数据库还是要改密,操作同上)翻到后用先前找到的加密方式:
①:对密码进行一次md5加密
②:对26XBAmVMs+n_进行一次md5加密
①②拼接,整体进行一次md5加密
④:整体进行一次sha1加密
替换以后登入后台
可以看到是43
28 借贷平台中"包玉莲"的
收款卡号是?[标准格式:1000]
6227001756030083140


29 借贷平台中贷款最大限额是多少?[标准格式:100]
350000

30 请综合该集群一共有多少个网站数据库?[标准格式:100]
7

要注意:4个是MySQL自带的数据库:
information_schema:存储数据库元数据,如表结构、列信息等。
mysql:核心系统数据库,存储用户权限、数据库配置等关键信息。
performance_schema:用于监控MySQL服务器执行性能。
sys :提供了一系列方便查询性能和元数据的视图。
计算机取证
计算机-1
vm镜像里win+R输入 ipconfig /all 并回车

显示的最长的一行取最后六组
计算机-10
火眼里搜索,右键计算哈希取后六位
计算机-13
火眼中找到并导出对应的base.apk
放入雷电分析器中分析,得到包名
计算机-14
同上雷电中显示未加固
计算机-15
计算机-16
雷电里面打开澳门新葡京,发现设备不符合,打开后台脚本,
在登录界面的时候,关闭脚本,http抓包,找到后缀为login的
计算机-18
如图
计算机-2
同1题操作可显示出版本号
计算机-7
上豆包搜索主要的小说平台,第一个就是“起点中文网”
计算机-6
小蒙
手机取证
手机-12
火眼中搜“IMEI1”
找到后四
手机-13
自己数
手机-3
问豆包
手机-4
火眼里面搜sim看到对应记录
手机-7
手动爆破
手机-9
把该软件考出来下模拟器上,登一下发现不需要


浙公网安备 33010602011771号