计算机网络的参考模型
计算机网络的参考模型
网络设备
交换机:提供更多的网络接口(网口),使更多的的机器加入到局域网中。
路由器:选择最佳的路径传输数据,帮助设备高速转发数据
OSI七层参考模型
| 层次模型 | 作用 | 数据单元 | 主要设备 |
|---|---|---|---|
| 物理层 | 建立、维护、断开物理连接 | 比特流 | 网卡 |
| 数据链路层 | 进行硬件地址寻址,差错校验等功能 | 数据帧 | 交换机 |
| 网络层 | 进行逻辑地址寻址,实现不同网络之间的路径选择 | 数据包 | 路由器 |
| 传输层 | 定义传输数据的协议端口号,以及流量和差错校验 | 数据段 | 防火墙 |
| 会话层 | 建立、管理、中止会话 | message | |
| 表示层 | 数据的表示、压缩、格式化、加密 | message | |
| 应用层 | 网络服务与最终用户的一个接口 | message | PC |
应用层、表示层、会话层为高三层,是面向用户的
网络层、数据链路层、物理层为低三层,是面向硬件的
网络层及以下的通信为点到点通信(主机与主机)
传输层的通信为端到端(端口到端口)
例:当A传递信息给B时
A
| 分层 | 功能 |
|---|---|
| 应用层 | 输入高级语言指令 (打开微信输入聊天的话语,人和程序之间的 一个交流平台) |
| 表示层 | 将人类使用的 高级语言翻译成二进制语言 |
| 会话层 | 管理多个会话, 保证消息正确到达 指定主机 |
| 传输层 | 1.确定传输的协议,2.通过端口号来发给哪个应用程序 |
| 网络层 | 选择数据的最佳传输路线 ( ip地址 ) |
| 数据链路层 | 二次确认, 数据是否正确到达mac地址 (全球唯一的) |
| 物理层 | 将二进制数据转换成点信号 传输出去 |
B
| 分层 | 功能 |
|---|---|
| 物理层 | 将电信号转换成二进制 |
| 数据链路层 | 对比自己的mac 和 数据包里的mac地址 做对比,如果一样接收,如果不一样丢弃 |
| 网络层 | 再次对比 ip地址 |
| 传输层 | 通过端口号找到对应的程序 |
| 会话层 | 通过特定的会话通道 到达 表示层 |
| 表示层 | 将二进制 转化成高级语言 |
| 应用层 | 显示在 应用程序中 |
TCP/IP 参考模型
4层模型、5层模型与OSI7层对比图

各层对应协议
| 分层 | 协议(协商、议定发送数据时按照某种格式发,对面收的时候,也以这种格式接收) |
|---|---|
| 网络层 | icmp :检测主机双向联通性 ping (程序)、tracert (程序) ARP:地址解析 将 ip 转换成 mac地址的协议 |
| 传输层 | tcp :传数据的时候慢但是很稳定 udp:传数据的时候很快但是不稳定 |
| 应用层 | http :超文本传输协议 80 nginx http https :是 http 协议的加密版 超文本加密版 443 ftp :文件传输协议 vsftpd filezila tftp:简单文件传输协议 |
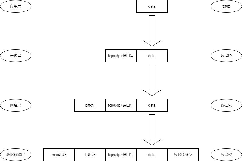
数据封装

每层原理
数据链路层------------交换机-------------------根据mac地址转发数据------------------------2层原理
网络层------------------路由器-------------------根据ip地址转发数据---------------------------3层原理
传输层------------------防火墙-------------------根据协议和端口号------------------------------4层原理
应用层------------------PC-------------------------控制真实数据------------------------------------7层协议
浙公网安备 33010602011771号