关于羚通智能分析平台的使用方法指南
最近我们结合项目合作,开发了一款羚通智能分析平台,这个平台的主要功能是可以利用视频监控,从而运用算法分析对视频中的内容进行算法检测和算法告警,例如行人入侵检测、烟火检测、车型检测、玩手机打电话检测、厨帽检测、抽烟检测等。今天我们就来详细了解一下这个平台是怎么使用的。
首先是这个登录页面,它的界面是非常简洁大气的,如图:
当我们输入账号和密码登录进来后,就可以看到我们平台内部的布局情况了。
这里我们可以看见,左边是列表显示,右边是内容显示,列表区有五部分:分别是分析算法、通道管理、告警查询、计划模板和更新日志。

首先我们先来看一下第一部分,分析算法,分析算法部分主要显示的是一个算法展示,就是现在这个平台所运用的一些算法,例如有烟火检测、算法检测等。
第二部分就是这个通道管理了,这里就可以点击添加按钮,添加需要监测的视频源,然后选择算法类型等功能进行条件配置。那我们如何添加呢?

1)点击添加按钮,就会出现输入设置这个选择框,我们在这里输入通道名称、视频类型和源地址就可以添加一个视频通道了。但添加后你会发现分析状态、告警输出和编码状态是未开启状态,这时候就需要进行配置操作;

2)点击输出设置,打开告警输出、告警快照和编码输出这三个选项,其他选项根据你的需求设置就好,设置完成后点击保存即可;

3)点击算法设置,选择你需要的分析模块、算法类型、算法分析区域、分析频率和分析计划,然后保存即可;



4)点击查看,查看你添加的视频源是否可以正常播放。

完成这4步操作之后你就可以发现,添加的视频通道已建立完成,当视频中出现你选择的算法分析时,会出现红色的框架圈出出现的异常行为,并且以你设置的分析频率进行截图出现在下方显示。 当完成添加视频通道后你会看见我们刚刚操作的四个选项,以及一个删除选项。
1)查看,查看选项是查看你添加的视频源的播放情况;
2)输入设置,输入设置和添加通道是一样的;
3)算法设置,算法设置就是选择分析模块、你需要的算法类型、分析的频率、分析计划以及算法分析区域;
4)输出设置,输出设置这里就是根据我们的需要进行选择,选择完成后点击保存选项即可。
5)删除,删除选项就是选择你不需要的视频通道选择删除即可。
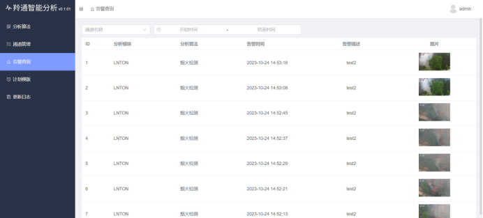
第三部分是告警查询,在这里可以选择通道名称和时间搜索告警时间、描述、算法分析以及告警时算法检测截取的图片。

第四部分是计划模版,在这部分,我们可以选择一个模版,选择一周里的某一天的某个时间,选择提交之后,点击“通道管理->算法设置->分析计划”,你就能看见你设置的计划模版。计划模版的主要作用是,当你在分析计划里使用你选择的某一时间而定制的模板时,它就只会在你选择的这个时间段使用你选择的算法分析来检测视频里的内容。

第五部分是更新日志,这里显示的就是这个平台升级的一个记录。
关于羚通智能分析平台的使用方法我就讲解完了,感兴趣的用户可以前往官网进行详细了解,关于羚通智能分析平台后续的升级及其使用方法也会持续更新。

浙公网安备 33010602011771号