海绵宝宝x逆转裁判 游戏设计文档

海绵宝宝x逆转裁判游戏设计文档
编 者:浦仕传、舒凡诚、郑义
审 核:舒 凡 诚
指 导 老 师:马 于 涛
二〇一九年十二月
一、UML类图

1.util.Button.Button
按钮类。用于提供按钮接口,根据传入的图片列表、声音、位置构造。
2.title.title.TitleInterface
用于打印标题界面。

3.part1.Part1_printer
用于玩Part1的游戏。

4.part1.Part2Printer
用于玩Part2的游戏。

5.util.Background.Background
根据传入的高度、图片等参数,构造出游戏背景。

6.util.Evidence.Evidence
用于打印法庭记录中的证据。

7.util.DialogBox.DialogBox
内含基本实现所有的动画。

8.util.DialogBox2.DialogBox

DialogBox的扩展版,用于在Part2播放对话。
9.util.Button.ChangeableButton
Button类的子类,添加了禁用按钮的方法。

10. util.Question.QuestionBuilder
用于制作单选问题。

11. util.RoleBuilder.RoleBuilder
根据输入的控制串返回相应的角色列表。

12. util.ActionBuilder.ActionBuilder
根据输入的控制串返回动画图片。

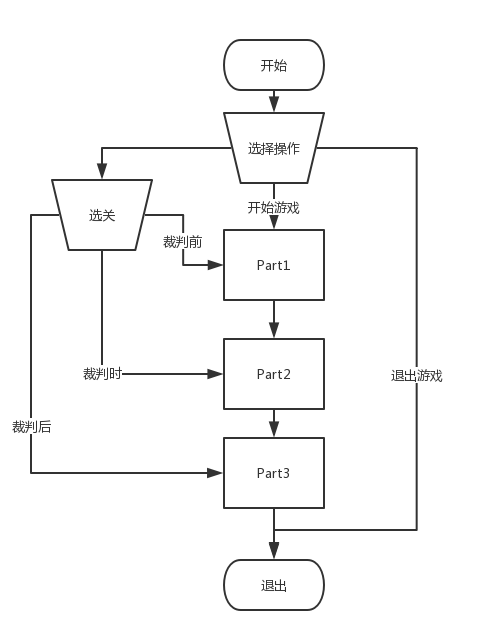
二、UML用况图与流程图



1. 开始游戏
玩家可以在开始界面选择开始游戏。
2. 选择章节
玩家可以在开始界面选择章节。
3. 进行游戏
玩家可以在选择开始游戏后进行游戏。
4. 结束游戏
玩家可以在游戏过程中结束游戏。
三、游戏UI
1.LOGO界面
界面上半部分为武汉大学LOGO,下半部分为组员信息。

2.开始界面

界面上半部分为游戏海报,包含了主要角色——成步堂龙一和海绵宝宝,以及联动的两部作品的LOGO,旨在让玩家了解游戏的主要内容。

3.对话播放时的界面(文本控制状态)
上半部分负责显示背景、人物(有各种表情动作)、文字(包括对话、独白、叙述等)内容。
下半部分为玩家的操作区。最初,操作区中间有一个资料袋,右下角有一个控制对话的按钮。
按钮的具体作用为:在文字打印中途点击直接打印完整行文字;在文字打印完成后点击进入下一行文字。
单击资料袋将由文本控制状态变为证物检查状态。











上半部分屏幕播放的是一个由ActionBuilder类控制的小节动画。






4.证物检查状态
在文本控制状态点击档案袋,会切换到证物检查状态。此时,档案袋消失,下半屏幕的中心出现证物信息。同时多出了三个按钮,分别为向左切换证物按钮、返回按钮、指证按钮。当单击返回按钮时,将返回文本控制状态。









5.单项选择
在游戏进行到特点节点时,将有需要玩家回答的问题。问题的模式为选择题,需在下半屏幕中点击玩家认为正确的选项。点击不同选项将跳转到不同的对话,从而给予玩家选择的反馈。

6.证人询问
制作完成。
7.裁判长判决
制作完成。
四、数据说明
1. $green$XXXX年XX月XX日 被告人第三法庭$6$$$$$$$$ 2. $action$hammer$40$ 3. 裁判长$white$关于被告人海绵宝宝毒杀案的审理,$3$JudgeNormal$resources/pics/JudgeChair.png$resources/music/OpenSession.mp3$$ 4. 裁判长$red$现在开始.$4$JudgeNormal$resources/pics/JudgeChair.png$$$ 5. 裁判长$white$双方做好准备了吗?$4$JudgeSerious$resources/pics/JudgeChair.png$$$ 6. 御剑$white$检控方准备完毕.$3$EdgeworthNormal$resources/pics/Accusation.png$$AccusationTable$$$ 7. 成步堂$white$辩护方准备就绪.$3$PhoenixNormal$resources/pics/Defend.png$$DefendTable$$$ 8. 成步堂$#6495ED$(又是你吗...御剑)$3$PhoenixThink$resources/pics/Defend.png$$DefendTable$$$ 9. 裁判长$white$很好.......$4$JudgeNod$resources/pics/JudgeChair.png$$$ 10. 裁判长$white$为什么连海底生物都出现在了我的法庭上!$2$JudgeSurprised$resources/pics/JudgeChair.png$$$
以上是我们文本的格式,其中各个控制串的具体含义如下。
|
字段名 |
英文名 |
含义 |
示例 |
|
陈述者 |
sayer |
当前说话的人 |
裁判长 |
|
字体颜色 |
fontColor |
字体打印的颜色 |
white |
|
语句内容 |
text |
说话的具体内容 |
很好....... |
|
播放速度 |
speed |
说话的快慢 |
4 |
|
人物表情 |
roleState |
人物说话时的状态 |
PhoenixNormal |
|
音乐控制 |
musicControl |
说话时的声效 |
OpenSession.mp3 |
|
前景打印 |
foreground |
人物的前景(如桌子) |
DefendTable |
|
待扩展1 |
|
|
|
|
待扩展2 |
|
|
|
goto控制行的含义如下:
|
字段名 |
含义 |
示例 |
|
goto |
跳转的控制句柄 |
goto |
|
number |
跳转到的行数 |
65535 |
play控制行的含义如下:
|
字段名 |
含义 |
示例 |
|
play |
播放音效的控制句柄 |
play |
|
sound |
播放的音效路径 |
res/sound/Text_narrative.wav |
第二次迭代过程小组分工
第二次迭代的过程比较辛苦,游戏代码量、文本量、音频和图片量都十分巨大,但各负责人做的效果都满足预期。目前已完成代码框架的设计,下一次迭代工作就放在剧情文本实现上。
|
姓名 |
分工 |
|
舒凡诚(组长) |
设计所有的剧情文本,调试大部分动画,实现音效控制、对话循环控制、动画控制方法,设计对话框类 完成人物与动画的同步 |
|
郑义 |
负责大部分图片素材、音频素材的处理,完成法庭记录控制、证物类、单选类对话框 完成人物与动画的同步 |
|
浦仕传 |
负责各种文档的维护工作;搜集所有音频素材;答辩展示;代码的编写 |
|
叶青 |
负责测试与后期调试 |
|
吴若晗 |
负责测试与后期调试 |
|
汪海杰 |
负责测试与后期调试 |
|
熊思明 |
负责测试与后期调试 |
本项目Github链接:
https://github.com/1269473699/SpongeBob-VS-Ace-Attorney

浙公网安备 33010602011771号