C程序实验报告四
C程序设计实验报告
实验项目:5.3.1-2、5.3.2-2、5.3.4、5.3.5-1、5.3.5-2、5.3.5-3、九九乘法表
姓名:陈佳媛
实验地点:家
实验时间:2020.04.09
一、实验目的与要求
1.熟练地掌握while,do while及for语句实现循环的方法。
2.了解3种循环语句的区别和转换、各自的适应性、循环嵌套的使用。
3.掌握如何在循环语句种使用break,continue语句,改变程序流程。
4.掌握在程序设计种用循环的方法实现各种算法。
二、实验内容
1、实验练习:
5.3.1-2
1问题的简单描述:
编写程序,求数列1,-3!,5!,-7!,...,(-1)^n-1(2n-1)!前n项的和。n的值由键盘输入。
2实验代码:
#include<stdio.h>
int main()
{
int n,i,j,sign=1;
float fac,sum;
printf("Please input value of n:");
scanf("%d",&n);
sum=0.0;
for(i=1;i<=n;i++)
{
fac=1.0;
j=1;
for(j;j<=2*i-1;j++)
{
fac=fac*j;
}
fac=fac*sign;
sum=sum+fac;
sign=-sign;
}
printf("sum=%.0f\n",sum);
return 0;
}
3流程图:

4问题分析:
无
2、实验练习:
5.3.2-2
1问题的简单描述:
求所有的水仙花数(水仙花数是一个3位自然数,该数各位数的立方和等于该数本身,如153为水仙花数11+55+3*3=153)
2实验代码:
#include<stdio.h>
int main()
{
int x,y,z;
int k=100;
while(k<=999)
{
x=k/100;
y=(k/10)%10;
z=k%10;
if(k==x*x*x+y*y*y+z*z*z)
printf("%d\n",k);
k++;
}
return 0;
}
3流程图:

4问题分析:
要先明白水仙花数的含义再动手做。
3、实验练习:
5.3.4
1问题的简单描述:
输入4个字符,并把其转换为4位十进制整数后显示出来。
2实验代码:
#include<stdio.h>
int main()
{
char c;
int k,data;
data=0;
for(k=0;k<4;k++)
{
while(k<4)
{
c=getchar();
if(c>='0'&&c<='9')
break;
}
if(k==0)
data+=(c-'0')*1000;
else
if(k==1)
data+=(c-'0')*100;
else
if(k==2)
data+=(c-'0')*10;
else
if(k==3)
data+=(c-'0');
}
printf("Data=%d",data);
return 0;
}
3流程图:

4问题分析:
无
4、实验练习:
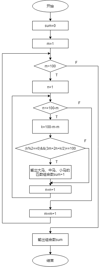
5.3.5-1
1问题的简单描述:
有100匹马。要驮100担货物,其中,1匹大马可以驮3担,1匹中马可以驮2担,两匹小马可以驮1担,请问,大马、中马和小马可以有多少种组合。
2实验代码:
#include<stdio.h>
int main()
{
int m,n,k;
int sum=0;
printf("各种驮法如下:\n");
for(m=1;m<=100;m++)
for(n=1;n<=100-m;n++)
{
k=100-m-n;
if((k%2==0)&&(3*m+2*n+k/2)==100)
{
printf("大马%3d匹;中马%3d匹;小马%3d匹.\n",m,n,k);
sum++;
}
}
printf("共有%d种驮法.\n",sum);
return 0;
}
3流程图:

4问题分析:
找好大马中马小马之间的数量关系
5、实验练习:
5.3.5-2
1问题的简单描述:
编写程序,求一正整数等差数列的前6项的和,该数列前4项之和是26,前4项之积是880。
2实验代码:
#include<stdio.h>
int main()
{
int a,b,c,d,i,sum=0;
for(a=1;a<=26;a++)
for(d=1;d<=26;d++)
{
b=a+a+d+a+2*d+a+3*d;
c=a*(a+d)*(a+2*d)*(a+3*d);
if((b==26)&&(c==880))
{
printf("数列的初值为a=%d,差值为d=%d\n",a,d);
printf("\n数列前6项的值:");
for(i=0;i<6;i++)
{
printf("%d ",a+i*d);
sum=sum+(a+i*d);
}
printf("\n");
}
}
printf("\n数列的前6项的和:%d\n",sum);
return 0;
}
3流程图:

4问题分析:
无
6、实验练习:
5.3.5-3
1问题的简单描述:
有30个学生一起买小吃,共花钱50元,其中,每个大学生花3元,每个中学生花2元,每个小学生花1元,问大、中、小学生的人数共有多少种不同的解(去掉某类学生数为0的解)。
2实验代码:
#include<stdio.h>
int main()
{
int x,y,z,sum;
sum=0;
for(x=1;x<30;x++)
{
for(y=1;y<30;y++)
{
z=30-x-y;
if((3*x+2*y+z)==50)
{
printf("大学生%d\t 中学生%d\t小学生%d\n",x,y,z);
sum=sum+1;
}
}
}
printf("共有%d种不同的组合。\n",sum);
return 0;
}
3流程图:

4问题分析:
无
三、项目实训:
九九乘法表
1、流程图

2、代码
#include<stdio.h>
int main()
{
int i,j;
for(i=1;i<=9;i++)
{
for(j=1;j<=i;j++)
{
printf("%d*%d=%2d\t",i,j,i*j);
}
printf("\n");
}
return 0;
}
四、实验小结
这次实验主要依靠流程图来写代码,希望以后少依赖流程图。总体来说,这次实验较简单,实验过程中也没有什么大问题。

浙公网安备 33010602011771号