高级语言程序设计第四次作业
这个作业属于的课程:https://edu.cnblogs.com/campus/fzu/gjyycx
这个作业的要求在:https://edu.cnblogs.com/campus/fzu/gjyycx/homework/14577
学号:102500319
姓名:刘江涵
一、程序运行结果


二、
1用while和do while分别设计程序实现:用公式π/4=1-1/3+1/5-1/7+1/9+...求π的近似值,直到某一项的绝对值小于10-4为止,对两个程序的不同之处进行讨论


while先判断条件,成立才进入循环,do-while先做一次,再判断条件
2设计一个程序,实现功能:逻辑表达式中的运算符,只有会影响表达式求值时,才会执行

3用for循环输出六行,第一行有FEDCBA,第二行是FEDCB,第三行是FEDC....,以此类推

4编程输入n, 计算s=1+(1+2)+(1+2+3)+…+(1+2+3+4+…n)

5用for循环给一组整型类型的数组进行赋值,输出,以及求和,数组长度为8

6设计一个if和else的多分支程序(分支数目大于3),该多分支程序再用switch语句进行改写,同时设计一个使用条件运算符(?:)的双分支语句



7设计一个循环程序,再循环中用break和continue语句,实现不同的程序效果,给出结果并讨论


break跳出本层循环,continue跳出本次循环
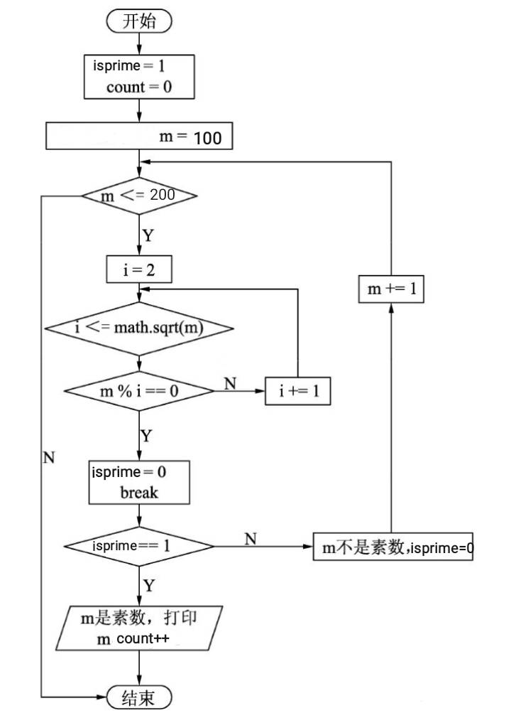
8设计一个程序求100~200间的全部素数,给出算法思想、传统流程图、程序NS流程图



算法思想:将m用小于等于根号m的所有整数试除,若均无法整除,则为素数
三、本第6章6.16编程练习题目中的第1,5,7,10,13,16,18题
1编写一个程序,创建一个包含26个元素的数组,并在其中储存26个小写字母,然后打印数组中的所有内容

2编写一个程序,打印大写字母金字塔

3编写一个程序,倒序打印单词

4编写一个程序,打印平方和

5编写一个程序,用for设置2的前8次幂的数组,用do while打印

6编写一个程序,计算两种方式存利息的投资额,并打印Daphne超过Deirdre需要的年数

7编写一个程序,计算Rabnud博士的每周的朋友数量,直到超过邓不多利数

四、书本第7章7.12编程练习题目中的第1,2,4~5,7题
1编写一个程序,读取字符数量直至#,统计空格,换行以及其他字符数量

2编写一个程序,提示用户输入字符,打印字符-ASCII码组合

3编写一个程序,提示用户输入字符,用!替换. 用!!替换!,并统计替换次数

4编写一个程序,用switch重写4

5编写一个程序,计算工资、税收、净收入

总结:通过练习,对循环嵌套,多重分支,跳转更加了解与熟练
反思:还需注意switch只可处理整型变量,等于要用==,嵌套是注意循环体{}

浙公网安备 33010602011771号