SRC漏洞挖掘之偏门资产收集篇
SRC漏洞挖掘之偏门资产收集篇
写这篇文章的目得,就是跟大家分享一下平时我挖src漏洞的一些经验,当自己挖到某个站点的漏洞时,往往就会欣喜若狂的往src平台上提交,得到的结果却是 “漏洞已重复,感谢提交“ ,其实这结果很影响一个刚接触挖洞的人的积极性的。后来想想也是,你能搜索到的,别人也可以搜索到。所以经过一段时间的磨练,我总结了以下刷公益 src 漏洞中的偏门资产收集的办法,大大提高了漏洞的质量,以及节省很多收集资产的时间。
一丶技术支持
首先观察一下网站底部是否有技术支持:xxxx|网站建设:xxxx之类的标注,一些建站企业会出于知识产权保护或者是对外宣传自己的公司,会在自家搭建的网站上挂上技术支持等之类的标注,很多建站企业往往某种类型的网站都是套用的同一套源码,换汤不换药,运气不错的话,那我们的事件就秒变通用啦~

我的第一个CNVD通用证书就是通过这种方式拿到的

下面讲解一下当发现技术支持的一些网站的具体思路
1.网站官网找客户案例
我们就可以进这个建站官网,找客户案例,寻找同模板的案例网站,一般的网站建设公司都是用同一套模板的,这样的话一站有洞,全站遭殃~

2.搜索引擎
有些建站企业的官网不会放这些客户案例,那就可以用我们的第二种方法,那就是搜索引擎。黑客语法用起来~
www.Google.com

https://fofa.so/

https://cn.bing.com
二丶IP反查域名
可能有些建站或者企业再建站的时候会用到同一套CMS,但是他们不会标注技术支持之类的标识,而且有些网站基本从那些搜索引擎搜索不到的,但是企业为了节省开支,会将自己的网站搭建在一个服务器上,所以这一招就很好用,一键反查域名,所有网站就全部爆露出来了,我曾经一个IP反查域名,将一个建站企业的200多个网站,直接打包了~
https://dns.aizhan.com/(爱站网IP反查域名)

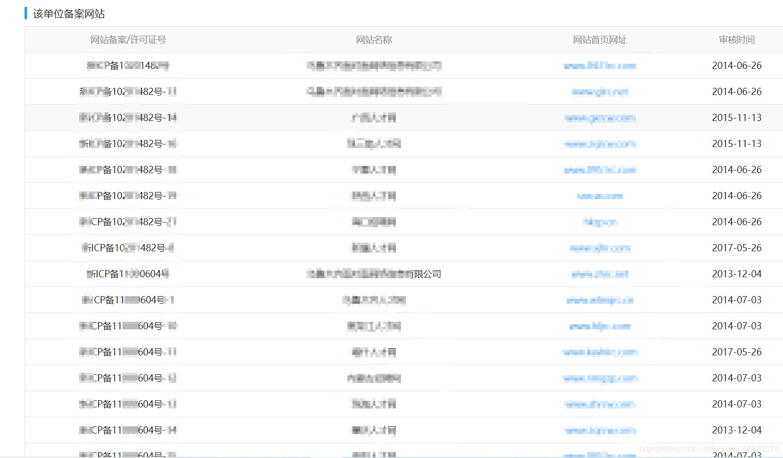
三丶ICP备案查询
https://icp.aizhan.com(爱站网ICP网站备案查询)
有一部分公司由于业务需要,会在自己名下注册多个站址或者同一域名下的子域名会使用相 同的 cms,有时候可能不是同一套 cms,但也会是同一种类型的网站,我以公益 src 的某站点 举例:该站点并不是一套 cms,但都是同类型的站点。

四丶友情链接
在请教一个逻辑漏洞挖掘的大佬时,他就就跟我说友链是一个很香的东西,并且权重都很高。很多网站为了提高权重,会相互挂友情链接,以增加收录,网站首页占据整站的权重 最大,所以友情链接在外链中所占的权重传递也是最高的,一般友情链接也习惯挂在网站首 页的最下边。此外,友情链接都和本站的的主题均相关联,所以你若习惯挖一种类型的网站, 那友情链接是你的不二之选,在测试过程中多多注意,会省下你大把收集资源的时间!


五丶其他
还有一些大众人都用的方法,比如一些子域名,端口,搜索引擎的关键词搜索,这个就要看你思路够不够骚了~因为大部分的关键词搜索出来的漏洞,基本都被提交过了,这个就靠你的脑洞了,比如xxx用品,xxx商城,这个xxx就看你思路够不够骚了~
Seay的子域名挖掘机

7kbscan url采集工具

还有nmap等一些集成工具
六丶总结
其实以上方法学会了,对于漏洞的挖掘其实就跟简单了,既能保证漏洞的质量不会有太多的重复,也可以提高自己漏洞挖掘的数量以及速度,这些都是我个人运用的,可能不是很完整,但是很实用,欢迎各位大佬指导~


浙公网安备 33010602011771号