20165308 20165327《信息安全系统设计基础》实验五通讯协议设计
20165308 20165327《信息安全系统设计基础》实验五通讯协议设计
任务一
•在Ubuntu中完成http://www.cnblogs.com/rocedu/p/5087623.html 中的作业
•提交运行结果截图
了解学习openssl:
OpenSSL简介
OpenSSL是一个SSL协议的开源实现,采用C语言作为开发语言,具备了跨平台的能力,支持Unix/Linux、Windows、Mac OS等多种平台。
OpenSSL最早的版本在1995年发布,1998年后开始由OpenSSL项目组维护和开发。当前最新的版本是1.1.0 alpha版本,完全实现了对SSLv1、SSLv2、SSLv3和TLS的支持。。目前,OpenSSL已经得到了广泛的应用,许多类型的软件中的安全部分都使用了OpenSSL的库,如VOIP的OpenH323协议、Apache服务器、Linux安全模块等等。
OpenSSL整个软件包大概可以分成三个主要的功能部分:
密码算法库
SSL协议库
应用程序
OpenSSL源码的目录结构也是围绕这三个功能部分进行规划的。
密码算法库是一个强大完整的密码算法库,它是OpenSSL的基础部分,也是很值得一般密码安全技术人员研究的部分,它实现了目前大部分主流的密码算法和标准。主要包括对称算法、非对称算法、散列算法、数字签名和认证、X509数字证书标准、PKCS12、PKCS7等标准。其他两个功能部分SSL协议和应用程序都是基于这个库开发的。
在密码算法库的基础上实现的,SSL协议部分完全实现和封装了SSL协议的三个版本和TLS协议。使用协议库,你完全可以建立一个SSL服务器和SSL客户端。
应用程序是基于密码算法库和SSL协议库实现的命令,熟悉OpenSSL可以从使用这些应用程序开始。应用程序覆盖了密码技术的应用,主要包括了各种算法的加密程序和各种类型密钥的产生程序(如RSA、Md5、Enc等等)、证书签发和验证程序(如Ca、X509、Crl等)、SSL连接测试程序(如S_client和S_server等)以及其它的标准应用程序(如Pkcs12和Smime等)。
Linux下OpenSSL的安装与测试
•首先去老师给出的连接中下载环境
•然后解压压缩包Linux中终端解压指令
unzip openssl-master.zip
•安装过程:
首先解压源代码:
tar xzvf openssl-1.1.0-pre1.tar.gz
然后进入源代码目录:
cd openssl-1.1.0-pre1
然后使用下列命令编译安装:
./configure
make
sudo make install
如果安装过程中出现任何问题,都可以参考其目录下“INSTALL”的相应安装说明解决。
学习使用Linux下OpenSSL
通过
man openssl
```
查看帮助文档。
编写一个测试代码test_openssl.c:
```
#include <stdio.h>
#include <openssl/evp.h>
int main(){
OpenSSL_add_all_algorithms();
return 0;
}
```
然后用下面的指令进行编译:
```
gcc -o test_openssl test_openssl.c -L/usr/local/ssl/lib -lcrypto -ldl -lpthread
```
生成“test_openssl”可执行文件,然后运行并执行
```
echo $?
```
结果打印0.
打印成功截图:


任务一作业:
```
两人一组
基于Socket实现TCP通信,一人实现服务器,一人实现客户端
研究OpenSSL算法,测试对称算法中的AES,非对称算法中的RSA,Hash算法中的MD5
选用合适的算法,基于混合密码系统实现对TCP通信进行机密性、完整性保护。
学有余力者,对系统进行安全性分析和改进。
```
基于socket实现TCP通信:
客户端代码:
```
#include <stdio.h>
#include <stdlib.h>
#include <string.h>
#include <errno.h>
#include <sys/socket.h>
#include <arpa/inet.h>
#include <netinet/in.h>
#include <sys/types.h>
#include <unistd.h>
#define BUFLEN 10
int main(int argc, char **argv)
{
int sockfd;
struct sockaddr_in s_addr;
socklen_t len;
unsigned int port;
char buf[BUFLEN];
/*建立socket*/
if((sockfd = socket(AF_INET, SOCK_STREAM, 0)) == -1){
perror("socket");
exit(errno);
}else
printf("socket create success!\n");
/*设置服务器端口*/
if(argv[2])
port = atoi(argv[2]);
else
port = 4567;
/*设置服务器ip*/
bzero(&s_addr, sizeof(s_addr));
s_addr.sin_family = AF_INET;
s_addr.sin_port = htons(port);
if (inet_aton(argv[1], (struct in_addr *)&s_addr.sin_addr.s_addr) == 0) {
perror(argv[1]);
exit(errno);
}
/*开始连接服务器*/
if(connect(sockfd,(struct sockaddr*)&s_addr,sizeof(struct sockaddr)) == -1){
perror("connect");
exit(errno);
}else
printf("conncet success!\n");
while(1){
/******接收消息*******/
bzero(buf,BUFLEN);
len = recv(sockfd,buf,BUFLEN,0);
if(len > 0)
printf("服务器发来的消息是:%s,共有字节数是: %d\n",buf,len);
else{
if(len < 0 )
printf("接受消息失败!\n");
else
printf("服务器退出了,聊天终止!\n");
break;
}
_retry:
/******发送消息*******/
bzero(buf,BUFLEN);
printf("请输入发送给对方的消息:");
/*fgets函数:从流中读取BUFLEN-1个字符*/
fgets(buf,BUFLEN,stdin);
/*打印发送的消息*/
//fputs(buf,stdout);
if(!strncasecmp(buf,"quit",4)){
printf("client 请求终止聊天!\n");
break;
}
/*如果输入的字符串只有"\n",即回车,那么请重新输入*/
if(!strncmp(buf,"\n",1)){
printf("输入的字符只有回车,这个是不正确的!!!\n");
goto _retry;
}
/*如果buf中含有'\n',那么要用strlen(buf)-1,去掉'\n'*/
if(strchr(buf,'\n'))
len = send(sockfd,buf,strlen(buf)-1,0);
/*如果buf中没有'\n',则用buf的真正长度strlen(buf)*/
else
len = send(sockfd,buf,strlen(buf),0);
if(len > 0)
printf("消息发送成功,本次共发送的字节数是:%d\n",len);
else{
printf("消息发送失败!\n");
break;
}
}
/*关闭连接*/
close(sockfd);
return 0;
}
```
服务器代码:
```
#include <stdio.h>
#include <stdlib.h>
#include <string.h>
#include <errno.h>
#include <sys/socket.h>
#include <arpa/inet.h>
#include <netinet/in.h>
#include <sys/types.h>
#include <unistd.h>
#define BUFLEN 10
int main(int argc, char **argv)
{
int sockfd, newfd;
struct sockaddr_in s_addr, c_addr;
char buf[BUFLEN];
socklen_t len;
unsigned int port, listnum;
/*建立socket*/
if((sockfd = socket(AF_INET, SOCK_STREAM, 0)) == -1){
perror("socket");
exit(errno);
}else
printf("socket create success!\n");
/*设置服务器端口*/
if(argv[2])
port = atoi(argv[2]);
else
port = 4567;
/*设置侦听队列长度*/
if(argv[3])
listnum = atoi(argv[3]);
else
listnum = 3;
/*设置服务器ip*/
bzero(&s_addr, sizeof(s_addr));
s_addr.sin_family = AF_INET;
s_addr.sin_port = htons(port);
if(argv[1])
s_addr.sin_addr.s_addr = inet_addr(argv[1]);
else
s_addr.sin_addr.s_addr = INADDR_ANY;
/*把地址和端口帮定到套接字上*/
if((bind(sockfd, (struct sockaddr*) &s_addr,sizeof(struct sockaddr))) == -1){
perror("bind");
exit(errno);
}else
printf("bind success!\n");
/*侦听本地端口*/
if(listen(sockfd,listnum) == -1){
perror("listen");
exit(errno);
}else
printf("the server is listening!\n");
while(1){
printf("*****************聊天开始***************\n");
len = sizeof(struct sockaddr);
if((newfd = accept(sockfd,(struct sockaddr*) &c_addr, &len)) == -1){
perror("accept");
exit(errno);
}else
printf("正在与您聊天的客户端是:%s: %d\n",inet_ntoa(c_addr.sin_addr),ntohs(c_addr.sin_port));
while(1){
_retry:
/******发送消息*******/
bzero(buf,BUFLEN);
printf("请输入发送给对方的消息:");
/*fgets函数:从流中读取BUFLEN-1个字符*/
fgets(buf,BUFLEN,stdin);
/*打印发送的消息*/
//fputs(buf,stdout);
if(!strncasecmp(buf,"quit",4)){
printf("server 请求终止聊天!\n");
break;
}
/*如果输入的字符串只有"\n",即回车,那么请重新输入*/
if(!strncmp(buf,"\n",1)){
printf("输入的字符只有回车,这个是不正确的!!!\n");
goto _retry;
}
/*如果buf中含有'\n',那么要用strlen(buf)-1,去掉'\n'*/
if(strchr(buf,'\n'))
len = send(newfd,buf,strlen(buf)-1,0);
/*如果buf中没有'\n',则用buf的真正长度strlen(buf)*/
else
len = send(newfd,buf,strlen(buf),0);
if(len > 0)
printf("消息发送成功,本次共发送的字节数是:%d\n",len);
else{
printf("消息发送失败!\n");
break;
}
/******接收消息*******/
bzero(buf,BUFLEN);
len = recv(newfd,buf,BUFLEN,0);
if(len > 0)
printf("客户端发来的信息是:%s,共有字节数是: %d\n",buf,len);
else{
if(len < 0 )
printf("接受消息失败!\n");
else
printf("客户端退出了,聊天终止!\n");
break;
}
}
/*关闭聊天的套接字*/
close(newfd);
/*是否退出服务器*/
printf("服务器是否退出程序:y->是;n->否? ");
bzero(buf, BUFLEN);
fgets(buf,BUFLEN, stdin);
if(!strncasecmp(buf,"y",1)){
printf("server 退出!\n");
break;
}
}
/*关闭服务器的套接字*/
close(sockfd);
return 0;
}
```
通信交流实验成功截图:

### 任务二
•在Ubuntu中实现对实验二中的“wc服务器”通过混合密码系统进行防护
•提交测试截图
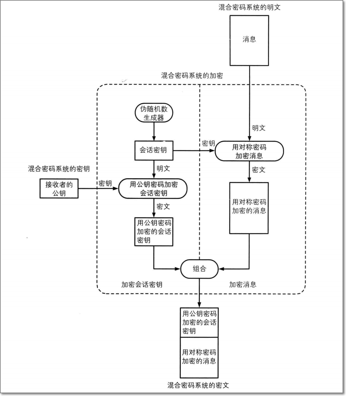
了解学习混合密码系统
混合密码系统图解:

#### 基础openssl模块了解学习
```
#include <openssl/ssl.h>
#include <openssl/err.h> //openssl头文件
```
```
SSL_CTX *ctx=NULL;
```
/* SSL会话环境 */
```
SSL *ssl=NULL;
```
/* SSL安全套接字 */
使用SSL_CTX_new()创建会话环境,建立连接时要使用协议由TLS_server_method()来定。如果这一步出错,需要查看错误栈来查看原因
```
if( NULL==(ctx=SSL_CTX_new(TLS_server_method())) )
{
ERR_print_errors_fp(stdout);
break;
}
```
```
if( 0>=SSL_CTX_use_certificate_file(ctx, "./cacert.pem", SSL_FILETYPE_PEM/*SSL_FILETYPE_ASN1*/) )
```
/* 为SSL会话加载用户证书 */
```
if( 0>=SSL_CTX_use_PrivateKey_file(ctx, "./privkey.pem", SSL_FILETYPE_PEM/*SSL_FILETYPE_ASN1*/) )
```
/* 为SSL会话加载用户私钥 */
```
if( -1==SSL_accept(ssl) )
```
/* SSL层握手 */
```
SSL_shutdown(SSL *ssl);
```
//关闭SSL套接字
```
SSl_free(SSL *ssl);
```
//释放SSL套接字
```
SSL_CTX_free(SSL_CTX *ctx);
```
//释放SSL会话环境
加密代码
server:
```
#include <stdio.h>
#include <stdlib.h>
#include <errno.h>
#include <string.h>
#include <sys/types.h>
#include <netinet/in.h>
#include <sys/socket.h>
#include <sys/wait.h>
#include <unistd.h>
#include <arpa/inet.h>
#include <openssl/ssl.h>
#include <openssl/err.h>
#include <openssl/evp.h>
#define MAXBUF 1024
int main(int argc, char **argv)
{
int sockfd, new_fd;
socklen_t len;
struct sockaddr_in my_addr, their_addr;
unsigned int myport, lisnum;
char buf[MAXBUF + 1];
SSL_CTX *ctx;
if (argv[1])
myport = atoi(argv[1]);
else
myport = 7838;
if (argv[2])
lisnum = atoi(argv[2]);
else
lisnum = 2;
/* SSL 库初始化 */
SSL_library_init();
/* 载入所有 SSL 算法 */
OpenSSL_add_all_algorithms();
/* 载入所有 SSL 错误消息 */
SSL_load_error_strings();
/* 以 SSL V2 和 V3 标准兼容方式产生一个 SSL_CTX ,即 SSL Content Text */
ctx = SSL_CTX_new(SSLv23_server_method());
/* 也可以用 SSLv2_server_method() 或 SSLv3_server_method() 单独表示 V2 或 V3标准 */
if (ctx == NULL) {
ERR_print_errors_fp(stdout);
exit(1);
}
/* 载入用户的数字证书, 此证书用来发送给客户端。 证书里包含有公钥 */
if (SSL_CTX_use_certificate_file(ctx, argv[3], SSL_FILETYPE_PEM) <= 0) {
ERR_print_errors_fp(stdout);
exit(1);
}
/* 载入用户私钥 */
if (SSL_CTX_use_PrivateKey_file(ctx, argv[4], SSL_FILETYPE_PEM) <= 0){
ERR_print_errors_fp(stdout);
exit(1);
}
/* 检查用户私钥是否正确 */
if (!SSL_CTX_check_private_key(ctx)) {
ERR_print_errors_fp(stdout);
exit(1);
}
/* 开启一个 socket 监听 */
if ((sockfd = socket(PF_INET, SOCK_STREAM, 0)) == -1) {
perror("socket");
exit(1);
} else
printf("socket created\n");
bzero(&my_addr, sizeof(my_addr));
my_addr.sin_family = PF_INET;
my_addr.sin_port = htons(myport);
my_addr.sin_addr.s_addr = INADDR_ANY;
if (bind(sockfd, (struct sockaddr *) &my_addr, sizeof(struct sockaddr))
== -1) {
perror("bind");
exit(1);
} else
printf("binded\n");
if (listen(sockfd, lisnum) == -1) {
perror("listen");
exit(1);
} else
printf("begin listen\n");
while (1) {
SSL *ssl;
len = sizeof(struct sockaddr);
/* 等待客户端连上来 */
if ((new_fd =
accept(sockfd, (struct sockaddr *) &their_addr,
&len)) == -1) {
perror("accept");
exit(errno);
} else
printf("server: got connection from %s, port %d, socket %d\n",
inet_ntoa(their_addr.sin_addr),
ntohs(their_addr.sin_port), new_fd);
/* 基于 ctx 产生一个新的 SSL */
ssl = SSL_new(ctx);
/* 将连接用户的 socket 加入到 SSL */
SSL_set_fd(ssl, new_fd);
/* 建立 SSL 连接 */
if (SSL_accept(ssl) == -1) {
perror("accept");
close(new_fd);
break;
}
/* 开始处理每个新连接上的数据收发 */
bzero(buf, MAXBUF + 1);
strcpy(buf, "server->client");
/* 发消息给客户端 */
len = SSL_write(ssl, buf, strlen(buf));
if (len <= 0) {
printf
("消息'%s'发送失败!错误代码是%d,错误信息是'%s'\n",
buf, errno, strerror(errno));
goto finish;
} else
printf("消息'%s'发送成功,共发送了%d个字节!\n",
buf, len);
bzero(buf, MAXBUF + 1);
/* 接收客户端的消息 */
len = SSL_read(ssl, buf, MAXBUF);
if (len > 0)
printf("接收消息成功:'%s',共%d个字节的数据\n",
buf, len);
else
printf
("消息接收失败!错误代码是%d,错误信息是'%s'\n",
errno, strerror(errno));
/* 处理每个新连接上的数据收发结束 */
finish:
/* 关闭 SSL 连接 */
SSL_shutdown(ssl);
/* 释放 SSL */
SSL_free(ssl);
/* 关闭 socket */
close(new_fd);
}
/* 关闭监听的 socket */
close(sockfd);
/* 释放 CTX */
SSL_CTX_free(ctx);
return 0;
}
```
client:
```
#include <stdio.h>
#include <string.h>
#include <errno.h>
#include <sys/socket.h>
#include <resolv.h>
#include <stdlib.h>
#include <netinet/in.h>
#include <arpa/inet.h>
#include <unistd.h>
#include <openssl/ssl.h>
#include <openssl/err.h>
#include <openssl/evp.h>
#define MAXBUF 1024
void ShowCerts(SSL * ssl)
{
X509 *cert;
char *line;
cert = SSL_get_peer_certificate(ssl);
if (cert != NULL) {
printf("数字证书信息:\n");
line = X509_NAME_oneline(X509_get_subject_name(cert), 0, 0);
printf("证书: %s\n", line);
free(line);
line = X509_NAME_oneline(X509_get_issuer_name(cert), 0, 0);
printf("颁发者: %s\n", line);
free(line);
X509_free(cert);
} else
printf("无证书信息!\n");
}
int main(int argc, char **argv)
{
int sockfd, len;
struct sockaddr_in dest;
char buffer[MAXBUF + 1];
SSL_CTX *ctx;
SSL *ssl;
if (argc != 3) {
printf("参数格式错误!正确用法如下:\n\t\t%s IP地址 端口\n\t比如:\t%s 127.0.0.1 80\n此程序用来从某个"
"IP 地址的服务器某个端口接收最多 MAXBUF 个字节的消息",
argv[0], argv[0]);
exit(0);
}
/* SSL 库初始化,参看 ssl-server.c 代码 */
SSL_library_init();
OpenSSL_add_all_algorithms();
SSL_load_error_strings();
ctx = SSL_CTX_new(SSLv23_client_method());
if (ctx == NULL) {
ERR_print_errors_fp(stdout);
exit(1);
}
/* 创建一个 socket 用于 tcp 通信 */
if ((sockfd = socket(AF_INET, SOCK_STREAM, 0)) < 0) {
perror("Socket");
exit(errno);
}
printf("socket created\n");
/* 初始化服务器端(对方)的地址和端口信息 */
bzero(&dest, sizeof(dest));
dest.sin_family = AF_INET;
dest.sin_port = htons(atoi(argv[2]));
if (inet_aton(argv[1], (struct in_addr *) &dest.sin_addr.s_addr) == 0) {
perror(argv[1]);
exit(errno);
}
printf("address created\n");
/* 连接服务器 */
if (connect(sockfd, (struct sockaddr *) &dest, sizeof(dest)) != 0) {
perror("Connect ");
exit(errno);
}
printf("server connected\n");
/* 基于 ctx 产生一个新的 SSL */
ssl = SSL_new(ctx);
SSL_set_fd(ssl, sockfd);
/* 建立 SSL 连接 */
if (SSL_connect(ssl) == -1)
ERR_print_errors_fp(stderr);
else {
printf("Connected with %s encryption\n", SSL_get_cipher(ssl));
ShowCerts(ssl);
}
/* 接收对方发过来的消息,最多接收 MAXBUF 个字节 */
bzero(buffer, MAXBUF + 1);
/* 接收服务器来的消息 */
len = SSL_read(ssl, buffer, MAXBUF);
if (len > 0)
printf("接收消息成功:'%s',共%d个字节的数据\n",
buffer, len);
else {
printf
("消息接收失败!错误代码是%d,错误信息是'%s'\n",
errno, strerror(errno));
goto finish;
}
bzero(buffer, MAXBUF + 1);
strcpy(buffer, "from client->server");
/* 发消息给服务器 */
len = SSL_write(ssl, buffer, strlen(buffer));
if (len < 0)
printf
("消息'%s'发送失败!错误代码是%d,错误信息是'%s'\n",
buffer, errno, strerror(errno));
else
printf("消息'%s'发送成功,共发送了%d个字节!\n",
buffer, len);
finish:
/* 关闭连接 */
SSL_shutdown(ssl);
SSL_free(ssl);
close(sockfd);
SSL_CTX_free(ctx);
return 0;
}
```
编译方式:
```
gcc -o server server.c -I /usr/local/ssl/include -L/usr/local/ssl/lib -lssl -lcrypto -ldl -lpthread
```
```
gcc -o telent telent.c -I /usr/local/ssl/include -L/usr/local/ssl/lib -lssl -lcrypto -ldl -lpthread
```
生成私钥和证书:
```
openssl genrsa -out privkey.pem 1024
openssl req -new -x509 -key privkey.pem -out CAcert.pem -days 1095
```
程序运行方式:
```
./server 5319 1 CAcert.pem privkey.pem
./client 127.0.0.1 5308
```
实验感想:
本次实验学习了openssl指令与使用方法,在学习的过程中也复习了解到了许多以前的知识,本次实验与web编程和密码学两门功课息息相关,在完成过程中遇到了许多困难,但最终还是通过和组员讨论以及在网上搜索找到了解决方案。
浙公网安备 33010602011771号