计科一班18111106
目 录
1 选题 1
3 系统需求分析 2
3.1 系统可行性分析 2
3.2 系统需求分析 2
3.3 项目进度安排 2
4 系统设计 4
4.1 系统设计 4
4.2 数据库设计(有则写-无则删除,如果是文件直接写文件) 4
5 系统实现 6
5.1 管理员登录界面实现 6
5.2 管理用户信息界面实现 6
6 系统测试 8
7 结论和心得 9
1 选题
|
选题一 |
算术运算测试 |
|
题目要求 |
|
|
实现十道 100 以内加减法数学题,能根据题目计算出答案,与输入答案对比,判断做题是否正确,最后计算分数。 添加排行榜功能存放到文件或数据库中。 |
|
|
使用Java知识 |
|
|
利用JFrame窗口和JPanel容器函数进行主界面的输出,分别对窗口的大小,窗口内的标题框,答案框,和其中的输出都进行大小的设置,导入Java程序的包,从0-99中抽取两个数进行加减法运算,然后判断正误和运行次数然后输出总分 可以调用Math.random()*100抽取100以内的随机数 答对的就自行加分答错不加分并打出正确的答案,当数组一个一个读出来再排序读出
|
|
|
选题二 |
猜数游戏 |
|
题目要求 |
|
|
计算机产生随机数,猜中即胜,猜不中,提示是大了还是小了, 继续猜,直至猜到,给出所用时间和评语。保留用户测试成绩,做出成绩排行榜。 排行榜存放到文件或数据库中
|
|
|
使用Java知识 |
|
|
随机产生数可借用Java 提供的Math.random()*100类来产生,需要一个控制台输入,
|
|
2 系统需求分析
2.1 系统可行性分析
第一题:可以调用Math.random()*100抽取100以内的随机数并加减运算,输入个人运损结果,对比答案并进行加分运算,得出总分
2.2 系统需求分析
第一题:利用JFrame窗口和JPanel容器函数进行主界面的输出,分别对窗口的大小,窗口内的标题框,答案框,和其中的输出都进行大小的设置,导入Java程序的包,从0-99中抽取两个数进行加减法运算,然后判断正误和运行次数然后输出总分,可以调用Math.random()*100抽取100以内的随机数,答对的就自行加分答错不加分并打出正确的答案,当数组一个一个读出来再排序读出

第二题:随机产生数可借用Java 提供的Math.random()*100类来产生,需要一个控制台输入
2.3 进度安排
阶段一进度安排如表3-1所示。
表3-1 进度安排表
|
阶段 |
持续时间 |
阶段描述 |
输出 |
|
构思阶段 |
2个小时 |
需求分析 |
需求说明,功能模块图 |
|
设计阶段 |
四十分钟 |
系统设计 |
设计说明-可以画流程图;数据库设计 |
|
实现阶段 |
一个半小时 |
编写代码 |
项目工程源代码 |
|
半个小时 |
系统测试 |
进行黑盒测试(功能测试)-测试说明 |
|
|
运行阶段 |
四个小时 |
部署、运行 |
系统使用说明、运维报告、录制视频 |
3 系统设计
3.1 系统设计
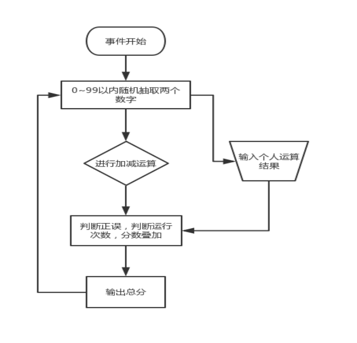
第一题:分析:利用JFrame窗口和JPanel容器函数进行主界面的输出,分别对窗口的大小,窗口内的标题框,答案框,和其中的输出都进行大小的设置,导入Java程序的包。
功能描述:1、当进入“运损测试程序”界面是,根据计算机随机得出的题目,在输入框中输入运算结果。选择“提交”按钮将看到运算出错。正确时界面框中,输出“恭喜,回答正确”。并自行加分。错误时界面框中,输出“抱歉,回答错误”和正确答案。
2、选择“下一题”按钮进入下一题
3、计算机通过if语句判断执行次数是否达到10次,当小于10次是进入下次循环。否则跳入下一步。
4、算出最终分数显示:您的得分是。
5、退出。

第二题:1、进入运行界面“请输入您猜的数:(数字在0-100之间)”
2、随机输入一个数系统提示“太小了,猜大一点”或“太大了,猜小一点”
3、猜中数字“恭喜你猜对了!!”
第一题数据库排序:

4系统测试
第一题测试页面



第二题测试页面


6 结论和心得
心得:数据库的内容不怎么会,没有弄的成功。第二题的代码没有像弄出界面有点失误。
附页:
第二题代码:

第一题代码:


浙公网安备 33010602011771号