第三次博客作业
一.
知识点:
Java语言中类的声明、创建与使用;类的构造方法;成员变量、成员方法的定义与使用方法;
java中引用变量与对象实例之间的关系与区别;
java中方法调用时引用类型参数的传递过程;
java中图形继承 的使用方法;
java中对象组合的方式与方法;
Java中数据排序的实现方式。
题量适中 难度还行 、
二.
掌握类的继承、多态性使用方法以及接口的应用。详见作业指导书 2020-OO第07次作业-1指导书V1.0.pdf
输入格式:
- 首先,在一行上输入一串数字(1~4,整数),其中,1代表圆形卡片,2代表矩形卡片,3代表三角形卡片,4代表梯形卡片。各数字之间以一个或多个空格分隔,以“0”结束。例如:
1 3 4 2 1 3 4 2 1 3 0 - 然后根据第一行数字所代表的卡片图形类型,依次输入各图形的相关参数,例如:圆形卡片需要输入圆的半径,矩形卡片需要输入矩形的宽和长,三角形卡片需要输入三角形的三条边长,梯形需要输入梯形的上底、下底以及高。各数据之间用一个或多个空格分隔。
输出格式:
- 如果图形数量非法(小于0)或图形属性值非法(数值小于0以及三角形三边不能组成三角形),则输出
Wrong Format。 - 如果输入合法,则正常输出,所有数值计算后均保留小数点后两位即可。输出内容如下:
- 排序前的各图形类型及面积,格式为
图形名称1:面积值1图形名称2:面积值2 …图形名称n:面积值n,注意,各图形输出之间用空格分开,且输出最后存在一个用于分隔的空格; - 排序后的各图形类型及面积,格式同排序前的输出;
- 所有图形的面积总和,格式为
Sum of area:总面积值。输入样例1:
在这里给出一组输入。例如:
1 5 3 2 0结尾无空行输出样例1:
在这里给出相应的输出。例如:
Wrong Format结尾无空行输入样例2:
在这里给出一组输入。例如:
4 2 1 3 0 3.2 2.5 0.4 2.3 1.4 5.6 2.3 4.2 3.5结尾无空行输出样例2:
在这里给出相应的输出。例如:
The original list: Trapezoid:1.14 Rectangle:3.22 Circle:98.52 Triangle:4.02 The sorted list: Circle:98.52 Triangle:4.02 Rectangle:3.22 Trapezoid:1.14 Sum of area:106.91结尾无空行输入样例3:
在这里给出一组输入。例如:
4 2 1 3 0 3.2 2.5 0.4 2.3 1.4 5.6 2.3 4.2 8.4结尾无空行输出样例3:
在这里给出相应的输出。例如:
Wrong Format结尾无空行
源代码:
import java.util.*;
class DealCardList{
ArrayList<Card> cardList=new ArrayList<Card>();
public DealCardList()
{
}
public DealCardList(ArrayList<Integer> list)
{ int i;
for(i=0;i<list.size();i++)
{
switch(list.get(i))
{
case 1: cardList.add(new Card(new Circle(Main.input.nextDouble())));
break;
case 2: cardList.add(new Card(new Rectangle(Main.input.nextDouble(),Main.input.nextDouble())));
break;
case 3: cardList.add(new Card(new Triangle(Main.input.nextDouble(),Main.input.nextDouble(),Main.input.nextDouble())));
break;
case 4: cardList.add(new Card(new Trapezoid(Main.input.nextDouble(),Main.input.nextDouble(),Main.input.nextDouble())));
break;
}
}
}
public boolean validate()
{
for(int i =0;i<cardList.size();i++ )
{
if(!cardList.get(i).getShape().validata()) {
return false;
}
}
return true;
}
public void cardSort()
{
Collections.sort(cardList);
}
public void showResult()
{
double a=0;
System.out.print("The original list:\n");
for(int i =0;i < cardList.size();i++) {
System.out.print(String.format(cardList.get(i).getShape().getShapeName()+":"+"%.2f",cardList.get(i).getShape().getArea())+" ");
}
cardSort();
System.out.print("\nThe sorted list:\n");
for(int i =0;i < cardList.size();i++) {
System.out.print(String.format(cardList.get(i).getShape().getShapeName()+":"+"%.2f",cardList.get(i).getShape().getArea())+" ");
a=a+cardList.get(i).getShape().getArea();
}
System.out.println(String.format("\nSum of area:%.2f",a));
}
}
class Circle extends Shape{
double radius;
public Circle(double radius)
{
this.radius=radius;
super.shapeName="Circle";
}
public double getRadius() {
return radius;
}
public void setRadius(double radius) {
this.radius = radius;
}
public double getArea()
{
return Math.PI*radius*radius;
}
public boolean validata()
{
if(radius<=0)
return false;
else
return true;
}
}
class Rectangle extends Shape{
double width;
double length;
public Rectangle()
{
}
public Rectangle(double width,double length)
{
this.width=width;
this.length=length;
super.shapeName="Rectangle";
}
public double getWidth() {
return width;
}
public void setWidth(double width) {
this.width = width;
}
public double getLength() {
return length;
}
public void setLength(double length) {
this.length = length;
}
public double getArea()
{
return length*width;
}
public boolean validata()
{
if(width<=0||length<=0)
return false;
else
return true;
}
}
class Triangle extends Shape{
double side1;
double side2;
double side3;
public Triangle()
{
}
public Triangle(double side1,double side2,double side3)
{
this.side1=side1;
this.side2=side2;
this.side3=side3;
super.shapeName="Triangle";
}
public double getArea()
{
double p=(side1+side2+side3)/2;
return Math.sqrt(p*(p-side1)*(p-side2)*(p-side3));
}
public boolean validata()
{
if(side1+side2<side3||side2+side3<side1||side1+side3<side2)
return false;
else
return true;
}
}
class Trapezoid extends Shape{
double topSide;
double height;
double bottomSide;
public Trapezoid()
{
}
public Trapezoid(double topSide,double bottomSide,double height )
{
this.topSide=topSide;
this.bottomSide=bottomSide;
this.height=height;
super.shapeName="Trapezoid";
}
public double getArea()
{
return height*(topSide+bottomSide)/2;
}
public boolean validata()
{
if(height<=0||topSide<=0||bottomSide<=0)
return false;
else
return true;
}
}
abstract class Shape
{
String shapeName;
public Shape()
{
}
public Shape(String shapeName)
{
this.shapeName=shapeName;
}
public String getShapeName() {
return shapeName;
}
public void setShapeName(String shapeName) {
this.shapeName = shapeName;
}
public double getArea()
{
return 0;
}
public boolean validata()
{
return true;
}
}
class Card implements Comparable<Card>{
Shape shape;
public Card()
{
}
public Card(Shape shape)
{
this.shape=shape;
}
public Shape getShape() {
return shape;
}
public void setShape(Shape shape) {
this.shape = shape;
}
@Override
public int compareTo(Card card)
{
if(this.getShape().getArea() < card.getShape().getArea())
return 1;
else if(this.getShape().getArea() > card.getShape().getArea())
return -1;
return 0;
}
}public class Main {
//在Main类中定义一个静态Scanner对象,这样在其它类中如果想要使用该对象进行输入,则直接
//使用Main.input.next…即可(避免采坑)
public static Scanner input = new Scanner(System.in);
public static void main(String[] args){
ArrayList<Integer> list = new ArrayList<Integer>();
int num = input.nextInt();
while(num != 0){
if(num < 0 || num > 4){
System.out.println("Wrong Format");
System.exit(0);
}
list.add(num);
num = input.nextInt();
}
DealCardList dealCardList = new DealCardList(list);
if(!dealCardList.validate()){
System.out.println("Wrong Format");
System.exit(0);
}
dealCardList.showResult();
input.close();
}
}
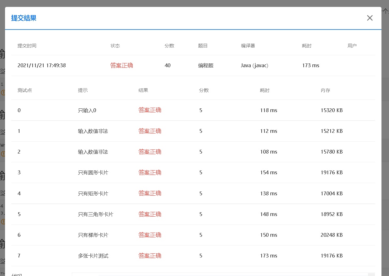
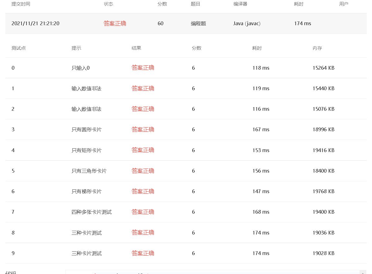
7-2 图形卡片分组游戏 (60 分)掌握类的继承、多态性使用方法以及接口的应用。 具体需求参考作业指导书。
输入格式:
- 在一行上输入一串数字(1~4,整数),其中,1代表圆形卡片,2代表矩形卡片,3代表三角形卡片,4代表梯形卡片。各数字之间以一个或多个空格分隔,以“0”结束。例如:
1 3 4 2 1 3 4 2 1 3 0 - 根据第一行数字所代表的卡片图形类型,依次输入各图形的相关参数,例如:圆形卡片需要输入圆的半径,矩形卡片需要输入矩形的宽和长,三角形卡片需要输入三角形的三条边长,梯形需要输入梯形的上底、下底以及高。各数据之间用一个或多个空格分隔。
输出格式:
- 如果图形数量非法(<=0)或图形属性值非法(数值<0以及三角形三边不能组成三角形),则输出
Wrong Format。 - 如果输入合法,则正常输出,所有数值计算后均保留小数点后两位即可。输出内容如下:
- 排序前的各图形类型及面积,格式为
[图形名称1:面积值1图形名称2:面积值2 …图形名称n:面积值n ],注意,各图形输出之间用空格分开,且输出最后存在一个用于分隔的空格,在结束符“]”之前; - 输出分组后的图形类型及面积,格式为
[圆形分组各图形类型及面积][矩形分组各图形类型及面积][三角形分组各图形类型及面积][梯形分组各图形类型及面积],各组内格式为图形名称:面积值。按照“Circle、Rectangle、Triangle、Trapezoid”的顺序依次输出; - 各组内图形排序后的各图形类型及面积,格式同排序前各组图形的输出;
- 各组中面积之和的最大值输出,格式为
The max area:面积值。
输入样例1:
在这里给出一组输入。例如:
1 5 3 2 0结尾无空行输出样例1:
在这里给出相应的输出。例如:
Wrong Format结尾无空行输入样例2:
在这里给出一组输入。例如:
4 2 1 3 0 3.2 2.5 0.4 2.3 1.4 5.6 2.3 4.2 3.5结尾无空行输出样例2:
在这里给出相应的输出。例如:
The original list: [Trapezoid:1.14 Rectangle:3.22 Circle:98.52 Triangle:4.02 ] The Separated List: [Circle:98.52 ][Rectangle:3.22 ][Triangle:4.02 ][Trapezoid:1.14 ] The Separated sorted List: [Circle:98.52 ][Rectangle:3.22 ][Triangle:4.02 ][Trapezoid:1.14 ] The max area:98.52结尾无空行输入样例3:
在这里给出一组输入。例如:
2 1 2 1 1 3 3 4 4 1 1 1 2 1 0 2.3 3.5 2.5 4.5 2.1 2.6 8.5 3.2 3.1 3.6 8.5 7.5 9.1245 6.5 3.4 10.2 11.2 11.6 15.4 5.8 2.13 6.2011 2.5 6.4 18.65结尾无空行输出样例3:
在这里给出相应的输出。例如:
The original list: [Rectangle:8.05 Circle:19.63 Rectangle:9.45 Circle:21.24 Circle:226.98 Triangle:4.65 Triangle:29.80 Trapezoid:50.49 Trapezoid:175.56 Circle:105.68 Circle:14.25 Circle:120.81 Rectangle:16.00 Circle:1092.72 ] The Separated List: [Circle:19.63 Circle:21.24 Circle:226.98 Circle:105.68 Circle:14.25 Circle:120.81 Circle:1092.72 ][Rectangle:8.05 Rectangle:9.45 Rectangle:16.00 ][Triangle:4.65 Triangle:29.80 ][Trapezoid:50.49 Trapezoid:175.56 ] The Separated sorted List: [Circle:1092.72 Circle:226.98 Circle:120.81 Circle:105.68 Circle:21.24 Circle:19.63 Circle:14.25 ][Rectangle:16.00 Rectangle:9.45 Rectangle:8.05 ][Triangle:29.80 Triangle:4.65 ][Trapezoid:175.56 Trapezoid:50.49 ] The max area:1601.31结尾无空行输入样例4:
在这里给出一组输入。例如:
1 1 3 0 6.5 12.54 3.6 5.3 6.4结尾无空行输出样例4:
在这里给出相应的输出。例如:
The original list: [Circle:132.73 Circle:494.02 Triangle:9.54 ] The Separated List: [Circle:132.73 Circle:494.02 ][][Triangle:9.54 ][] The Separated sorted List: [Circle:494.02 Circle:132.73 ][][Triangle:9.54 ][] The max area:626.75结尾无空行
源代码:
import java.util.*;
class DealCardList{
ArrayList<Card> cardList=new ArrayList<Card>();
ArrayList<Card> a1=new ArrayList<Card>();
ArrayList<Card> a2=new ArrayList<Card>();
ArrayList<Card> a3=new ArrayList<Card>();
ArrayList<Card> a4=new ArrayList<Card>();
public DealCardList()
{
}
public DealCardList(ArrayList<Integer> list)
{int i;
for(i=0;i<list.size();i++)
{
switch(list.get(i))
{
case 1: cardList.add(new Card(new Circle(Main.input.nextDouble())));
break;
case 2: cardList.add(new Card(new Rectangle(Main.input.nextDouble(),Main.input.nextDouble())));
break;
case 3: cardList.add(new Card(new Triangle(Main.input.nextDouble(),Main.input.nextDouble(),Main.input.nextDouble())));
break;
case 4: cardList.add(new Card(new Trapezoid(Main.input.nextDouble(),Main.input.nextDouble(),Main.input.nextDouble())));
break;
}
}
}
public boolean validate()
{
for(int i =0;i<cardList.size();i++ )
{
if(!cardList.get(i).getShape().validata()) {
return false;
}
}
if(cardList.size()<=0)
return false;
return true;
}
public void cardSort()
{
Collections.sort(cardList);
Collections.sort(a1);
Collections.sort(a2);
Collections.sort(a3);
Collections.sort(a4);
}
public void showResult()
{
for(int i=0;i<cardList.size();i++)
{
if(cardList.get(i).getShape().getShapeName()=="Circle")
{
a1.add(cardList.get(i));
}
if(cardList.get(i).getShape().getShapeName()=="Rectangle")
{
a2.add(cardList.get(i));
}
if(cardList.get(i).getShape().getShapeName()=="Triangle")
{
a3.add(cardList.get(i));
}
if(cardList.get(i).getShape().getShapeName()=="Trapezoid")
{
a4.add(cardList.get(i));
}
}
double a=0,b=0,c=0,d=0,e=0;
System.out.print("The original list:\n[");
for(int i =0;i < cardList.size();i++) {
System.out.print(String.format(cardList.get(i).getShape().getShapeName()+":"+"%.2f",cardList.get(i).getShape().getArea())+" ");
}
System.out.print("]\n");
System.out.print("The Separated List:\n");
System.out.print("[");
for(int i =0;i < a1.size();i++) {
System.out.print(String.format(a1.get(i).getShape().getShapeName()+":"+"%.2f",a1.get(i).getShape().getArea())+" ");}
System.out.print("]");
System.out.print("[");
for(int i =0;i < a2.size();i++) {
System.out.print(String.format(a2.get(i).getShape().getShapeName()+":"+"%.2f",a2.get(i).getShape().getArea())+" ");}
System.out.print("]");
System.out.print("[");
for(int i =0;i < a3.size();i++) {
System.out.print(String.format(a3.get(i).getShape().getShapeName()+":"+"%.2f",a3.get(i).getShape().getArea())+" ");}
System.out.print("]");
System.out.print("[");
for(int i =0;i < a4.size();i++) {
System.out.print(String.format(a4.get(i).getShape().getShapeName()+":"+"%.2f",a4.get(i).getShape().getArea())+" ");}
System.out.print("]");
cardSort();
System.out.print("\nThe Separated sorted List:\n");
System.out.print("[");
for(int i =0;i < a1.size();i++) {
a=a+a1.get(i).getShape().getArea();
System.out.print(String.format(a1.get(i).getShape().getShapeName()+":"+"%.2f",a1.get(i).getShape().getArea())+" ");
}
System.out.print("]");
System.out.print("[");
for(int i =0;i < a2.size();i++) {
b=b+a2.get(i).getShape().getArea();
System.out.print(String.format(a2.get(i).getShape().getShapeName()+":"+"%.2f",a2.get(i).getShape().getArea())+" ");}
System.out.print("]");
System.out.print("[");
for(int i =0;i < a3.size();i++) {
c=c+a3.get(i).getShape().getArea();
System.out.print(String.format(a3.get(i).getShape().getShapeName()+":"+"%.2f",a3.get(i).getShape().getArea())+" ");}
System.out.print("]");
System.out.print("[");
for(int i =0;i < a4.size();i++) {
d=d+a4.get(i).getShape().getArea();
System.out.print(String.format(a4.get(i).getShape().getShapeName()+":"+"%.2f",a4.get(i).getShape().getArea())+" ");}
System.out.print("]");
double max1=(a>=b)?a:b;
double max2=(c>=d)?c:d;
double Max;
if(max1>=max2){
Max=max1;
}
else{
Max=max2;
}
System.out.println(String.format("\nThe max area:%.2f",Max));
}
}
class Circle extends Shape{
double radius;
public Circle(double radius)
{
this.radius=radius;
super.shapeName="Circle";
}
public double getRadius() {
return radius;
}
public void setRadius(double radius) {
this.radius = radius;
}
public double getArea()
{
return Math.PI*radius*radius;
}
public boolean validata()
{
if(radius<=0)
return false;
else
return true;
}
}
class Rectangle extends Shape{
double width;
double length;
public Rectangle()
{
}
public Rectangle(double width,double length)
{
this.width=width;
this.length=length;
super.shapeName="Rectangle";
}
public double getWidth() {
return width;
}
public void setWidth(double width) {
this.width = width;
}
public double getLength() {
return length;
}
public void setLength(double length) {
this.length = length;
}
public double getArea()
{
return length*width;
}
public boolean validata()
{
if(width<=0||length<=0)
return false;
else
return true;
}
}
class Triangle extends Shape{
double side1;
double side2;
double side3;
public Triangle()
{
}
public Triangle(double side1,double side2,double side3)
{
this.side1=side1;
this.side2=side2;
this.side3=side3;
super.shapeName="Triangle";
}
public double getArea()
{
double p=(side1+side2+side3)/2;
return Math.sqrt(p*(p-side1)*(p-side2)*(p-side3));
}
public boolean validata()
{
if(side1+side2<side3||side2+side3<side1||side1+side3<side2)
return false;
else
return true;
}
}
class Trapezoid extends Shape{
double topSide;
double height;
double bottomSide;
public Trapezoid()
{
}
public Trapezoid(double topSide,double bottomSide,double height )
{
this.topSide=topSide;
this.bottomSide=bottomSide;
this.height=height;
super.shapeName="Trapezoid";
}
public double getArea()
{
return height*(topSide+bottomSide)/2;
}
public boolean validata()
{
if(height<=0||topSide<=0||bottomSide<=0)
return false;
else
return true;
}
}
abstract class Shape
{
String shapeName;
public Shape()
{
}
public Shape(String shapeName)
{
this.shapeName=shapeName;
}
public String getShapeName() {
return shapeName;
}
public void setShapeName(String shapeName) {
this.shapeName = shapeName;
}
public double getArea()
{
return 0;
}
public boolean validata()
{
return true;
}
}
class Card implements Comparable<Card>{
Shape shape;
public Card()
{
}
public Card(Shape shape)
{
this.shape=shape;
}
public Shape getShape() {
return shape;
}
public void setShape(Shape shape) {
this.shape = shape;
}
@Override
public int compareTo(Card card)
{
if(this.getShape().getArea() < card.getShape().getArea())
return 1;
else if(this.getShape().getArea() > card.getShape().getArea())
return -1;
return 0;
}
}
public class Main {
//在Main类中定义一个静态Scanner对象,这样在其它类中如果想要使用该对象进行输入,则直接
//使用Main.input.next…即可(避免采坑)
public static Scanner input = new Scanner(System.in);
public static void main(String[] args){
ArrayList<Integer> list = new ArrayList<Integer>();
int num = input.nextInt();
while(num != 0){
if(num < 0 || num > 4){
System.out.println("Wrong Format");
System.exit(0);
}
list.add(num);
num = input.nextInt();
}
DealCardList dealCardList = new DealCardList(list);
if(!dealCardList.validate()){
System.out.println("Wrong Format");
System.exit(0);
}
dealCardList.showResult();
input.close();
}
}
![]()
设计ATM仿真系统,具体要求参见作业说明。 OO作业8-1题目说明.pdf
输入格式:
每一行输入一次业务操作,可以输入多行,最终以字符#终止。具体每种业务操作输入格式如下:
- 存款、取款功能输入数据格式:
卡号 密码 ATM机编号 金额(由一个或多个空格分隔), 其中,当金额大于0时,代表取款,否则代表存款。 - 查询余额功能输入数据格式:
卡号
输出格式:
①输入错误处理
- 如果输入卡号不存在,则输出
Sorry,this card does not exist.。 - 如果输入ATM机编号不存在,则输出
Sorry,the ATM's id is wrong.。 - 如果输入银行卡密码错误,则输出
Sorry,your password is wrong.。 - 如果输入取款金额大于账户余额,则输出
Sorry,your account balance is insufficient.。 - 如果检测为跨行存取款,则输出
Sorry,cross-bank withdrawal is not supported.。
②取款业务输出
输出共两行,格式分别为:
[用户姓名]在[银行名称]的[ATM编号]上取款¥[金额]当前余额为¥[金额]其中,[]说明括起来的部分为输出属性或变量,金额均保留两位小数。
③存款业务输出
输出共两行,格式分别为:
[用户姓名]在[银行名称]的[ATM编号]上存款¥[金额]当前余额为¥[金额]其中,[]说明括起来的部分为输出属性或变量,金额均保留两位小数。
④查询余额业务输出
¥[金额]金额保留两位小数。
输入样例1:
在这里给出一组输入。例如:
6222081502001312390 88888888 06 -500.00 #结尾无空行输出样例1:
在这里给出相应的输出。例如:
张无忌在中国工商银行的06号ATM机上存款¥500.00 当前余额为¥10500.00结尾无空行输入样例2:
在这里给出一组输入。例如:
6217000010041315709 88888888 02 3500.00 #结尾无空行输出样例2:
在这里给出相应的输出。例如:
杨过在中国建设银行的02号ATM机上取款¥3500.00 当前余额为¥6500.00结尾无空行输入样例3:
在这里给出一组输入。例如:
6217000010041315715 #结尾无空行输出样例3:
在这里给出相应的输出。例如:
¥10000.00结尾无空行输入样例4:
在这里给出一组输入。例如:
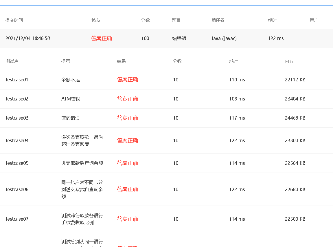
6222081502001312390 88888888 06 -500.00 6222081502051320786 88888888 06 1200.00 6217000010041315715 88888888 02 1500.00 6217000010041315709 88888888 02 3500.00 6217000010041315715 #结尾无空行输出样例4:
在这里给出相应的输出。例如:
张无忌在中国工商银行的06号ATM机上存款¥500.00 当前余额为¥10500.00 韦小宝在中国工商银行的06号ATM机上取款¥1200.00 当前余额为¥8800.00 杨过在中国建设银行的02号ATM机上取款¥1500.00 当前余额为¥8500.00 杨过在中国建设银行的02号ATM机上取款¥3500.00 当前余额为¥5000.00 ¥5000.00![]()
import java.util.ArrayList;
import java.util.Scanner;
public class Main {
public static void main(String[] args) {
// TODO 自动生成的方法存根
Scanner in = new Scanner(System.in);
// System.out.printf("www");
UnionPay unionPay = Initialize();
String line;
StringBuffer sb = new StringBuffer();
while (true) {
line = in.nextLine();
if ("#".equals(line)) {
break;
}
sb.append(line.trim() + " # ");
}
String[] str = sb.toString().trim().split("\\s+");
int i = 0;
while (i <= str.length - 2) {
if ("#".equals(str[i + 1].trim())) {
if (!unionPay.translate(str[i])) {
break;
}
i += 2;
} else {
if (!unionPay.translate(str[i], str[i + 1], str[i + 2], Double.parseDouble(str[i + 3]))) {
break;
}
i += 5;
}
}
}
static UnionPay Initialize() {
// 基础数据的初始化----------------------------------------------------
UnionPay unionPay = new UnionPay("中国银联");
Bank bank1 = new Bank("中国建设银行");
Bank bank2 = new Bank("中国工商银行");
ArrayList<Bank> Banks = new ArrayList<>();
Banks.add(bank1);
Banks.add(bank2);
unionPay.setBanks(Banks);
ATM ATM1 = new ATM("01");
ATM ATM2 = new ATM("02");
ATM ATM3 = new ATM("03");
ATM ATM4 = new ATM("04");
ATM ATM5 = new ATM("05");
ATM ATM6 = new ATM("06");
ArrayList<ATM> ATMs1 = new ArrayList<>();
ArrayList<ATM> ATMs2 = new ArrayList<>();
ATMs1.add(ATM1);
ATMs1.add(ATM2);
ATMs1.add(ATM3);
ATMs1.add(ATM4);
ATMs2.add(ATM5);
ATMs2.add(ATM6);
bank1.setATMs(ATMs1);
bank2.setATMs(ATMs2);
User User1 = new User("杨过");
User User2 = new User("郭靖");
User User3 = new User("张无忌");
User User4 = new User("韦小宝");
Account Account1 = new Account("3217000010041315709");
Account Account2 = new Account("3217000010041315715");
Account Account3 = new Account("3217000010051320007");
Account Account4 = new Account("3222081502001312389");
Account Account5 = new Account("3222081502001312390");
Account Account6 = new Account("3222081502001312399");
Account Account7 = new Account("3222081502051320785");
Account Account8 = new Account("3222081502051320786");
Card card1 = new Card("6217000010041315709");
Card card2 = new Card("6217000010041315715");
Card card3 = new Card("6217000010041315718");
Card card4 = new Card("6217000010051320007");
Card card5 = new Card("6222081502001312389");
Card card6 = new Card("6222081502001312390");
Card card7 = new Card("6222081502001312399");
Card card8 = new Card("6222081502001312400");
Card card9 = new Card("6222081502051320785");
Card card10 = new Card("6222081502051320786");
ArrayList<Card> Cards1 = new ArrayList<Card>();
ArrayList<Card> Cards2 = new ArrayList<Card>();
ArrayList<Card> Cards3 = new ArrayList<Card>();
ArrayList<Card> Cards4 = new ArrayList<Card>();
ArrayList<Card> Cards5 = new ArrayList<Card>();
ArrayList<Card> Cards6 = new ArrayList<Card>();
ArrayList<Card> Cards7 = new ArrayList<Card>();
ArrayList<Card> Cards8 = new ArrayList<Card>();
Cards1.add(card1);
Cards1.add(card2);
Cards2.add(card3);
Cards3.add(card4);
Cards4.add(card5);
Cards5.add(card6);
Cards6.add(card7);
Cards6.add(card8);
Cards7.add(card9);
Cards8.add(card10);
Account1.setCards(Cards1);
Account2.setCards(Cards2);
Account3.setCards(Cards3);
Account4.setCards(Cards4);
Account5.setCards(Cards5);
Account6.setCards(Cards6);
Account7.setCards(Cards7);
Account8.setCards(Cards8);
ArrayList<Account> Accounts1 = new ArrayList<Account>();
ArrayList<Account> Accounts2 = new ArrayList<Account>();
ArrayList<Account> Accounts3 = new ArrayList<Account>();
ArrayList<Account> Accounts4 = new ArrayList<Account>();
Accounts1.add(Account1);
Accounts1.add(Account2);
Accounts2.add(Account3);
Accounts3.add(Account4);
Accounts3.add(Account5);
Accounts3.add(Account6);
Accounts4.add(Account7);
Accounts4.add(Account8);
User1.setAccounts(Accounts1);
User2.setAccounts(Accounts2);
User3.setAccounts(Accounts3);
User4.setAccounts(Accounts4);
ArrayList<User> Users1 = new ArrayList<User>();
ArrayList<User> Users2 = new ArrayList<User>();
Users1.add(User1);
Users1.add(User2);
Users2.add(User3);
Users2.add(User4);
bank1.setUser(Users1);
bank2.setUser(Users2);
// 基础数据的初始化----------------------------------------------------
return unionPay;
}
}
class UnionPay {
private String UnionPayName;
private ArrayList<Bank> Banks = new ArrayList<>();
public UnionPay() {
super();
}
public UnionPay(String unionPayName) {
super();
this.UnionPayName = unionPayName;
}
public boolean translate(String cardID) {
Bank bank = this.wherehasCard(cardID);
// 卡号不存在
if (bank == null) {
System.out.println("Sorry,this card does not exist.");
return false;
}
Account Account = bank.getAccount(cardID);
System.out.printf("¥%.2f\n", Account.getBalance());
return true;
}
public boolean translate(String cardID, String password, String ATMID, double money) {
Bank bank = this.wherehasCard(cardID);
// 卡号不存在
if (bank == null) {
System.out.println("Sorry,this card does not exist.");
return false;
}
// ATM编号不存在
if ("".equals(this.whereisATM(ATMID))) {
System.out.println("Sorry,the ATM's id is wrong.");
return false;
}
// ATM和卡不在同一家银行
if (!bank.hasATM(ATMID)) {
System.out.println("Sorry,cross-bank withdrawal is not supported.");
return false;
}
User User = bank.getUser(cardID);
Account Account = bank.getAccount(cardID);
// 密码错误
if (!Account.comfirmCardPassword(cardID, password)) {
System.out.println("Sorry,your password is wrong.");
return false;
}
// 取款金额大于余额
if (money > 0 && money > Account.getBalance()) {
System.out.println("Sorry,your account balance is insufficient.");
return false;
}
// 取款
if (money > 0) {
Account.withDraw(money);
System.out.printf("%s在%s的%s号ATM机上取款¥%.2f\n", User.getUserName(), bank.getBankName(), ATMID, money);
System.out.printf("当前余额为¥%.2f\n", Account.getBalance());
} else {
Account.deposit(-money);
System.out.printf("%s在%s的%s号ATM机上存款¥%.2f\n", User.getUserName(), bank.getBankName(), ATMID, -money);
System.out.printf("当前余额为¥%.2f\n", Account.getBalance());
}
return true;
}
private Bank wherehasCard(String cardID) {
for (Bank Bank : Banks) {
if (Bank.hasCard(cardID)) {
return Bank;
}
}
return null;
}
public String whereisATM(String ATMID) {
for (Bank Bank : Banks) {
if (Bank.hasATM(ATMID)) {
return Bank.getBankName();
}
}
return "";
}
public String getUnionPayName() {
return UnionPayName;
}
public void setUnionPayName(String unionPayName) {
UnionPayName = unionPayName;
}
public ArrayList<Bank> getBanks() {
return Banks;
}
public void setBanks(ArrayList<Bank> banks) {
Banks = banks;
}
}
class Bank {
private String BankName;
private String BankID;
private ArrayList<ATM> ATMs = new ArrayList<>();
private ArrayList<User> Users = new ArrayList<>();
public Bank() {
super();
}
public Bank(String bankName) {
super();
BankName = bankName;
}
public boolean hasCard(String cardID) {
for (User User : Users) {
if (User.hasCard(cardID)) {
return true;
}
}
return false;
}
public boolean hasATM(String ATMID) {
for (ATM ATM : ATMs) {
if (ATMID.equals(ATM.getATMID())) {
return true;
}
}
return false;
}
public Account getAccount(String CardID) {
for (User User : Users) {
if (User.hasCard(CardID)) {
return User.getCardAccount(CardID);
}
}
return null;
}
public User getUser(String CardID) {
for (User User : Users) {
if (User.hasCard(CardID)) {
return User;
}
}
return null;
}
public String getBankName() {
return BankName;
}
public void setBankName(String bankName) {
BankName = bankName;
}
public ArrayList<ATM> getATMs() {
return ATMs;
}
public void setATMs(ArrayList<ATM> aTMs) {
ATMs = aTMs;
}
public ArrayList<User> getUser() {
return Users;
}
public void setUser(ArrayList<User> user) {
Users = user;
}
}
class User {
private String userName;
private ArrayList<Account> Accounts;
public User() {
super();
}
public User(String userName) {
super();
this.userName = userName;
}
public User(String userName, ArrayList<Account> accounts) {
super();
this.userName = userName;
Accounts = accounts;
}
public boolean hasCard(String CardID) {
for (Account Account : Accounts) {
if (Account.hasCard(CardID)) {
return true;
}
}
return false;
}
public Account getCardAccount(String CardID) {
for (Account Account : Accounts) {
if (Account.hasCard(CardID)) {
return Account;
}
}
return null;
}
public String getUserName() {
return userName;
}
public void setUserName(String userName) {
this.userName = userName;
}
public ArrayList<Account> getAccounts() {
return Accounts;
}
public void setAccounts(ArrayList<Account> accounts) {
Accounts = accounts;
}
}
class Account {
private String accountID;
private double balance = 10000;
private ArrayList<Card> Cards;
Account() {
balance = 0;
}
public Account(String accountID) {
super();
this.accountID = accountID;
}
Account(String accountID, double balance) {
this.accountID = accountID;
this.balance = balance;
}
public boolean hasCard(String CardID) {
for (Card Card : Cards) {
if (CardID.equals(Card.getCardID())) {
return true;
}
}
return false;
}
public boolean comfirmCardPassword(String CardID, String password) {
for (Card Card : Cards) {
if (CardID.equals(Card.getCardID()) && password.equals(Card.getPassword())) {
return true;
}
}
return false;
}
void withDraw(double money) {
if (money < 0 || money > balance) {
System.out.println("WithDraw Amount Wrong");
} else {
balance -= money;
}
}
void deposit(double money) {
if (money < 0 || money > 20000) {
System.out.println("Deposit Amount Wrong");
} else {
balance += money;
}
}
public String getAccountID() {
return accountID;
}
public void setAccountID(String accountID) {
this.accountID = accountID;
}
public ArrayList<Card> getCards() {
return Cards;
}
public void setCards(ArrayList<Card> cards) {
Cards = cards;
}
public double getBalance() {
return balance;
}
public void setBalance(double balance) {
this.balance = balance;
}
}
class Card {
private String cardID;
private String password = "88888888";
public Card() {
super();
}
public Card(String cardID) {
super();
this.cardID = cardID;
}
public String getCardID() {
return cardID;
}
public void setCardID(String cardID) {
this.cardID = cardID;
}
public String getPassword() {
return password;
}
public void setPassword(String password) {
this.password = password;
}
}
class ATM {
String ATMID;
public ATM() {
super();
}
public ATM(String aTMID) {
super();
ATMID = aTMID;
}
public String getATMID() {
return ATMID;
}
public void setATMID(String aTMID) {
ATMID = aTMID;
}
}
![]()
设计ATM仿真系统,具体要求参见作业说明。 OO作业9-1题目说明.pdf
输入格式:
每一行输入一次业务操作,可以输入多行,最终以字符#终止。具体每种业务操作输入格式如下:
- 取款功能输入数据格式:
卡号 密码 ATM机编号 金额(由一个或多个空格分隔) - 查询余额功能输入数据格式:
卡号
输出格式:
①输入错误处理
- 如果输入卡号不存在,则输出
Sorry,this card does not exist.。 - 如果输入ATM机编号不存在,则输出
Sorry,the ATM's id is wrong.。 - 如果输入银行卡密码错误,则输出
Sorry,your password is wrong.。 - 如果输入取款金额大于账户余额,则输出
Sorry,your account balance is insufficient.。
②取款业务输出
输出共两行,格式分别为:
业务:取款 [用户姓名]在[银行名称]的[ATM编号]上取款¥[金额]当前余额为¥[金额]其中,[]说明括起来的部分为输出属性或变量,金额均保留两位小数。
③查询余额业务输出
业务:查询余额 ¥[金额]金额保留两位小数。
输入样例1:
在这里给出一组输入。例如:
6222081502001312390 88888888 06 500.00 #结尾无空行输出样例1:
在这里给出相应的输出。例如:
业务:取款 张无忌在中国工商银行的06号ATM机上取款¥500.00 当前余额为¥9500.00结尾无空行输入样例2:
在这里给出一组输入。例如:
6217000010041315709 88888888 06 3500.00 #结尾无空行输出样例2:
在这里给出相应的输出。例如:
业务:取款 杨过在中国工商银行的06号ATM机上取款¥3500.00 当前余额为¥6395.00结尾无空行输入样例3:
在这里给出一组输入。例如:
6217000010041315715 #结尾无空行输出样例3:
在这里给出相应的输出。例如:
业务:查询余额 ¥10000.00结尾无空行输入样例4:
在这里给出一组输入。例如:
6222081502001312390 88888888 01 500.00 6222081502051320786 88888888 06 1200.00 6217000010041315715 88888888 02 1500.00 6217000010041315709 88888888 02 3500.00 6217000010041315715 #结尾无空行输出样例4:
在这里给出相应的输出。例如:
业务:取款 张无忌在中国建设银行的01号ATM机上取款¥500.00 当前余额为¥9490.00 业务:取款 韦小宝在中国工商银行的06号ATM机上取款¥1200.00 当前余额为¥8800.00 业务:取款 杨过在中国建设银行的02号ATM机上取款¥1500.00 当前余额为¥8500.00 业务:取款 杨过在中国建设银行的02号ATM机上取款¥3500.00 当前余额为¥5000.00 业务:查询余额 ¥5000.00结尾无空行输入样例5:
在这里给出一组输入。例如:
6640000010045442002 88888888 09 3000 6640000010045442002 88888888 06 8000 6640000010045442003 88888888 01 10000 6640000010045442002 #结尾无空行输出样例5:
在这里给出相应的输出。例如:
业务:取款 张三丰在中国农业银行的09号ATM机上取款¥3000.00 当前余额为¥6880.00 业务:取款 张三丰在中国工商银行的06号ATM机上取款¥8000.00 当前余额为¥-1416.00 业务:取款 张三丰在中国建设银行的01号ATM机上取款¥10000.00 当前余额为¥-11916.00 业务:查询余额 ¥-11916.00![]()
源代码:
import java.util.*;
public class Main {
public static Scanner input = new Scanner(System.in);
public static void main(String[] args)
{
StringBuilder a = new StringBuilder();
String str = new String(input.nextLine());
while(!str.equals("#"))
{
a.append(str).append("\n");
str = input.nextLine();
}
operate s = new operate(a);
s.caozuo();
}
}
class Card{ //卡类
String cardNumber;
String password;
Account account;
Bank bank;
public Card()
{
}
public Card(String cardNumber,String password,Account account,Bank bank)
{
this.cardNumber=cardNumber;
this.password=password;
this.account=account;
this.bank=bank;
}
public String getPassword() {
return password;
}
public void setPassword(String password) {
this.password = password;
}
public String getCardNumber() {
return cardNumber;
}
public void setCardNumber(String cardNumber) {
this.cardNumber = cardNumber;
}
public Account getAccount() {
return account;
}
public void setAccount(Account account) {
this.account = account;
}
public Bank getBank() {
return bank;
}
public void setBank(Bank bank) {
this.bank = bank;
}
}
class Account{ //账户类
String accountName;
String accountNumber;
double money;
public Account() {
}
public Account(String accountName,String accountNumber,double money)
{this.money=money;
this.accountName=accountName;
this.accountNumber=accountNumber;
}
public String getAccountName() {
return accountName;
}
public void setAccountName(String accountName) {
this.accountName = accountName;
}
public String getAccountNumber() {
return accountNumber;
}
public void setAccountNumber(String accountNumber) {
this.accountNumber = accountNumber;
}
public double getMoney() {
return money;
}
public void setMoney(double money) {
this.money = money;
}
}
class Bank{ //银行类
String bankName;
String[] atm;
double fei;
public Bank()
{
}
public double getFei() {
return fei;
}
public void setFei(double fei) {
this.fei = fei;
}
public Bank(String bankName,String[] atm,double fei)
{
this.bankName=bankName;
this.atm=atm;
this.fei = fei;
}
public String getBankName() {
return bankName;
}
public void setBankName(String bankName) {
this.bankName = bankName;
}
public String[] getAtm() {
return atm;
}
public void setAtm(String[] atm) {
this.atm = atm;
}
}
class operate{ //操作类
StringBuilder a;
ArrayList<Account> accountList;
String[] atm1 = {"01","02","03","04"};
double fei1=0.02;
Bank jsyh = new Bank("中国建设银行", atm1,fei1);
String[] atm2 = {"05","06"};
double fei2=0.03;
Bank gsyh = new Bank("中国工商银行", atm2,fei2);
String[] atm3 = {"07","08","09","10","11"};
double fei3=0.04;
Bank nyyh = new Bank("中国农业银行", atm3,fei3);
Account yang1=new Account("杨过","3217000010041315709",10000);
Account yang2=new Account("杨过","3217000010041315715",10000);
Account guo1=new Account("郭靖","3217000010051320007",10000);
Account zhang1=new Account("张无忌","3222081502001312389",10000);
Account zhang2=new Account("张无忌","3222081502001312390",10000);
Account zhang3=new Account("张无忌","3222081502001312399",10000);
Account wei1=new Account("韦小宝","322208150205132785",10000);
Account wei2=new Account("韦小宝","322208150205132786",10000);
Account zsf1=new Account("张三丰","3640000010045442002",10000);
Account ling1=new Account("令狐冲","3640000010045441009",10000);
Account qiao1=new Account("乔峰","3630000010033431001",10000);
Account hong1=new Account("洪七公","3630000010033431008",10000);
Card card1=new Card("6217000010041315709","88888888",yang1,jsyh);
Card card2=new Card("6217000010041315715","88888888",yang1,jsyh);
Card card3=new Card("6217000010041315718","88888888",yang2,jsyh);
Card card4=new Card("6217000010051320007","88888888",guo1,jsyh);
Card card5=new Card("6222081502001312389","88888888",zhang1,gsyh);
Card card6=new Card("6222081502001312390","88888888",zhang1,gsyh);
Card card7=new Card("6222081502001312399","88888888",zhang2,gsyh);
Card card8=new Card("6222081502001312400","88888888",zhang2,gsyh);
Card card9=new Card("6222081502051320785","88888888",wei1,gsyh);
Card card10=new Card("6222081502051320786","88888888",wei2,gsyh);
Card card11=new Card("6640000010045442002","88888888",zsf1,jsyh);
Card card12=new Card("6640000010045442003","88888888",zsf1,jsyh);
Card card13=new Card("6640000010045441009","88888888",ling1,gsyh);
Card card14=new Card("6630000010033431001","88888888",qiao1,nyyh);
Card card15=new Card("6630000010033431008","88888888",hong1,nyyh);
Card[] cardlist= {card1,card2,card3,card4,card5,card6,card7,card8,card9,card10,card11,card12,card13,card14,card15};
public operate(StringBuilder a) {
this.a = a;
}
public void caozuo()
{
String s = a.toString();
String[] str2 = s.split("\n");
for(int i = 0;i < str2.length;i++)
{
int m=-1;
String[] str1=str2[i].split(" +");
if(str1.length==1)
{
for(int k=0;k<15;k++)
{
if(cardlist[k].getCardNumber().equals(str1[0]))
{
m=k;
}
}
System.out.print("业务:查询余额 ¥"+ String.format("%.2f",cardlist[m].getAccount().getMoney()));
continue;
}
else {
for(int k=0;k<15;k++)
{
if(cardlist[k].getCardNumber().equals(str1[0]))
{
m=k;
}
}
//检查卡号是否错误
if(m==-1)
{
System.out.print("Sorry,this card does not exist.");
return;
}
//检查密码是否错误
if(!cardlist[m].getPassword().equals(str1[1]))
{
System.out.print("Sorry,your password is wrong.");
return;
}
//检查atm 是否正7
double l=0;
String y;
if(str1[2].equals("01")||str1[2].equals("02")||str1[2].equals("03")||str1[2].equals("04"))
{
l=0.02;
y="中国建设银行";
}
else if(str1[2].equals("05")||str1[2].equals("06"))
{
l=0.03;
y="中国工商银行";
}
else if(str1[2].equals("07")||str1[2].equals("08")||str1[2].equals("09")||str1[2].equals("10")||str1[2].equals("11"))
{
l=0.04;
y="中国农业银行";
}
else {
System.out.print("Sorry,the ATM's id is wrong.");
return;
}
//检查是否跨行
int z=-1;
for(int j=0;j<cardlist[m].getBank().getAtm().length;j++)
{
if(cardlist[m].getBank().getAtm()[j].equals(str1[2]))
{
z=1; //z=1没跨行
}
}
if(z==-1) //跨行操作
{
if(cardlist[m].getAccount().getMoney()<Double.parseDouble(str1[3])&&m>9&&cardlist[m].getAccount().getMoney()>0) //跨行透支卡操作 且有余额
{
if(Double.parseDouble(str1[3])<0) //跨行透支卡存款 且有余额
{
cardlist[m].getAccount().setMoney(cardlist[m].getAccount().getMoney()-Double.parseDouble(str1[3])+Double.parseDouble(str1[3])*l);
}
else if(Double.parseDouble(str1[3])>0) //跨行透支卡取款 且有余额
{
cardlist[m].getAccount().setMoney(cardlist[m].getAccount().getMoney()-(Double.parseDouble(str1[3])+Double.parseDouble(str1[3])*l-(cardlist[m].getAccount().getMoney()-Double.parseDouble(str1[3]))*0.05));
}
}
else if(cardlist[m].getAccount().getMoney()<=0&&m>9) //跨行透支卡操作 且无余额
{
if(Double.parseDouble(str1[3])<0) //跨行透支卡存款 且无余额
{
cardlist[m].getAccount().setMoney(cardlist[m].getAccount().getMoney()-(Double.parseDouble(str1[3])-Double.parseDouble(str1[3])*l));
}
else if(Double.parseDouble(str1[3])>0) //跨行透支卡取款 且无余额
{
cardlist[m].getAccount().setMoney(cardlist[m].getAccount().getMoney()-(Double.parseDouble(str1[3])+Double.parseDouble(str1[3])*l+Double.parseDouble(str1[3])*0.05));
}
}
else
{
if(Double.parseDouble(str1[3])<0) //跨行普通卡存款
{
cardlist[m].getAccount().setMoney(cardlist[m].getAccount().getMoney()-(Double.parseDouble(str1[3])-Double.parseDouble(str1[3])*l));
}
else if(Double.parseDouble(str1[3])>0) //跨行普通卡取款
{
cardlist[m].getAccount().setMoney(cardlist[m].getAccount().getMoney()-(Double.parseDouble(str1[3])+Double.parseDouble(str1[3])*l));
}
}
}
else if(z==1) //没跨行
{
if(cardlist[m].getAccount().getMoney()<Double.parseDouble(str1[3])&&m>9&&cardlist[m].getAccount().getMoney()>0) //没跨行透支卡操作 且有余额
{
if(Double.parseDouble(str1[3])<0) //没跨行透支卡存款 且有余额
{
cardlist[m].getAccount().setMoney(cardlist[m].getAccount().getMoney()-Double.parseDouble(str1[3]));
}
else if(Double.parseDouble(str1[3])>0) //没跨行透支卡取款 且有余额
{
cardlist[m].getAccount().setMoney(cardlist[m].getAccount().getMoney()-(Double.parseDouble(str1[3])-(cardlist[m].getAccount().getMoney()-Double.parseDouble(str1[3]))*0.05));
}
}
else if(cardlist[m].getAccount().getMoney()<=0&&m>9) //没跨行透支卡操作 且负余额
{
if(Double.parseDouble(str1[3])<0) //没跨行透支卡存款 且负余额
{
cardlist[m].getAccount().setMoney(cardlist[m].getAccount().getMoney()-Double.parseDouble(str1[3]));
}
else if(Double.parseDouble(str1[3])>0) //没跨行透支卡取款 且负余额
{
cardlist[m].getAccount().setMoney(cardlist[m].getAccount().getMoney()-(Double.parseDouble(str1[3])+Double.parseDouble(str1[3])*0.05));
}
}
else
{
if(Double.parseDouble(str1[3])<0) //没跨行普通卡存款
{
cardlist[m].getAccount().setMoney(cardlist[m].getAccount().getMoney()-Double.parseDouble(str1[3]));
}
else if(Double.parseDouble(str1[3])>0) //没跨行普通卡取款
{
cardlist[m].getAccount().setMoney(cardlist[m].getAccount().getMoney()-Double.parseDouble(str1[3]));
}
}
}
//检查是否余额不够
if(m<10)
{
if(cardlist[m].getAccount().getMoney()<0)
{
System.out.print("Sorry,your account balance is insufficient.");
return ;
}
}
else if(m>=10)
{
if(cardlist[m].getAccount().getMoney()<-50000)
{
System.out.print("Sorry,your account balance is insufficient.");
return ;
}
}
if(z==-1) //跨行操作
{
if(cardlist[m].getAccount().getMoney()<Double.parseDouble(str1[3])&&m>9&&cardlist[m].getAccount().getMoney()>0) //跨行透支卡操作 且有余额
{
if(Double.parseDouble(str1[3])<0) //跨行透支卡存款 且有余额
{
System.out.println("业务:存款 "+cardlist[m].getAccount().getAccountName()+"在"+y+"的"+str1[2]+"号ATM机上存款"+"¥"+String.format("%.2f",Math.abs(Double.parseDouble(str1[3]))));
System.out.println("当前余额为¥" + String.format("%.2f", cardlist[m].getAccount().getMoney()));
}
else if(Double.parseDouble(str1[3])>0) //跨行透支卡取款 且有余额
{
System.out.println("业务:取款 "+cardlist[m].getAccount().getAccountName()+"在"+y+"的"+str1[2]+"号ATM机上取款"+"¥"+ String.format("%.2f",Math.abs(Double.parseDouble(str1[3]))));
System.out.println("当前余额为¥" + String.format("%.2f", cardlist[m].getAccount().getMoney()));
}
}
else if(cardlist[m].getAccount().getMoney()<0&&m>9) //跨行透支卡操作 且无余额
{
if(Double.parseDouble(str1[3])<0) //跨行透支卡存款 且无余额
{
System.out.println("业务:存款 "+cardlist[m].getAccount().getAccountName()+"在"+y+"的"+str1[2]+"号ATM机上存款"+"¥"+String.format("%.2f",Math.abs(Double.parseDouble(str1[3]))));
System.out.println("当前余额为¥" + String.format("%.2f", cardlist[m].getAccount().getMoney()));
}
else if(Double.parseDouble(str1[3])>0) //跨行透支卡取款 且无余额
{
System.out.println("业务:取款 "+cardlist[m].getAccount().getAccountName()+"在"+y+"的"+str1[2]+"号ATM机上取款"+"¥"+ String.format("%.2f",Math.abs(Double.parseDouble(str1[3]))));
System.out.println("当前余额为¥" + String.format("%.2f", cardlist[m].getAccount().getMoney()));
}
}
else
{
if(Double.parseDouble(str1[3])<0) //跨行普通卡存款
{
System.out.println("业务:存款 "+cardlist[m].getAccount().getAccountName()+"在"+y+"的"+str1[2]+"号ATM机上存款"+"¥"+String.format("%.2f",Math.abs(Double.parseDouble(str1[3]))));
System.out.println("当前余额为¥" + String.format("%.2f", cardlist[m].getAccount().getMoney()));
}
else if(Double.parseDouble(str1[3])>0) //跨行普通卡取款
{
System.out.println("业务:取款 "+cardlist[m].getAccount().getAccountName()+"在"+y+"的"+str1[2]+"号ATM机上取款"+"¥"+ String.format("%.2f",Math.abs(Double.parseDouble(str1[3]))));
System.out.println("当前余额为¥" + String.format("%.2f", cardlist[m].getAccount().getMoney()));
}
}
}
else if(z==1) //没跨行
{
if(cardlist[m].getAccount().getMoney()<Double.parseDouble(str1[3])&&m>9&&cardlist[m].getAccount().getMoney()>0) //没跨行透支卡操作 且有余额
{
if(Double.parseDouble(str1[3])<0) //没跨行透支卡存款 且有余额
{
System.out.println("业务:存款 "+cardlist[m].getAccount().getAccountName()+"在"+y+"的"+str1[2]+"号ATM机上存款"+"¥"+String.format("%.2f",Math.abs(Double.parseDouble(str1[3]))));
System.out.println("当前余额为¥" + String.format("%.2f", cardlist[m].getAccount().getMoney()));
}
else if(Double.parseDouble(str1[3])>0) //没跨行透支卡取款 且有余额
{
System.out.println("业务:取款 "+cardlist[m].getAccount().getAccountName()+"在"+y+"的"+str1[2]+"号ATM机上取款"+"¥"+ String.format("%.2f",Math.abs(Double.parseDouble(str1[3]))));
System.out.println("当前余额为¥" + String.format("%.2f", cardlist[m].getAccount().getMoney()));
}
}
else if(cardlist[m].getAccount().getMoney()<0&&m>9) //没跨行透支卡操作 且负余额
{
if(Double.parseDouble(str1[3])<0) //没跨行透支卡存款 且负余额
{
System.out.println("业务:存款 "+cardlist[m].getAccount().getAccountName()+"在"+y+"的"+str1[2]+"号ATM机上存款"+"¥"+String.format("%.2f",Math.abs(Double.parseDouble(str1[3]))));
System.out.println("当前余额为¥" + String.format("%.2f", cardlist[m].getAccount().getMoney()));
}
else if(Double.parseDouble(str1[3])>0) //没跨行透支卡取款 且负余额
{
System.out.println("业务:取款 "+cardlist[m].getAccount().getAccountName()+"在"+y+"的"+str1[2]+"号ATM机上取款"+"¥"+ String.format("%.2f",Math.abs(Double.parseDouble(str1[3]))));
System.out.println("当前余额为¥" + String.format("%.2f", cardlist[m].getAccount().getMoney()));
}
}
else
{
if(Double.parseDouble(str1[3])<0) //没跨行普通卡存款
{
System.out.println("业务:存款 "+cardlist[m].getAccount().getAccountName()+"在"+cardlist[m].getBank().getBankName()+"的"+str1[2]+"号ATM机上存款"+"¥"+String.format("%.2f",Math.abs(Double.parseDouble(str1[3]))));
System.out.println("当前余额为¥" + String.format("%.2f", cardlist[m].getAccount().getMoney()));
}
else if(Double.parseDouble(str1[3])>0) //没跨行普通卡取款
{
System.out.println("业务:取款 "+cardlist[m].getAccount().getAccountName()+"在"+cardlist[m].getBank().getBankName()+"的"+str1[2]+"号ATM机上取款"+"¥"+ String.format("%.2f",Math.abs(Double.parseDouble(str1[3]))));
System.out.println("当前余额为¥" + String.format("%.2f", cardlist[m].getAccount().getMoney()));
}
}
}
}
}
}
public StringBuilder getA() {
return a;
}
public void setA(StringBuilder a) {
this.a = a;
}
}
![]()
三.踩坑心得和改进建议
在写atm题目时 当时很多错误,比如数据没存好,然后存好数据了,却发现方式没对 就对了一个输入错误的点,输入什么数据都是显示错误,经过多次修改才解决了问题
原因是类里面写错了 导致输入进去的数据都被判断错误;
在写atm题目二时 想着在atm1作业代码的基础上去增加一些功能 第一次写好的时候最对了一个点没考虑跨行利息 还有透支取款原来有钱透支后欠钱的各种情况,都没考虑清楚
后面经过一点点修改 改到了八十分样例都是对的 经过好久才发现数据有一个没传进去 以后还是得仔细
总结
提升的主要方面:类的继承、多态性使用方法以及接口的应用、类的封装性、类间关系设计,完善了类设计的思想,越来越偏向于高复用性的代码设计,也会在其中不断优化自己的设计思路,使得其愈发简洁清晰.
- 在一行上输入一串数字(1~4,整数),其中,1代表圆形卡片,2代表矩形卡片,3代表三角形卡片,4代表梯形卡片。各数字之间以一个或多个空格分隔,以“0”结束。例如:
- 所有图形的面积总和,格式为
import java.util.*; class DealCardList{ ArrayList<Card> cardList=new ArrayList<Card>(); ArrayList<Card> a1=new ArrayList<Card>(); ArrayList<Card> a2=new ArrayList<Card>(); ArrayList<Card> a3=new ArrayList<Card>(); ArrayList<Card> a4=new ArrayList<Card>();public DealCardList(){ }public DealCardList(ArrayList<Integer> list){int i;for(i=0;i<list.size();i++){switch(list.get(i)){case 1: cardList.add(new Card(new Circle(Main.input.nextDouble())));break;case 2: cardList.add(new Card(new Rectangle(Main.input.nextDouble(),Main.input.nextDouble())));break;case 3: cardList.add(new Card(new Triangle(Main.input.nextDouble(),Main.input.nextDouble(),Main.input.nextDouble())));break;case 4: cardList.add(new Card(new Trapezoid(Main.input.nextDouble(),Main.input.nextDouble(),Main.input.nextDouble())));break;}}}public boolean validate(){for(int i =0;i<cardList.size();i++ ){if(!cardList.get(i).getShape().validata()) {return false;}} if(cardList.size()<=0) return false;return true;}public void cardSort(){Collections.sort(cardList);Collections.sort(a1);Collections.sort(a2);Collections.sort(a3);Collections.sort(a4);}public void showResult(){for(int i=0;i<cardList.size();i++){if(cardList.get(i).getShape().getShapeName()=="Circle"){a1.add(cardList.get(i));}if(cardList.get(i).getShape().getShapeName()=="Rectangle"){a2.add(cardList.get(i));}if(cardList.get(i).getShape().getShapeName()=="Triangle"){a3.add(cardList.get(i));}if(cardList.get(i).getShape().getShapeName()=="Trapezoid"){a4.add(cardList.get(i));}}double a=0,b=0,c=0,d=0,e=0;System.out.print("The original list:\n[");for(int i =0;i < cardList.size();i++) {System.out.print(String.format(cardList.get(i).getShape().getShapeName()+":"+"%.2f",cardList.get(i).getShape().getArea())+" ");}System.out.print("]\n");System.out.print("The Separated List:\n");System.out.print("[");for(int i =0;i < a1.size();i++) {System.out.print(String.format(a1.get(i).getShape().getShapeName()+":"+"%.2f",a1.get(i).getShape().getArea())+" ");}System.out.print("]");System.out.print("[");for(int i =0;i < a2.size();i++) {System.out.print(String.format(a2.get(i).getShape().getShapeName()+":"+"%.2f",a2.get(i).getShape().getArea())+" ");}System.out.print("]");System.out.print("[");for(int i =0;i < a3.size();i++) {System.out.print(String.format(a3.get(i).getShape().getShapeName()+":"+"%.2f",a3.get(i).getShape().getArea())+" ");}System.out.print("]");System.out.print("[");for(int i =0;i < a4.size();i++) {System.out.print(String.format(a4.get(i).getShape().getShapeName()+":"+"%.2f",a4.get(i).getShape().getArea())+" ");}System.out.print("]");cardSort();System.out.print("\nThe Separated sorted List:\n");System.out.print("[");for(int i =0;i < a1.size();i++) { a=a+a1.get(i).getShape().getArea();System.out.print(String.format(a1.get(i).getShape().getShapeName()+":"+"%.2f",a1.get(i).getShape().getArea())+" ");}System.out.print("]");System.out.print("[");for(int i =0;i < a2.size();i++) {b=b+a2.get(i).getShape().getArea();System.out.print(String.format(a2.get(i).getShape().getShapeName()+":"+"%.2f",a2.get(i).getShape().getArea())+" ");}System.out.print("]");System.out.print("[");for(int i =0;i < a3.size();i++) {c=c+a3.get(i).getShape().getArea();System.out.print(String.format(a3.get(i).getShape().getShapeName()+":"+"%.2f",a3.get(i).getShape().getArea())+" ");}System.out.print("]");System.out.print("[");for(int i =0;i < a4.size();i++) {d=d+a4.get(i).getShape().getArea();System.out.print(String.format(a4.get(i).getShape().getShapeName()+":"+"%.2f",a4.get(i).getShape().getArea())+" ");}System.out.print("]");double max1=(a>=b)?a:b; double max2=(c>=d)?c:d; double Max;
if(max1>=max2){ Max=max1; } else{ Max=max2; }System.out.println(String.format("\nThe max area:%.2f",Max));}}class Circle extends Shape{ double radius; public Circle(double radius) { this.radius=radius; super.shapeName="Circle"; }public double getRadius() {return radius;}public void setRadius(double radius) {this.radius = radius;}public double getArea(){return Math.PI*radius*radius;}public boolean validata(){if(radius<=0)return false;elsereturn true;} }class Rectangle extends Shape{double width;double length;public Rectangle(){}public Rectangle(double width,double length){this.width=width;this.length=length;super.shapeName="Rectangle";}public double getWidth() {return width;}public void setWidth(double width) {this.width = width;}public double getLength() {return length;}public void setLength(double length) {this.length = length;}public double getArea(){return length*width;}public boolean validata(){if(width<=0||length<=0)return false;elsereturn true;}}class Triangle extends Shape{double side1;double side2;double side3;public Triangle(){}public Triangle(double side1,double side2,double side3){this.side1=side1;this.side2=side2;this.side3=side3;super.shapeName="Triangle";}public double getArea(){double p=(side1+side2+side3)/2;return Math.sqrt(p*(p-side1)*(p-side2)*(p-side3)); } public boolean validata() { if(side1+side2<side3||side2+side3<side1||side1+side3<side2) return false; else return true; }}class Trapezoid extends Shape{double topSide;double height;double bottomSide;public Trapezoid(){}public Trapezoid(double topSide,double bottomSide,double height ){this.topSide=topSide;this.bottomSide=bottomSide;this.height=height;super.shapeName="Trapezoid";}public double getArea(){return height*(topSide+bottomSide)/2;}public boolean validata(){if(height<=0||topSide<=0||bottomSide<=0)return false;elsereturn true;}} abstract class Shape { String shapeName; public Shape() { } public Shape(String shapeName) { this.shapeName=shapeName; }public String getShapeName() {return shapeName;}public void setShapeName(String shapeName) {this.shapeName = shapeName;}public double getArea(){return 0;}public boolean validata(){return true;} } class Card implements Comparable<Card>{ Shape shape; public Card() { } public Card(Shape shape) { this.shape=shape; } public Shape getShape() {return shape;}public void setShape(Shape shape) {this.shape = shape;}@Overridepublic int compareTo(Card card) {if(this.getShape().getArea() < card.getShape().getArea())return 1;else if(this.getShape().getArea() > card.getShape().getArea())return -1;return 0; }}
public class Main {//在Main类中定义一个静态Scanner对象,这样在其它类中如果想要使用该对象进行输入,则直接//使用Main.input.next…即可(避免采坑)public static Scanner input = new Scanner(System.in);public static void main(String[] args){ArrayList<Integer> list = new ArrayList<Integer>(); int num = input.nextInt();while(num != 0){if(num < 0 || num > 4){System.out.println("Wrong Format");System.exit(0);} list.add(num); num = input.nextInt();}DealCardList dealCardList = new DealCardList(list);if(!dealCardList.validate()){System.out.println("Wrong Format");System.exit(0);}dealCardList.showResult();input.close();}}






浙公网安备 33010602011771号