团队项目周总结04
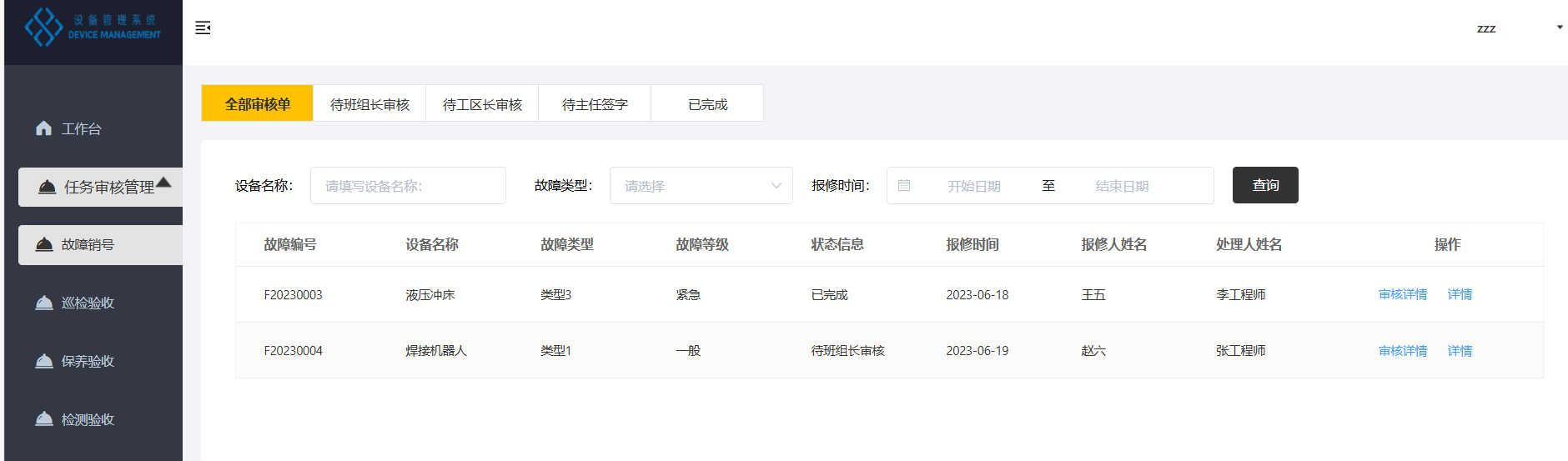
这周我们开始对故障处理功能的实现,因为我们发现后续的功能基本上的流程是类似的,比如后三个只是多了一个定时发布的功能,具体的故障处理实现细节如下:我们首先是班组长进行故障维修任务下发,能够获取到设备基本信息表中的设备id,然后指派用户表中的工程师,完成任务的下发,随后,工程师能够进行接收到派发的任务,工程师到现场进行拍照填写故障处理的一些具体细节,这里的拍照功能的实现我们是将照片进行了上传到阿里云平台,并没有存储到本地,工程师的功能实现我们是安排在了安卓端app实现的,因为在实际情况中工程师不可能带着一个电脑去现场,这样太麻烦了,所以我们安排了工程师处理故障时进行了app实现,之后工程师提交故障处理我们班组长、工区长依次审核,最终我们需要信息化主管进行签字确认,完成整个功能的流程。




浙公网安备 33010602011771号