如何在多可文档管理软件中使用文档映射
为了满足用户对文件交互、项目文件交叉管理,多可提供了文件映射功能,有效的解决了文档交叉,权限管理,项目文件管理等问题。用户可以将单个文件映射,也可以映射多个文件,还可以将整个文件夹映射。映射的时候,必须带上映射权限,将文件映射过去后,在目标目录(映射到的文件夹)下面就能管理这些文件了,当然,管理这些文件也需要相应的权限,关于映射权限将在下面进行详细说明。
7.1 映射到其他文件夹

该操作对文件和文件夹都有效,在文件夹/文件操作区域,选择某个文件夹/文件,调出文件夹/文件操作菜单,选择“映射到其他目录”,选择目标目录,选中相应的权限(注意:一定要选择权限,不然映射过去后,在目标目录有权限的用户也不能管理该文档),点击“选择”即可(注意:该操作需要有源目录以及目标目录的目录授权权限或者所在组的组管理员权限)。如果勾选了“自动映射”(只有目录映射到目录才有),那么如果源文件夹下增加文件或者目录,那么就会将新增加的文件或者目录自动映射到目标目录。如果勾选了“顶级映射”(只有目录映射到目录才有),那么就会将整个文件夹映射到目标目录下,否则只是将目录下的文件和子目录映射到目标目录下。
7.2 取消映射
该操作对文件夹和文件都有效,在文件夹/文件操作区域,选择某文件夹/文件,调出文件夹/文件操作菜单,选择“移除该文件夹下映射文件/取消映射”,这样就能将映射到该文件夹下的所有映射文件移除(注意:只是本目录,对映射到其他目录的没影响),多个文件的取消映射也一样(取消映射需要有该目录下的文件删除权限)。
7.3 添加映射文件
该操作只对文件夹有效,在文件夹操作区域,选择某文件夹,在文件夹操作菜单中选择“添加映射文件”,选择源目录,选择相应权限,点击“选择”即可(注意:该操作需要有源目录以及目标目录的目录授权权限或者所在组的组管理员权限)。操作成功完成后,源目录下的文件就会全都显示在该目录下,其中文件名后面带有图标的表示是从其他目录映射过来的文件,文件名后面带有图标的表示是映射源,点击该图标就可以查看该文件映射到了哪些地方。

7.4 移除使用该文件夹的映射
该操作只对文件夹有效,在文件夹操作区域,选择某文件夹,在文件夹操作菜单中选择“移除使用该文件夹的映射”即可。该操作成功完成后,所有从该目录映射出去的文件都将被取消映射(注意:该操作对所有文件夹有效,需要有该目录的文件删除权限或者目录删除权限)。
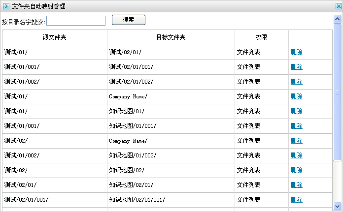
7.5 文件夹自动映射管理
如果在文件夹映射的时候,选择了“自动映射”,那么用户就可以查看自动映射的情况。在文件夹操作区域,选择某个组或者文件夹,在文件夹操作菜单中选择“移除使用该文件夹的映射”就可以查看该工作组或者该目录所在的工作组的所有自动映射的文件夹。在这里可以查看源文件夹和目标文件夹的路径以及映射权限,点击某个文件夹后面的“删除”就可以删除该自动映射。如果自动映射的目录很多,用户还可以通过目录名字来搜索,从而更快的找到要找的文件夹。

7.6 关于映射文件的管理操作
从其他目录映射过来的文件不能直接授权(共享),不能再次映射到其他目录。在删除文件时,如果是映射文件,那么就只是将该映射文件从本目录移除,并不会删除源目录下的文件,如果是在源目录下删除文件,那么文件就会从系统删除,并且该文件对应的所有映射关系也将取消。其他的操作跟普通文件是一样的。
7.7 关于映射文件的权限说明
映射文件主要用于一个文件对应多个文件夹的情况,其中涉及权限文件问题,主要有二种大的权限类型,描述如下:
(1)映射文件只在映射的目标文件夹有权限,源文件夹没有权限的情况。

把A工作组的文件夹“道路设计”的文件映射到B工作组的“省A09公路招”文件夹,权限情况如下:
用户甲在A工作组的文件夹“道路设计”没有权限。
用户甲在B工作组的文件夹“省A09公路招标”有文件列表、预览、下载、修改、删除。
映射的被授权权限有文件列表、预览、下载。
最后用户甲在B工作组的文件夹“省A09公路招标”的映射文件权限是:文件列表、预览、下载。
原则如下:映射后的文件权限 = (映射文件被授权权限) 和 (映射文件所在文件夹的权限) 的 交集。
(2)映射文件在映射的目标文件夹有权限,且源文件夹也有权限的情况。映射文件的操作同上,不同的是用户甲在原来文件夹“道路设计”也有权限。

用户甲在A工作组的文件夹“道路设计”的权限有文件列表、预览、下载、修改、删除。
用户甲在B工作组的文件夹“省A09公路招标”有最后的权限交集是文件列表、预览、下载。
最后用户甲在有的映射文件权限(包括在原来文件夹的权限和映射目标文件夹的权限)是:文件列表、预览、下载、修改、删除。
原则如下:映射后文件权限 = (映射文件的原来文件权限) 和 ((映射文件所在目标文件夹的权限) 和 (映射权限的) 交集) 的并集。

浙公网安备 33010602011771号