杰普创新班Linux第二天
一、补充概念
Linux内核:硬件之上的第一层软件扩充,解析上一层的shell代码指令来驱动下层硬件。
shell:键入命令传递给操作系统的一个程序,(命令由特定字母组合成的,有特定含义,规定了其的执行的方式和方法)
二、Linux命令(续上)
1.通配符具体含义:
| 字符 | 含义 |
|---|---|
| * | 匹配任意字 |
| ? | 匹配单个字符 |
| [] | 匹配方括号中任意一个,不能用于创建目录和文件 |
| [^]、[! ] | 匹配方括号中任意一个字符后取反,用于查询和删除 |
| [? -?] | 匹配方括号范围内任意一个,用于查询和删除 |
| 匹配括号中一个字符串 | |
| 匹配括号中的字符范围 |
例:
- 创建f1到f9的目录

2.创建不连续的多个目录


- 删除出f5-f8的目录

2.重定向和追加重定向
> 重定向,向文件中写入内容 覆盖式
>> 追加重定向,向文件中追加内容
例: echo hello > a 向a文件中写入hello,如果a不存在则自动创建
date >> a;cal >> a 执行以上三个命令,则a文件中有hello 日期 和 日历
3.管道 |
管道符:把第一个命令的结果,交给第二个命令作为参数操作
如 : cal | lp 把日历打印出来
cat /etc/passwd | grep "hello" 在passwd文件中筛选出带hello的那一行
4.文件内容的查看
cat :查看文件内容
-n 显示文件行数
more、less:分页显示文件内容
head:查看文件前几行
head -n 5 查看前五行内容
tail:查看文件后几行
-f 动态显示文件(监控日志)
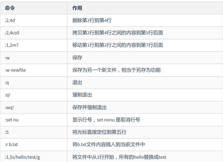
5.vi编辑器
vi编辑器的三种模式:
命令模式
编辑模式
末行模式

命令模式


末行模式


浙公网安备 33010602011771号