Blog-2
前言
题目集4整体难度不高,但菜单3时间不足,没有完整写出来。题目集5和题目集6虽然都只有一道题,但分别是菜单4和菜单5,都是在菜单3的基础上进行迭代,难度较大,因为要求有很多,所以也要花费大量时间。期中考试题目难度适中,但前面的选择题花费了太久时间,导致最后一个编程题没有来得及写。
设计与分析
菜单计价程序-3
设计点菜计价程序,根据输入的信息,计算并输出总价格。
输入内容按先后顺序包括两部分:菜单、订单,最后以"end"结束。
菜单由一条或多条菜品记录组成,每条记录一行
每条菜品记录包含:菜名、基础价格 两个信息。
订单分:桌号标识、点菜记录和删除信息、代点菜信息。每一类信息都可包含一条或多条记录,每条记录一行或多行。
桌号标识独占一行,包含两个信息:桌号、时间。
桌号以下的所有记录都是本桌的记录,直至下一个桌号标识。
点菜记录包含:序号、菜名、份额、份数。份额可选项包括:1、2、3,分别代表小、中、大份。
不同份额菜价的计算方法:小份菜的价格=菜品的基础价格。中份菜的价格=菜品的基础价格1.5。小份菜的价格=菜品的基础价格2。如果计算出现小数,按四舍五入的规则进行处理。
删除记录格式:序号 delete
标识删除对应序号的那条点菜记录。
如果序号不对,输出"delete error"
代点菜信息包含:桌号 序号 菜品名称 份额 分数
代点菜是当前桌为另外一桌点菜,信息中的桌号是另一桌的桌号,带点菜的价格计算在当前这一桌。
程序最后按输入的先后顺序依次输出每一桌的总价(注意:由于有代点菜的功能,总价不一定等于当前桌上的菜的价格之和)。
每桌的总价等于那一桌所有菜的价格之和乘以折扣。如存在小数,按四舍五入规则计算,保留整数。
折扣的计算方法(注:以下时间段均按闭区间计算):
周一至周五营业时间与折扣:晚上(17:00-20:30)8折,周一至周五中午(10:30--14:30)6折,其余时间不营业。
周末全价,营业时间:9:30-21:30
如果下单时间不在营业范围内,输出"table " + t.tableNum + " out of opening hours"
参考以下类的模板进行设计:菜品类:对应菜谱上一道菜的信息。
Dish {
String name;//菜品名称
int unit_price; //单价
int getPrice(int portion)//计算菜品价格的方法,输入参数是点菜的份额(输入数据只能是1/2/3,代表小/中/大份) }
菜谱类:对应菜谱,包含饭店提供的所有菜的信息。
Menu {
Dish\[\] dishs ;//菜品数组,保存所有菜品信息
Dish searthDish(String dishName)//根据菜名在菜谱中查找菜品信息,返回Dish对象。
Dish addDish(String dishName,int unit_price)//添加一道菜品信息
}
点菜记录类:保存订单上的一道菜品记录
Record {
int orderNum;//序号\\
Dish d;//菜品\\
int portion;//份额(1/2/3代表小/中/大份)\\
int getPrice()//计价,计算本条记录的价格\\
}
订单类:保存用户点的所有菜的信息。
Order {
Record\[\] records;//保存订单上每一道的记录
int getTotalPrice()//计算订单的总价
Record addARecord(int orderNum,String dishName,int portion,int num)//添加一条菜品信息到订单中。
delARecordByOrderNum(int orderNum)//根据序号删除一条记录
findRecordByNum(int orderNum)//根据序号查找一条记录
}
### 输入格式:
桌号标识格式:table + 序号 +英文空格+ 日期(格式:YYYY/MM/DD)+英文空格+ 时间(24小时制格式: HH/MM/SS)
菜品记录格式:
菜名+英文空格+基础价格
如果有多条相同的菜名的记录,菜品的基础价格以最后一条记录为准。
点菜记录格式:序号+英文空格+菜名+英文空格+份额+英文空格+份数注:份额可输入(1/2/3), 1代表小份,2代表中份,3代表大份。
删除记录格式:序号 +英文空格+delete
代点菜信息包含:桌号+英文空格+序号+英文空格+菜品名称+英文空格+份额+英文空格+分数
最后一条记录以“end”结束。
### 输出格式:
按输入顺序输出每一桌的订单记录处理信息,包括:
1、桌号,格式:table+英文空格+桌号+”:”
2、按顺序输出当前这一桌每条订单记录的处理信息,
每条点菜记录输出:序号+英文空格+菜名+英文空格+价格。其中的价格等于对应记录的菜品\*份数,序号是之前输入的订单记录的序号。如果订单中包含不能识别的菜名,则输出“\*\* does not exist”,\*\*是不能识别的菜名
如果删除记录的序号不存在,则输出“delete error”
最后按输入顺序一次输出每一桌所有菜品的总价(整数数值)格式:table+英文空格+桌号+“:”+英文空格+当前桌的总价
本次题目不考虑其他错误情况,如:桌号、菜单订单顺序颠倒、不符合格式的输入、序号重复等,在本系列的后续作业中会做要求。
输入格式:
桌号标识格式:table + 序号 +英文空格+ 日期(格式:YYYY/MM/DD)+英文空格+ 时间(24小时制格式: HH/MM/SS)
菜品记录格式:
菜名+英文空格+基础价格
如果有多条相同的菜名的记录,菜品的基础价格以最后一条记录为准。
点菜记录格式:序号+英文空格+菜名+英文空格+份额+英文空格+份数注:份额可输入(1/2/3), 1代表小份,2代表中份,3代表大份。
删除记录格式:序号 +英文空格+delete
代点菜信息包含:桌号+英文空格+序号+英文空格+菜品名称+英文空格+份额+英文空格+分数
最后一条记录以“end”结束。
输出格式:
按输入顺序输出每一桌的订单记录处理信息,包括:
1、桌号,格式:table+英文空格+桌号+“:”+英文空格
2、按顺序输出当前这一桌每条订单记录的处理信息,
每条点菜记录输出:序号+英文空格+菜名+英文空格+价格。其中的价格等于对应记录的菜品\*份数,序号是之前输入的订单记录的序号。如果订单中包含不能识别的菜名,则输出“\*\* does not exist”,\*\*是不能识别的菜名
如果删除记录的序号不存在,则输出“delete error”
最后按输入顺序一次输出每一桌所有菜品的总价(整数数值)格式:table+英文空格+桌号+“:”+英文空格+当前桌的总价
本次题目不考虑其他错误情况,如:桌号、菜单订单顺序颠倒、不符合格式的输入、序号重复等,在本系列的后续作业中会做要求。
输入样例:
在这里给出一组输入。例如:
麻婆豆腐 12
油淋生菜 9
table 1 2023/3/22 12/2/3
1 麻婆豆腐 2 2
2 油淋生菜 1 3
end
输出样例:
在这里给出相应的输出。例如:
table 1:
1 麻婆豆腐 36
2 油淋生菜 27
table 1: 38
输入样例1:
在这里给出一组输入。例如:
麻婆豆腐 12
油淋生菜 9
table 1 2023/3/22 17/0/0
1 麻婆豆腐 2 2
2 油淋生菜 1 3
1 delete
end
输出样例1:
在这里给出相应的输出。例如:
table 1:
1 麻婆豆腐 36
2 油淋生菜 27
table 1: 22
输入样例2:
在这里给出一组输入。例如:
麻婆豆腐 12
油淋生菜 9
table 1 2023/3/22 16/59/59
1 麻婆豆腐 2 2
2 油淋生菜 1 3
1 delete
end
输出样例2:
在这里给出相应的输出。例如:
table 1:
1 麻婆豆腐 36
2 油淋生菜 27
table 1 out of opening hours
输入样例3:
在这里给出一组输入。例如:
麻婆豆腐 12
油淋生菜 9
table 1 2022/12/5 15/03/02
1 麻婆豆腐 2 2
2 油淋生菜 1 3
3 麻辣鸡丝 1 2
5 delete
7 delete
table 2 2022/12/3 15/03/02
1 麻婆豆腐 2 2
2 油淋生菜 1 3
3 麻辣鸡丝 1 2
7 delete
end
输出样例3:
在这里给出相应的输出。例如:
table 1:
1 麻婆豆腐 36
2 油淋生菜 27
麻辣鸡丝 does not exist
delete error;
delete error;
table 2:
1 麻婆豆腐 36
2 油淋生菜 27
麻辣鸡丝 does not exist
delete error;
table 1 out of opening hours
table 2: 63
输入样例4:
在这里给出一组输入。例如:
麻婆豆腐 12
油淋生菜 9
table 1 2022/12/3 19/5/12
1 麻婆豆腐 2 2
2 油淋生菜 1 3
3 麻辣鸡丝 1 2
table 2 2022/12/3 15/03/02
1 麻婆豆腐 2 2
2 油淋生菜 1 3
3 麻辣鸡丝 1 2
1 4 麻婆豆腐 1 1
7 delete
end
输出样例4:
在这里给出相应的输出。例如:
table 1:
1 麻婆豆腐 36
2 油淋生菜 27
麻辣鸡丝 does not exist
table 2:
1 麻婆豆腐 36
2 油淋生菜 27
麻辣鸡丝 does not exist
4 table 2 pay for table 1 12
delete error;
table 1: 63
table 2: 75
import java.time.*; import java.util.*; public class Main { static int cnt1 = 0; static int cnt2 = -1; static int cnt3 = 0; public static void main(String[] args) { int[] mon_maxnum = new int[]{0,31,28,31,30,31,30,31,31,30,31,30,31}; Scanner sc = new Scanner(System.in); Menu menu = new Menu(); Table[] tables = new Table[10]; for (int i=0;i<10;i++) { tables[i] = new Table(); } String input = sc.nextLine(); while (!input.equals("end")) { String[] parts = input.split(" ");//以空格为分隔符分离输入的字符串 if (input.matches("[\\u4e00-\\u9fa5]+ \\d+(\\.\\d+)?( T)?") ) { //输入的是菜谱信息 if (!parts[1].matches("^[1-9]|[1-9]\\d*$")) {//菜价 } else if (Integer.parseInt(parts[1]) > 300 || Integer.parseInt(parts[1]) < 0) { System.out.println(parts[0] + " price out of range " + parts[1]); } else{ menu.dishes[cnt1] = menu.addDish(parts[0], Integer.parseInt(parts[1]));//类型不匹配,使用Integer包装 cnt1++; } } else if (parts.length == 4 && parts[0].equals("table")) {//桌与时间 String[] da = parts[2].split("/");//年月日 String[] ti = parts[3].split("/");//具体时间 if (!parts[1].matches("^[1-9]|[1-9]\\d*$")) { System.out.println("wrong format"); } else if (Integer.parseInt(parts[1]) > 55) { System.out.println(parts[1] + " table num out of range"); } else if (!parts[2].matches("\\d{4,}/\\d{1,2}/\\d{1,2}") || !parts[3].matches("\\d{1,2}/\\d{1,2}/\\d{1,2}")) { System.out.println("wrong format"); } else if (Integer.parseInt(da[0]) < 2022 || Integer.parseInt(da[0]) > 2023 ) { System.out.println("not a valid time period"); } else if (Integer.parseInt(da[1]) < 1 || Integer.parseInt(da[1]) > 12) { System.out.println(parts[1] + " date error"); } else if (Integer.parseInt(da[2]) < 1 || Integer.parseInt(da[2]) > mon_maxnum[Integer.parseInt(da[1])]) { System.out.println(parts[1] + " date error"); } else if (Integer.parseInt(ti[0]) > 23 || Integer.parseInt(ti[0]) < 0) { System.out.println(parts[1] + " date error"); } else if (Integer.parseInt(ti[1]) > 59 || Integer.parseInt(ti[1]) < 0) { System.out.println(parts[1] + " date error"); } else if (Integer.parseInt(ti[2]) > 59 || Integer.parseInt(ti[2]) < 0) { System.out.println(parts[1] + " date error"); } else { cnt2++; tables[cnt2] = new Table(); tables[cnt2].time = new Time(); tables[cnt2].tableNum = Integer.parseInt(parts[1]); tables[cnt2].time.date = parts[2];//年月日 tables[cnt2].time.times = parts[3];//具体时间 System.out.println("table " + parts[1] + ": "); } } else if (input.matches("\\d+ [\\u4e00-\\u9fa5a-zA-Z]+ \\d+ \\d+")) {//点菜 if (cnt2 > -1) { if (!tables[cnt2].order.checkOrdernum(Integer.parseInt(parts[0]))) { System.out.println("record serial number sequence error"); } else if (menu.searchDish(parts[1]) == null) { System.out.println(parts[1] + " does not exist"); } else { Dish dish = new Dish(); dish = menu.searchDish(parts[1]); if (dish.T == 1) {//特价菜份额份数判断 { Record record = new Record(); record.orderNum = Integer.parseInt(parts[0]); record.portion = Integer.parseInt(parts[2]); record.num = Integer.parseInt(parts[3]); record.d = menu.searchDish(parts[1]); tables[cnt2].order.records[cnt3] = record; cnt3++; System.out.println(record.orderNum + " " + record.d.name + " " + record.getPriceA()); } } else {//非特价菜份额份数判断 if (!parts[3].matches("^[1-9]|[1-9]\\d*$")) { System.out.println("wrong format"); } else if (Integer.parseInt(parts[2]) > 9) { System.out.println("wrong format"); } else if (Integer.parseInt(parts[2]) > 3) { System.out.println(parts[0] + " portion out of range " + parts[2]); } else if (Integer.parseInt(parts[3]) > 15) { System.out.println(parts[0] + " num out of range " + parts[3]); } else { Record record = new Record(); record.orderNum = Integer.parseInt(parts[0]); record.portion = Integer.parseInt(parts[2]); record.num = Integer.parseInt(parts[3]); record.d = menu.searchDish(parts[1]); tables[cnt2].order.records[cnt3] = record; cnt3++; System.out.println(record.orderNum + " " + record.d.name + " " + record.getPriceA()); } } } } }else if (parts.length == 2 && parts[1].equals("delete")) { for (int i = 0;i <= cnt2;i++) { tables[i].order.delARecordByOrderNum(Integer.parseInt(parts[0])); } } else{ System.out.println("detele error"); break; } input = sc.nextLine(); } for (int i=0;i <= Main.cnt2;i++) { tables[i].getPrice(); } } } class Dish { String name; int unit_price; int T = 0; public int getPrice(int portion) { int p = 0; if (portion == 1) { p = unit_price; } else if (portion == 2) { p = (int)(Math.round(unit_price*1.5)); } else if (portion == 3) { p = unit_price * 2; } return p; } } class Menu { Dish[] dishes; public Menu() { this.dishes = new Dish[100]; } public Dish searchDish(String dishName) { for (int i = 0; i < Main.cnt1; i++) { if (dishName.equals(dishes[i].name)) { return dishes[i]; } } return null; }//根据菜名在菜谱中查找菜品信息,返回Dish对象。 public Dish addDish(String dishName,int unit_price) { Dish dish = new Dish(); dish.name = dishName; dish.unit_price = unit_price; return dish; }//添加一道菜品信息 } class Record { Dish d; int orderNum; int flag = 1;//判断是否删除 int portion; int num; public Record (){ d = new Dish(); } public int getPrice() { return d.getPrice(portion) * num * flag; } public int getPriceA() { return d.getPrice(portion) * num; } } class Order { Record[] records; public Order() { this.records = new Record[100]; for (int i = 0; i < 100; i++) { records[i] = new Record(); } } public int getTotalPrice() {//计算订单的总价 int totalprice = 0; for (int i=0;i < Main.cnt3;i++) { totalprice += records[i].getPrice(); } return totalprice; } public Record addARecord(int orderNum,String dishName,int portion,int num) {//添加一条菜品信息到订单中 Record record = new Record(); record.orderNum = orderNum; record.d.name = dishName; record.portion = portion; record.num = num; return record; } public void delARecordByOrderNum(int orderNum) { int i; i = findRecordByNum(orderNum); if (i == -1) { System.out.println("delete error"); } else { if (records[i].flag == 1) { records[i].flag = 0; } } } public int findRecordByNum(int orderNum) { int i; for (i=0;i < Main.cnt3;i++) { if (records[i].orderNum == orderNum) { return i; } } return -1; } Boolean checkOrdernum(int j) { for (int i=0;i< Main.cnt3;i++) { if (j <= records[i].orderNum) { return false; } } return true; } } class Time { String date; String times; int weekday; int year; int month; int day; int hour; int minutes; public void getDate() { String[] da = date.split("/"); String[] ti = times.split("/"); this.year = Integer.parseInt(da[0]); this.month = Integer.parseInt(da[1]); this.day = Integer.parseInt(da[2]); this.hour = Integer.parseInt(ti[0]); this.minutes = Integer.parseInt(ti[1]); LocalDateTime d = LocalDateTime.of(year,month,day,hour,minutes); this.weekday = d.getDayOfWeek().getValue();//getValue得到值,否则DayOfWeek类型不能直接用 } } class Table { Time time; Order order; int tableNum; int tablePrice; public Table() { time = new Time(); order = new Order(); } public void getPrice() { int sum = 0; time.getDate(); if (time.weekday >= 1 && time.weekday <= 5) {//周一到周五 if ((time.hour >= 10 && time.minutes >= 30 && time.hour < 14) || (time.hour <= 14 && time.minutes <= 30 && time.hour > 10)) {//中午 tablePrice = (int)(Math.round(sum * 0.6)); System.out.println("table " + tableNum + ": " + tablePrice); } else if ((time.hour >= 17 && time.hour < 20) || time.hour == 20 && time.minutes <= 30) {//晚上 tablePrice = (int)(Math.round(sum * 0.8)); System.out.println("table " + tableNum + ": " + tablePrice); } else{ //非营业时间 System.out.println("table " + tableNum + " out of opening hours"); } } else if (time.weekday == 6 || time.weekday == 7) {//周末 if ((time.hour >= 9 && time.minutes >= 30 && time.hour < 21) || (time.hour <= 21 && time.minutes <=30 && time.hour > 9)) { tablePrice = order.getTotalPrice(); System.out.println("table " + tableNum + ": "+ tablePrice); } else{ //非营业时间 System.out.println("table " + tableNum + " out of opening hours"); } } } }

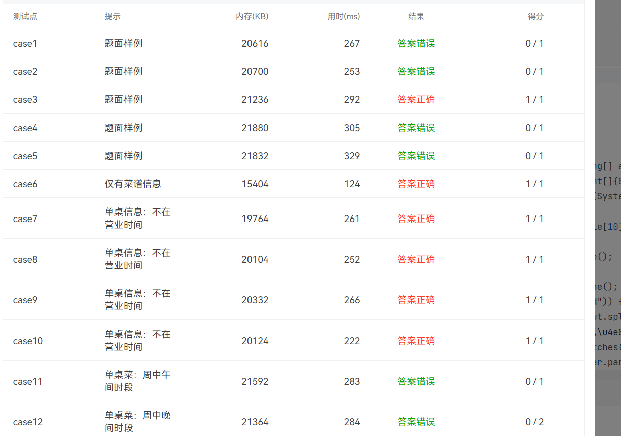
本题时间不足,没有完整写出,只通过了少部分测试点
菜单计价程序-4
本体大部分内容与菜单计价程序-3相同,增加的部分用加粗文字进行了标注。
设计点菜计价程序,根据输入的信息,计算并输出总价格。
输入内容按先后顺序包括两部分:菜单、订单,最后以"end"结束。
菜单由一条或多条菜品记录组成,每条记录一行
每条菜品记录包含:菜名、基础价格 两个信息。
订单分:桌号标识、点菜记录和删除信息、代点菜信息。每一类信息都可包含一条或多条记录,每条记录一行或多行。
桌号标识独占一行,包含两个信息:桌号、时间。
桌号以下的所有记录都是本桌的记录,直至下一个桌号标识。
点菜记录包含:序号、菜名、份额、份数。份额可选项包括:1、2、3,分别代表小、中、大份。
不同份额菜价的计算方法:小份菜的价格=菜品的基础价格。中份菜的价格=菜品的基础价格1.5。小份菜的价格=菜品的基础价格2。如果计算出现小数,按四舍五入的规则进行处理。
删除记录格式:序号 delete
标识删除对应序号的那条点菜记录。
如果序号不对,输出"delete error"
代点菜信息包含:桌号 序号 菜品名称 份额 分数
代点菜是当前桌为另外一桌点菜,信息中的桌号是另一桌的桌号,带点菜的价格计算在当前这一桌。
程序最后按输入的桌号从小到大的顺序依次输出每一桌的总价(注意:由于有代点菜的功能,总价不一定等于当前桌上的菜的价格之和)。
每桌的总价等于那一桌所有菜的价格之和乘以折扣。如存在小数,按四舍五入规则计算,保留整数。
折扣的计算方法(注:以下时间段均按闭区间计算):
周一至周五营业时间与折扣:晚上(17:00-20:30)8折,周一至周五中午(10:30--14:30)6折,其余时间不营业。
周末全价,营业时间:9:30-21:30
如果下单时间不在营业范围内,输出"table " + t.tableNum + " out of opening hours"
参考以下类的模板进行设计(本内容与计价程序之前相同,其他类根据需要自行定义):
菜品类:对应菜谱上一道菜的信息。
Dish {
String name;//菜品名称
int unit_price; //单价
int getPrice(int portion)//计算菜品价格的方法,输入参数是点菜的份额(输入数据只能是1/2/3,代表小/中/大份) }
菜谱类:对应菜谱,包含饭店提供的所有菜的信息。
Menu {
Dish[] dishs ;//菜品数组,保存所有菜品信息
Dish searthDish(String dishName)//根据菜名在菜谱中查找菜品信息,返回Dish对象。
Dish addDish(String dishName,int unit_price)//添加一道菜品信息
}
点菜记录类:保存订单上的一道菜品记录
Record {
int orderNum;//序号
Dish d;//菜品\\
int portion;//份额(1/2/3代表小/中/大份)
int getPrice()//计价,计算本条记录的价格
}
订单类:保存用户点的所有菜的信息。
Order {
Record[] records;//保存订单上每一道的记录
int getTotalPrice()//计算订单的总价
Record addARecord(int orderNum,String dishName,int portion,int num)//添加一条菜品信息到订单中。
delARecordByOrderNum(int orderNum)//根据序号删除一条记录
findRecordByNum(int orderNum)//根据序号查找一条记录
}
本次课题比菜单计价系列-3增加的异常情况:
1、菜谱信息与订单信息混合,应忽略夹在订单信息中的菜谱信息。输出:"invalid dish"
2、桌号所带时间格式合法(格式见输入格式部分说明,其中年必须是4位数字,月、日、时、分、秒可以是1位或2位数),数据非法,比如:2023/15/16 ,输出桌号+" date error"
3、同一桌菜名、份额相同的点菜记录要合并成一条进行计算,否则可能会出现四舍五入的误差。
4、重复删除,重复的删除记录输出"deduplication :"+序号。
5、代点菜时,桌号不存在,输出"Table number :"+被点菜桌号+" does not exist";本次作业不考虑两桌记录时间不匹配的情况。
6、菜谱信息中出现重复的菜品名,以最后一条记录为准。
7、如果有重复的桌号信息,如果两条信息的时间不在同一时间段,(时段的认定:周一到周五的中午或晚上是同一时段,或者周末时间间隔1小时(不含一小时整,精确到秒)以内算统一时段),此时输出结果按不同的记录分别计价。
8、重复的桌号信息如果两条信息的时间在同一时间段,此时输出结果时合并点菜记录统一计价。前提:两个的桌号信息的时间都在有效时间段以内。计算每一桌总价要先合并符合本条件的饭桌的点菜记录,统一计价输出。
9、份额超出范围(1、2、3)输出:序号+" portion out of range "+份额,份额不能超过1位,否则为非法格式,参照第13条输出。
10、份数超出范围,每桌不超过15份,超出范围输出:序号+" num out of range "+份数。份数必须为数值,最高位不能为0,否则按非法格式参照第16条输出。
11、桌号超出范围[1,55]。输出:桌号 +" table num out of range",桌号必须为1位或多位数值,最高位不能为0,否则按非法格式参照第16条输出。
12、菜谱信息中菜价超出范围(区间(0,300)),输出:菜品名+" price out of range "+价格,菜价必须为数值,最高位不能为0,否则按非法格式参照第16条输出。
13、时间输入有效但超出范围[2022.1.1-2023.12.31],输出:"not a valid time period"
14、一条点菜记录中若格式正确,但数据出现问题,如:菜名不存在、份额超出范围、份数超出范围,按记录中从左到右的次序优先级由高到低,输出时只提示优先级最高的那个错误。
15、每桌的点菜记录的序号必须按从小到大的顺序排列(可以不连续,也可以不从1开始),未按序排列序号的输出:"record serial number sequence error"。当前记录忽略。(代点菜信息的序号除外)
16、所有记录其它非法格式输入,统一输出"wrong format"
17、如果记录以“table”开头,对应记录的格式或者数据不符合桌号的要求,那一桌下面定义的所有信息无论正确或错误均忽略,不做处理。如果记录不是以“table”开头,比如“tab le 55 2023/3/2 12/00/00”,该条记录认为是错误记录,后面所有的信息并入上一桌一起计算。
本次作业比菜单计价系列-3增加的功能:
菜单输入时增加特色菜,特色菜的输入格式:菜品名+英文空格+基础价格+"T"
例如:麻婆豆腐 9 T
菜价的计算方法:
周一至周五 7折, 周末全价。
注意:不同的四舍五入顺序可能会造成误差,请按以下步骤累计一桌菜的菜价:
计算每条记录的菜价:将每份菜的单价按份额进行四舍五入运算后,乘以份数计算多份的价格,然后乘以折扣,再进行四舍五入,得到本条记录的最终支付价格。
最后将所有记录的菜价累加得到整桌菜的价格。
输入格式:
桌号标识格式:table + 序号 +英文空格+ 日期(格式:YYYY/MM/DD)+英文空格+ 时间(24小时制格式: HH/MM/SS)
菜品记录格式:
菜名+英文空格+基础价格
如果有多条相同的菜名的记录,菜品的基础价格以最后一条记录为准。
点菜记录格式:序号+英文空格+菜名+英文空格+份额+英文空格+份数注:份额可输入(1/2/3), 1代表小份,2代表中份,3代表大份。
删除记录格式:序号 +英文空格+delete
代点菜信息包含:桌号+英文空格+序号+英文空格+菜品名称+英文空格+份额+英文空格+分数
最后一条记录以“end”结束。
输出格式:
按输入顺序输出每一桌的订单记录处理信息,包括:
1、桌号,格式:table+英文空格+桌号+”:”+英文空格
2、按顺序输出当前这一桌每条订单记录的处理信息,
每条点菜记录输出:序号+英文空格+菜名+英文空格+价格。其中的价格等于对应记录的菜品*份数,序号是之前输入的订单记录的序号。如果订单中包含不能识别的菜名,则输出“** does not exist”,**是不能识别的菜名
如果删除记录的序号不存在,则输出“delete error”
最后按输入顺序一次输出每一桌所有菜品的总价(整数数值)格式:table+英文空格+桌号+“:”+英文空格+当前桌的原始总价+英文空格+当前桌的计算折扣后总价
输入样例:
在这里给出一组输入。例如:
麻婆豆腐 12
油淋生菜 9 T
table 31 2023/2/1 14/20/00
1 麻婆豆腐 1 16
2 油淋生菜 1 2
2 delete
2 delete
end
输出样例:
在这里给出相应的输出。例如:
table 31:
1 num out of range 16
2 油淋生菜 18
deduplication 2
table 31: 0 0
输入样例1:
份数超出范围+份额超出范围。例如:
麻婆豆腐 12
油淋生菜 9 T
table 31 2023/2/1 14/20/00
1 麻婆豆腐 1 16
2 油淋生菜 4 2
end
输出样例1:
份数超出范围+份额超出范围。例如:
table 31:
1 num out of range 16
2 portion out of range 4
table 31: 0 0
输入样例2:
桌号信息错误。例如:
麻婆豆腐 12
油淋生菜 9 T
table a 2023/3/15 12/00/00
1 麻婆豆腐 1 1
2 油淋生菜 2 1
end
输出样例2:
在这里给出相应的输出。例如:
wrong format
输入样例3:
混合错误:桌号信息格式错误+混合的菜谱信息(菜谱信息忽略)。例如:
麻婆豆腐 12
油淋生菜 9 T
table 55 2023/3/31 12/000/00
麻辣香锅 15
1 麻婆豆腐 1 1
2 油淋生菜 2 1
end
输出样例3:
在这里给出相应的输出。例如:
wrong format
输入样例4:
错误的菜谱记录。例如:
麻婆豆腐 12.0
油淋生菜 9 T
table 55 2023/3/31 12/00/00
麻辣香锅 15
1 麻婆豆腐 1 1
2 油淋生菜 2 1
end
输出样例4:
在这里给出相应的输出。例如:
wrong format
table 55:
invalid dish
麻婆豆腐 does not exist
2 油淋生菜 14
table 55: 14 10
输入样例5:
桌号格式错误(以“table”开头)+订单格式错误(忽略)。例如:
麻婆豆腐 12
油淋生菜 9 T
table a 2023/3/15 12/00/00
1 麻婆 豆腐 1 1
2 油淋生菜 2 1
end
输出样例5:
在这里给出相应的输出。例如:
wrong format
输入样例6:
桌号格式错误,不以“table”开头。例如:
麻婆豆腐 12
油淋生菜 9 T
table 1 2023/3/15 12/00/00
1 麻婆豆腐 1 1
2 油淋生菜 2 1
tab le 2 2023/3/15 12/00/00
1 麻婆豆腐 1 1
2 油淋生菜 2 1
end
输出样例6:
在这里给出相应的输出。例如:
table 1: 1 麻婆豆腐 12 2 油淋生菜 14 wrong format record serial number sequence error record serial number sequence error table 1: 26 17
import java.time.LocalDateTime; import java.util.ArrayList; import java.util.List; import java.util.Scanner; class Dish { String dishname;//菜品名称 int unit_price; //单价 boolean T; public boolean isT() { return T; } public void setT(boolean t) { T = t; } public String getDishname() { return dishname; } public int getUnit_price() { return unit_price; } public void setDishname(String dishname) { this.dishname = dishname; } public void setUnit_price(int unit_price) { this.unit_price = unit_price; } public Dish(String name, int unit_price,boolean t) { this.dishname = name; this.unit_price = unit_price; this.T=t; } public Dish() { } //计算菜品价格的方法,输入参数是点菜的份额(输入数据只能是1/2/3,代表小/中/大份) int getPrice(int portion) { if (portion == 2) return (int) Math.round(1.5 *unit_price); else if (portion == 3) return 2 * unit_price ; else return unit_price ; } } class Menu { private List<Dish> dishs = new ArrayList<>();//菜品数组,保存所有菜品信息 Dish searthDish(String dishName) { for (Dish dish : dishs) { if (dish.getDishname().equals(dishName)) { return dish; } } return null; } //添加一道菜品信息 Dish addDish(String dishName, int unit_price,boolean t) { if(unit_price>300||unit_price<0) { System.out.println(dishName + " price out of range " + unit_price); return null; } for (Dish dish : dishs) { if (dish.getDishname().equals(dishName)) { dish.setUnit_price(unit_price); dish.setT(t); return dish; } } Dish dish = new Dish(dishName, unit_price,t); dishs.add(dish); return dish; } } class Farmer { public static boolean crossRiver = false; public void showStatus() { System.out.println("Farmer has Cross :" +crossRiver); } } class Sheep { public boolean crossRiver = false; public boolean isAlive = true; public boolean hasCross = false; public void eatCabbage(Cabbage cabbage) { if (crossRiver == cabbage.crossRiver&&crossRiver!=Farmer.crossRiver) { cabbage.isAlive = false; }} public void showStatus() { hasCross = crossRiver; System.out.print("Sheep has Cross :"+crossRiver+" "); System.out.println("Sheep is alive :"+isAlive); } } class Record { private int table; public int getTable() { return table; } public void setTable(int table) { this.table = table; } private int numOrder;//序号\ private Dish d;//菜品\ private int portion;//份额(1/2/3代表小/中/大份)\ private int num; private boolean isDelete = false; private int deleteNum=0; public int getDeleteNum() { return deleteNum; } public void setDeleteNum(int deleteNum) { this.deleteNum = deleteNum; } public boolean isNotFound() { return notFound; } public void setNotFound(boolean notFound) { this.notFound = notFound; } private boolean notFound = false; public Record(int orderNum, Dish d, int portion, int num) { this.numOrder = orderNum; this.d = d; this.portion = portion; this.num = num; } public Record(Dish d, int portion) { this.d = d; this.portion = portion; } //计价,计算本条记录的价格 int getPrice() { return d.getPrice(portion) * this.num; } public void setNumOrder(int numOrder) { this.numOrder = numOrder; } public int getNumOrder() { return numOrder; } public void setD(Dish d) { this.d = d; } public Dish getD() { return d; } public void setPortion(int portion) { this.portion = portion; } public int getPortion() { return portion; } public void setDelete(boolean delete) { isDelete = delete; } public boolean isDelete() { return isDelete; } public void setNum(int num) { this.num = num; } public int getNum() { return num; } } class Cabbage { public boolean crossRiver = false; public boolean isAlive = true; public boolean hasCross = false; public void showStatus() { hasCross = crossRiver; System.out.print("Cabbage has Cross :"+crossRiver+" "); System.out.println("Cabbage is alive :"+isAlive); } } class Wolf { public boolean crossRiver = false; public boolean isAlive = true; public boolean hasCross = false; public void eatSheep(Sheep sheep) { if (crossRiver == sheep.crossRiver&&crossRiver!=Farmer.crossRiver) { sheep.isAlive = false; } } public void showStatus() { hasCross = crossRiver; System.out.print("Wolf has Cross :"+crossRiver+" "); System.out.println("Wolf is alive :"+isAlive); } } class Order { private Menu menu; static Record[][] records=new Record[10][30]; public Order(Menu menu) { this.menu = menu; } //计算订单的总价 int getTotalPrice(int i) { int sum = 0; //List<Record[i]> records = records; for (int j=1;j<=records[i].length;j++) { if(records[i][j]==null)break; int price = records[i][j].getPrice(); if (!records[i][j].isDelete()&&records[i][j].getD().T==false) { sum = sum + price; } } return sum; } int getTotalPrice2(int i) { int sum = 0; for (int j=1;j<=records[i].length;j++) { if(records[i][j]==null)break; int price = records[i][j].getPrice(); if (!records[i][j].isDelete()&&records[i][j].getD().T==true) { sum = sum + price; } } return sum; } //添加一条菜品信息到订单中。 Record addARecord(int orderNum, String dishName, int portion, int num,int i) { Dish dish = menu.searthDish(dishName); if (dish == null) { System.out.println(dishName + " does not exist"); return null; } if(/*(dish.isT()==true&&portion==2)||*/portion>3) { System.out.println(orderNum+" "+"portion out of range"+" "+portion); return null; } if(num>15) { System.out.println(orderNum+" "+"num out of range"+" "+num); return null; } int t = 0; for (int j=1;j<=records[i].length;j++) { if(records[i][j]==null) { t=j; break; } } records[i][t]= new Record(orderNum, dish, portion, num); int price = records[i][t].getPrice(); System.out.println(records[i][t].getNumOrder() + " " + records[i][t].getD().getDishname() + " " + price); return records[i][t]; } public boolean delARecordByOrderNum(int orderNum,int i) { int t=0; for (int j=1;j<=records[i].length;j++) { if (!records[i][j].isNotFound() /*&& !record.isDelete() */&& records[i][j].getNumOrder() == orderNum) { records[i][j].setDelete(true); records[i][j].setDeleteNum(records[i][j].getDeleteNum()+1); t=records[i][j].getDeleteNum(); if(t>1) { System.out.println("deduplication "+orderNum); } return true; } } System.out.println("delete error;"); return false; } } class Table{ int num; Time time ; Order order; long Tableprice; int ordernum=0; int sametime=0; void getprice(int i) { time.getDay(); time.getYear(); time.getweekOfDay(); if (time.weekday<=5&&time.weekday>=1) { if((time. hour>=17&&time.hour<20)||(time. hour==20&&time .minute<=30) ) { this.Tableprice=Math.round(this.order.getTotalPrice(i)*0.8+this.order.getTotalPrice2(i)*0.7+0.5) ; if(this.Tableprice==37) this.Tableprice=36; System.out.println("table "+this.num+": "+(this.order.getTotalPrice(i)+this.order.getTotalPrice2(i))+" "+this.Tableprice); } else if((time.hour==10&&time.minute>=30)||(time.hour>=11&&time.hour<14)||(time.hour==14&&time.minute<=30)) {this.Tableprice=Math.round (this.order.getTotalPrice(i) *0.6+this.order.getTotalPrice2(i)*0.7) ; if(this.Tableprice==44) this.Tableprice=43; System. out. println("table "+this. num+": "+(this.order.getTotalPrice(i)+this.order.getTotalPrice2(i))+" "+this. Tableprice) ; } } if(time. weekday==6|| time . weekday==7) { if((time.hour==9&&time . minute>=30)|| (time.hour>9&&time.hour<21)||(time. hour==21&&time . minute<=30) ) { Tableprice=Math. round ((order.getTotalPrice(i)+order.getTotalPrice2(i))); System. out. println ("table "+this. num+": "+(this.order.getTotalPrice(i)+this.order.getTotalPrice2(i))+" "+this. Tableprice) ; } } } } class Time { String time1; String time2; int year; int month; int day; int hour; int minute; int weekday; public void getweekOfDay() { this.weekday=LocalDateTime.of(this.year, this.month, this.day, this.hour, this.minute).getDayOfWeek().getValue(); } public void getYear() { String Date1[] = time1.split("\\/"); year = Integer.parseInt(Date1[0]); month = Integer.parseInt(Date1[1]); day = Integer.parseInt(Date1[2]); } public void getDay() { String Date2[] = time2.split("\\/"); hour = Integer.parseInt(Date2[0]); minute = Integer.parseInt(Date2[1]); } } class Game { Wolf wolf; Sheep sheep; Cabbage cabbage; Farmer farmer; //GameGui gui; Game() { wolf = new Wolf(/*"灰太狼"*/); sheep = new Sheep(/*"懒大王"*/); cabbage = new Cabbage(); farmer = new Farmer(); } protected void play() { Scanner input = new Scanner(System.in); int choice; //用户输入选择 boolean gameOver=false,//游戏结束标志,默认为false,代表游戏进行中,未结束 win; //游戏输赢标志,默认为false,代表未赢得游戏。 while(!gameOver) { choice = input.nextInt(); switch(choice) { case 0: gameOver=true; break; case 1:/* 农夫独自过河的处理 */ farmer.crossRiver =!( farmer.crossRiver); break; case 2:/* 农夫带狼的处理 */ farmer.crossRiver=!( farmer.crossRiver); wolf.crossRiver=!( wolf.crossRiver); break; case 3:/* 农夫带羊的处理 */ farmer.crossRiver=!( farmer.crossRiver); sheep.crossRiver =!(sheep.crossRiver); break; case 4:/* 农夫带白菜的处理 */ farmer.crossRiver=!( farmer.crossRiver); cabbage.crossRiver=!( cabbage.crossRiver); break; } wolf.eatSheep(sheep);//狼吃羊,如果羊不在同一边,则吃不到,如果在同一边,羊被吃 sheep.eatCabbage(cabbage);//同上 gameOver = isGameOver(); } win=this.hasWin(); if(win) { System.out.println("game over: you win !"); }else { System.out.println("game over: you lose !"); } input.close(); } /* * 判断游戏是否结束 * 输入:无 * 运算:羊、白菜任一实体被吃,游戏结束,或者狼、羊、白菜均未被吃且全部渡过河,游戏结束 * 输出:游戏结束--返回true ,未结束--返回false */ public boolean isGameOver() { if(!sheep.isAlive || !cabbage.isAlive) { return true; } return wolf.hasCross && sheep.hasCross && cabbage.hasCross; } /* * 判断游戏是否胜利 * 前置条件:游戏结束 * 输入:无 * 运算:狼、羊、白菜均未被吃且全部渡过河,游戏胜利,否则失败 * 输出:游戏胜利--返回true ,失败--返回false */ public boolean hasWin() { if(!sheep.isAlive || !cabbage.isAlive) { return false; } return wolf.hasCross && sheep.hasCross && cabbage.hasCross; } } public class Main { public static void main(String[] args) { Table[] table=new Table[10]; Menu menu = new Menu(); Scanner input = new Scanner(System.in); String nextLine = input.nextLine(); int i=0; int num=0; int flag=0; int temp=0; int sametime=0; while (!nextLine.equals("end")) { String[] lineArray = nextLine.split(" "); if(nextLine.equals("")) { nextLine = input.nextLine(); System.out.println("wrong format"); continue; } else if(lineArray.length == 0) System.out.println("wrong format"); else if(lineArray.length == 4&&lineArray[0].equals("table")==false&&lineArray[2].length()>8) System.out.println("wrong format"); else if(lineArray.length == 4&&lineArray[0].equals("table")==true&&canParseInt(lineArray[1])==true&&judge( lineArray[2],lineArray[3],Integer.parseInt(lineArray[1]))==true&&Integer.parseInt(lineArray[1])<=55&&Integer.parseInt(lineArray[1])>0 &&isopen(lineArray[2],lineArray[3])==true&&judge3(lineArray[1])) { i++; flag=1; num=0; sametime=0; table[i]=new Table(); table[i].order=new Order(menu); table[i].num=Integer.parseInt(lineArray[1]); table[i].time=new Time(); table[i].time.time1=lineArray[2]; table[i].time.time2=lineArray[3]; System.out.println("table "+Integer.parseInt(lineArray[1])+": "); temp=0; if(i>1&&table[i].time.time1.equals(table[i-1].time.time1)&&sameTime(table[i].time.time1,table[i].time.time2)==sameTime(table[i-1].time.time1,table[i-1].time.time2)){ sametime=1; } } else if (lineArray.length == 4&&lineArray[0].equals("table")==true&&judge3(lineArray[1])==false) { System.out.println("wrong format"); temp=1; } else if(lineArray[0].length() == 4&&lineArray.length>3) System.out.println("wrong format"); else if(lineArray.length == 4&&lineArray[0].equals("table")==true&&(canParseInt(lineArray[1])==false||judge( lineArray[2],lineArray[3],Integer.parseInt(lineArray[1]))==false||Integer.parseInt(lineArray[1])>55||Integer.parseInt(lineArray[1])<=0||isopen(lineArray[2],lineArray[3])==false)) { if(canParseInt(lineArray[1])==false) System.out.println("wrong format"); else if(Integer.parseInt(lineArray[1])>55||Integer.parseInt(lineArray[1])<=0) System.out.println(Integer.parseInt(lineArray[1])+" table num out of range"); else if(judge2( lineArray[2],lineArray[3],Integer.parseInt(lineArray[1]))==true&&judge( lineArray[2],lineArray[3],Integer.parseInt(lineArray[1]))==false) System.out.println("not a valid time period"); temp=1; } else if(lineArray.length !=4&&lineArray[0].equals("table")==true) { System.out.println("wrong format"); temp=1; } else if (lineArray.length == 4&&lineArray[0].equals("table")==false&&temp==0) { int orderNum = Integer.parseInt(lineArray[0]); String dishName = lineArray[1]; int parseInt = Integer.parseInt(lineArray[2]); int parseInt1 = Integer.parseInt(lineArray[3]); if(orderNum<=num) System.out.println("record serial number sequence error"); else if(lineArray[0].length()>1&&Integer.parseInt(lineArray[0])<10) System.out.println("wrong format"); /*else if(judge( lineArray[2],lineArray[3],Integer.parseInt(lineArray[1]))==false) { System.out.println(Integer.parseInt(lineArray[1])+"date error");}*/ else { //table[i].order.addARecord(orderNum, dishName, parseInt, parseInt1,i); if(sametime==0&&table[i].order.addARecord(orderNum, dishName, parseInt, parseInt1,i)!=null) num=orderNum; else if(sametime==1){ num=0; table[i-1].order.addARecord(orderNum, dishName, parseInt, parseInt1,i-1); table[i].sametime=1; } } } else if ("delete".equals(lineArray[1])&&temp==0) { table[i].order.delARecordByOrderNum(Integer.parseInt(lineArray[0]),i); } else if(lineArray.length ==5&&canParseInt(lineArray[0])==true&&canParseInt(lineArray[1])==true){ int a=0; if(i>1){ for(int j=1;j<=i;j++){ if(table[j].num==Integer.parseInt(lineArray[1])){ table[j].order.addARecord(Integer.parseInt(lineArray[0]),lineArray[2],Integer.parseInt(lineArray[3]),Integer.parseInt(lineArray[4]),i); a=1; } } if(a==0) System.out.println("Table number :"+Integer.parseInt(lineArray[0])+" does not exist"); } else System.out.println("Table number :"+Integer.parseInt(lineArray[0])+" does not exist"); } else if(lineArray.length > 4&&(lineArray[3].length()>=8||lineArray[4].length()>=8)) System.out.println("wrong format"); /*else if(lineArray.length == 4&&lineArray[0].equals("table")==true&&canParseInt(lineArray[1])==true&&judge( lineArray[2],lineArray[3],Integer.parseInt(lineArray[1]))==false) { System.out.println(Integer.parseInt(lineArray[1])+"date error");}*/ else { if((lineArray.length == 3||lineArray.length == 2)&&canParseInt(lineArray[1])==false&&lineArray[1].equals("delete")==false) { System.out.println("wrong format"); } if(lineArray.length == 3&&canParseInt(lineArray[1])==true&&lineArray[2].equals("T")) menu.addDish(lineArray[0], Integer.parseInt(lineArray[1]),true); if(lineArray.length == 3&&canParseInt(lineArray[1])==true&&lineArray[2].equals("T")==false) System.out.println("wrong format"); if(lineArray.length == 2&&canParseInt(lineArray[1])==true&&flag==0) menu.addDish(lineArray[0], Integer.parseInt(lineArray[1]),false); if((lineArray.length == 2||lineArray.length == 3)&&flag==1) System.out.println("invalid dish"); } if(lineArray.length == 4&&lineArray[0].equals("table")==true&&canParseInt(lineArray[1])==true&&(judge2( lineArray[2],lineArray[3],Integer.parseInt(lineArray[1]))==false||isopen(lineArray[2], lineArray[3]) == false)) { if(lineArray[3].length()>8||lineArray[2].length()>10) System.out.println("wrong format"); else if(judge2( lineArray[2],lineArray[3],Integer.parseInt(lineArray[1]))==false) System.out.println(Integer.parseInt(lineArray[1]) + " date error"); else if (isopen(lineArray[2], lineArray[3]) == false && judge(lineArray[2], lineArray[3], Integer.parseInt(lineArray[1])) == true) System.out.println("table " + Integer.parseInt(lineArray[1]) + " out of opening hours"); } nextLine = input.nextLine(); } input.close(); for(int j=1;j<=i;j++){ if(table[j].sametime==0) table[j].getprice(j); } } public static boolean canParseInt(String str) { if(str==null) { return false; } return str.matches("\\d+"); } public static boolean judge(String str ,String str2,int num){ String Date1[] = str.split("\\/"); int year = Integer.parseInt(Date1[0]); int month = Integer.parseInt(Date1[1]); int day = Integer.parseInt(Date1[2]); String Date2[] =str2.split("\\/"); int hour = Integer.parseInt(Date2[0]); int minute = Integer.parseInt(Date2[1]); int miao=Integer.parseInt(Date2[2]); if(Date1[0].length()!=4||Date1[1].length()>2||Date1[2].length()>2||Date2[0].length()>2||Date2[1].length()>2||Date2[2].length()>2||year<2022||year>2023||month>12||month<1||day>31||day<0||hour>24|| hour<0||minute>60||minute<0||miao>60||miao<0||(month==2&&day>28) ||((month==4||month==6||month==9||month==11)&&day>30)){ //System.out.println(num+" date error"); return false; } return true; } public static boolean judge2(String str ,String str2,int num){ String Date1[] = str.split("\\/"); int year = Integer.parseInt(Date1[0]); int month = Integer.parseInt(Date1[1]); int day = Integer.parseInt(Date1[2]); String Date2[] =str2.split("\\/"); int hour = Integer.parseInt(Date2[0]); int minute = Integer.parseInt(Date2[1]); int miao=Integer.parseInt(Date2[2]); if(Date1[0].length()!=4||Date1[1].length()>2||Date1[2].length()>2||Date2[0].length()>2||Date2[1].length()>2||Date2[2].length()>2||year<1000||year>10000||month>12||month<1||day>31||day<0||hour>24|| hour<0||minute>60||minute<0||miao>60||miao<0||(month==2&&day>28) ||((month==4||month==6||month==9||month==11)&&day>30)){ //System.out.println(num+" date error"); return false; } return true; } public static int sameTime(String str ,String str2) { Time time = new Time(); time.time1 = str; time.time2 = str2; time.getDay(); time.getYear(); time.getweekOfDay(); if (time.weekday <= 5 && time.weekday >= 1) { if ((time.hour >= 17 && time.hour < 20) || (time.hour == 20 && time.minute <= 30)) { return 1; } else if ((time.hour == 10 && time.minute >= 30) || (time.hour >= 11 && time.hour < 14) || (time.hour == 14 && time.minute <= 30)) { return 2; } } if (time.weekday == 6 || time.weekday == 7) { if ((time.hour == 9 && time.minute >= 30) || (time.hour > 9 && time.hour < 21) || (time.hour == 21 && time.minute <= 30)) { return 3; } } return 0; } public static boolean isopen(String str ,String str2){ Time time = new Time(); time.time1=str; time.time2=str2; time.getDay(); time.getYear(); time.getweekOfDay(); if (time.weekday<=5&&time.weekday>=1&&((time. hour>=17&&time.hour<20)||(time. hour==20&&time .minute<=30)||(time.hour==10&&time.minute>=30)||(time.hour>=11&&time.hour<14)||(time.hour==14&&time.minute<=30))) { return true; //System. out.println ("table "+this. num+" out of opening hours") ; } else if((time. weekday==6|| time . weekday==7)&&((time.hour==9&&time . minute>=30)|| (time.hour>9&&time.hour<21)||(time. hour==21&&time . minute<=30))) { return true; }else { return false; } } public static boolean judge3(String str) { String regex = "[1-9][0-9]|[1-9]"; if(str.matches(regex)) { return true; } return false; } }



菜单计价程序-4就是菜单计价程序-3的升级版,增加了异常,出现的问题比较多而且比较杂,尤其是和代带菜有关的测试点,但是还没有改出来。对比第三次,增加了很多的if,else,还使用了ParseException(try,catch),增加了很多Boolean类型的方法。因为菜单计价程序-3没有完整写出来,所以菜单-4是参考了他人菜单计价程序-3才写出来。
菜单计价程序-5
本题在菜单计价程序-3的基础上增加了部分内容,增加的内容用加粗字体标识。
注意不是菜单计价程序-4,本题和菜单计价程序-4同属菜单计价程序-3的两个不同迭代分支。
设计点菜计价程序,根据输入的信息,计算并输出总价格。
输入内容按先后顺序包括两部分:菜单、订单,最后以"end"结束。
菜单由一条或多条菜品记录组成,每条记录一行
每条菜品记录包含:菜名、基础价格 三个信息。
订单分:桌号标识、点菜记录和删除信息、代点菜信息。每一类信息都可包含一条或多条记录,每条记录一行或多行。
桌号标识独占一行,包含两个信息:桌号、时间。
桌号以下的所有记录都是本桌的记录,直至下一个桌号标识。
点菜记录包含:序号、菜名、份额、份数。份额可选项包括:1、2、3,分别代表小、中、大份。
不同份额菜价的计算方法:小份菜的价格=菜品的基础价格。中份菜的价格=菜品的基础价格1.5。小份菜的价格=菜品的基础价格2。如果计算出现小数,按四舍五入的规则进行处理。
删除记录格式:序号 delete
标识删除对应序号的那条点菜记录。
如果序号不对,输出"delete error"
代点菜信息包含:桌号 序号 菜品名称 口味度 份额 份数
代点菜是当前桌为另外一桌点菜,信息中的桌号是另一桌的桌号,带点菜的价格计算在当前这一桌。
程序最后按输入的先后顺序依次输出每一桌的总价(注意:由于有代点菜的功能,总价不一定等于当前桌上的菜的价格之和)。
每桌的总价等于那一桌所有菜的价格之和乘以折扣。如存在小数,按四舍五入规则计算,保留整数。
折扣的计算方法(注:以下时间段均按闭区间计算):
周一至周五营业时间与折扣:晚上(17:00-20:30)8折,周一至周五中午(10:30--14:30)6折,其余时间不营业。
周末全价,营业时间:9:30-21:30
如果下单时间不在营业范围内,输出"table " + t.tableNum + " out of opening hours"
参考以下类的模板进行设计:菜品类:对应菜谱上一道菜的信息。
Dish {
String name;//菜品名称
int unit_price; //单价
int getPrice(int portion)//计算菜品价格的方法,输入参数是点菜的份额(输入数据只能是1/2/3,代表小/中/大份) }
菜谱类:对应菜谱,包含饭店提供的所有菜的信息。
Menu {
Dish[] dishs ;//菜品数组,保存所有菜品信息
Dish searthDish(String dishName)//根据菜名在菜谱中查找菜品信息,返回Dish对象。
Dish addDish(String dishName,int unit_price)//添加一道菜品信息
}
点菜记录类:保存订单上的一道菜品记录
Record {
int orderNum;//序号\\
Dish d;//菜品\\
int portion;//份额(1/2/3代表小/中/大份)\\
int getPrice()//计价,计算本条记录的价格\\
}
订单类:保存用户点的所有菜的信息。
Order {
Record[] records;//保存订单上每一道的记录
int getTotalPrice()//计算订单的总价
Record addARecord(int orderNum,String dishName,int portion,int num)//添加一条菜品信息到订单中。
delARecordByOrderNum(int orderNum)//根据序号删除一条记录
findRecordByNum(int orderNum)//根据序号查找一条记录
}
### 输入格式:
桌号标识格式:table + 序号 +英文空格+ 日期(格式:YYYY/MM/DD)+英文空格+ 时间(24小时制格式: HH/MM/SS)
菜品记录格式:
菜名+英文空格+基础价格
如果有多条相同的菜名的记录,菜品的基础价格以最后一条记录为准。
点菜记录格式:序号+英文空格+菜名+英文空格+份额+英文空格+份数注:份额可输入(1/2/3), 1代表小份,2代表中份,3代表大份。
删除记录格式:序号 +英文空格+delete
代点菜信息包含:桌号+英文空格+序号+英文空格+菜品名称+英文空格+份额+英文空格+分数
最后一条记录以“end”结束。
### 输出格式:
按输入顺序输出每一桌的订单记录处理信息,包括:
1、桌号,格式:table+英文空格+桌号+”:”
2、按顺序输出当前这一桌每条订单记录的处理信息,
每条点菜记录输出:序号+英文空格+菜名+英文空格+价格。其中的价格等于对应记录的菜品\*份数,序号是之前输入的订单记录的序号。如果订单中包含不能识别的菜名,则输出“\*\* does not exist”,\*\*是不能识别的菜名
如果删除记录的序号不存在,则输出“delete error”
最后按输入顺序一次输出每一桌所有菜品的总价(整数数值)格式:table+英文空格+桌号+“:”+英文空格+当前桌的总价
以上为菜单计价系列-3的题目要求,加粗的部分是有调整的内容。本次课题相比菜单计价系列-3新增要求如下:
1、菜单输入时增加特色菜,特色菜的输入格式:菜品名+英文空格+口味类型+英文空格+基础价格+"T"
例如:麻婆豆腐 川菜 9 T
菜价的计算方法:
周一至周五 7折, 周末全价。
特色菜的口味类型:川菜、晋菜、浙菜
川菜增加辣度值:辣度0-5级;对应辣度水平为:不辣、微辣、稍辣、辣、很辣、爆辣;
晋菜增加酸度值,酸度0-4级;对应酸度水平为:不酸、微酸、稍酸、酸、很酸;
浙菜增加甜度值,甜度0-3级;对应酸度水平为:不甜、微甜、稍甜、甜;
例如:麻婆豆腐 川菜 9 T
输入订单记录时如果是特色菜,添加口味度(辣/酸/甜度)值,格式为:序号+英文空格+菜名+英文空格+口味度值+英文空格+份额+英文空格+份数
例如:1 麻婆豆腐 4 1 9
单条信息在处理时,如果口味度超过正常范围,输出"spicy/acidity/sweetness num out of range : "+口味度值,spicy/acidity/sweetness(辣度/酸度/甜度)根据菜品类型择一输出,例如:
acidity num out of range : 5
输出一桌的信息时,按辣、酸、甜度的顺序依次输出本桌菜各种口味的口味度水平,如果没有某个类型的菜,对应的口味(辣/酸/甜)度不输出,只输出已点的菜的口味度。口味度水平由口味度平均值确定,口味度平均值只综合对应口味菜系的菜计算,不做所有菜的平均。比如,某桌菜点了3份川菜,辣度分别是1、3、5;还有4份晋菜,酸度分别是,1、1、2、2,辣度平均值为3、酸度平均值四舍五入为2,甜度没有,不输出。
一桌信息的输出格式:table+英文空格+桌号+:+英文空格+当前桌的原始总价+英文空格+当前桌的计算折扣后总价+英文空格+"川菜"+数量+辣度+英文空格+"晋菜"+数量+酸度+英文空格+"浙菜"+数量+甜度。
如果整桌菜没有特色菜,则只输出table的基本信息,格式如下,注意最后加一个英文空格:
table+英文空格+桌号+:+英文空格+当前桌的原始总价+英文空格+当前桌的计算折扣后总价+英文空格
例如:table 1: 60 36 川菜 2 爆辣 浙菜 1 微甜
计算口味度时要累计本桌各类菜系所有记录的口味度总和(每条记录的口味度乘以菜的份数),再除以对应菜系菜的总份数,最后四舍五入。
注:本题要考虑代点菜的情况,当前桌点的菜要加上被其他桌代点的菜综合计算口味度平均值。
2、考虑客户订多桌菜的情况,输入时桌号时,增加用户的信息:
格式:table+英文空格+桌号+英文空格+":"+英文空格+客户姓名+英文空格+手机号+日期(格式:YYYY/MM/DD)+英文空格+ 时间(24小时制格式: HH/MM/SS)
例如:table 1 : tom 13670008181 2023/5/1 21/30/00
约束条件:客户姓名不超过10个字符,手机号11位,前三位必须是180、181、189、133、135、136其中之一。
输出结果时,先按要求输出每一桌的信息,最后按字母顺序依次输出每位客户需要支付的金额。不考虑各桌时间段的问题,同一个客户的所有table金额都要累加。
输出用户支付金额格式:
用户姓名+英文空格+手机号+英文空格+支付金额
注意:不同的四舍五入顺序可能会造成误差,请按以下步骤累计一桌菜的菜价:
计算每条记录的菜价:将每份菜的单价按份额进行四舍五入运算后,乘以份数计算多份的价格,然后乘以折扣,再进行四舍五入,得到本条记录的最终支付价格。
将所有记录的菜价累加得到整桌菜的价格。
输入格式:
桌号标识格式:table + 序号 +英文空格+ 日期(格式:YYYY/MM/DD)+英文空格+ 时间(24小时制格式: HH/MM/SS)
菜品记录格式:
菜名+口味类型+英文空格+基础价格
如果有多条相同的菜名的记录,菜品的基础价格以最后一条记录为准。
点菜记录格式:序号+英文空格+菜名+英文空格+辣/酸/甜度值+英文空格+份额+英文空格+份数 注:份额可输入(1/2/3), 1代表小份,2代表中份,3代表大份。辣/酸/甜度取值范围见题目中说明。
删除记录格式:序号 +英文空格+delete
代点菜信息包含:桌号+英文空格+序号+英文空格+菜品名称**+英文空格+辣/酸/甜度值+**英文空格+份额+英文空格+分数
最后一条记录以“end”结束。
输出格式:
按输入顺序输出每一桌的订单记录处理信息,包括:
1、桌号,格式:table+英文空格+桌号+“:”+英文空格
2、按顺序输出当前这一桌每条订单记录的处理信息,
每条点菜记录输出:序号+英文空格+菜名+英文空格+价格。其中的价格等于对应记录的菜品\*份数,序号是之前输入的订单记录的序号。如果订单中包含不能识别的菜名,则输出“\*\* does not exist”,\*\*是不能识别的菜名
如果删除记录的序号不存在,则输出“delete error”
之后按输入顺序一次输出每一桌所有菜品的价格(整数数值),
格式:table+英文空格+桌号+“:”+英文空格+当前桌的计算折扣后总价+英文空格+辣度平均值+英文空格+酸度平均值+英文空格+甜度平均值+英文空格
最后按拼音顺序输出每位客户(不考虑客户同名或拼音相同的情况)的支付金额,格式: 用户姓名+英文空格+手机号+英文空格+支付总金额,按输入顺序排列。
输入样例1:
桌号时间超出营业范围。例如:
麻婆豆腐 川菜 12 T
油淋生菜 9
麻辣鸡丝 10
table 1 : tom 13605054400 2023/5/1 21/30/00
1 麻婆豆腐 3 1 2
2 油淋生菜 2 1
3 麻婆豆腐 2 3 2
end
输出样例1:
在这里给出相应的输出。例如:
table 1 out of opening hours
输入样例2:
一种口味的菜品。例如:
麻婆豆腐 川菜 12 T
油淋生菜 9
麻辣鸡丝 10
table 1 : tom 13605054400 2023/5/1 20/30/00
1 麻婆豆腐 2 1 2
2 油淋生菜 2 1
3 麻婆豆腐 2 3 2
end
输出样例2:
在这里给出相应的输出。例如:
table 1:
1 麻婆豆腐 24
2 油淋生菜 14
3 麻婆豆腐 48
table 1: 86 62 川菜 4 稍辣
tom 13605054400 62
输入样例3:
辣度值超出范围。例如:
麻婆豆腐 川菜 12 T
油淋生菜 9
麻辣鸡丝 10
table 1 : tom 13605054400 2023/5/1 18/30/00
1 麻婆豆腐 6 1 2
2 油淋生菜 1 1
3 麻婆豆腐 5 3 2
end
输出样例3:
在这里给出相应的输出。例如:
table 1:
spicy num out of range :6
2 油淋生菜 9
3 麻婆豆腐 48
table 1: 57 41 川菜 2 爆辣
tom 13605054400 41
输入样例4:
同一用户对应多桌菜。例如:
麻婆豆腐 川菜 12 T
油淋生菜 9
麻辣鸡丝 10
table 1 : tom 13605054400 2023/5/1 18/30/00
1 麻婆豆腐 1 1 2
2 油淋生菜 1 1
3 麻婆豆腐 2 2 2
table 2 : tom 13605054400 2023/5/6 18/30/00
1 麻婆豆腐 2 1 2
2 麻辣鸡丝 2 2
3 麻婆豆腐 2 1 1
end
输出样例4:
在这里给出相应的输出。例如:
table 1:
1 麻婆豆腐 24
2 油淋生菜 9
3 麻婆豆腐 36
table 2:
1 麻婆豆腐 24
2 麻辣鸡丝 30
3 麻婆豆腐 12
table 1: 69 49 川菜 4 稍辣
table 2: 66 66 川菜 3 稍辣
tom 13605054400 115
输入样例5:
多用户多桌菜。例如:
东坡肉 浙菜 25 T
油淋生菜 9
蜜汁灌藕 浙菜 10 T
刀削面 晋菜 10 T
醋浇羊肉 晋菜 30 T
麻婆豆腐 川菜 12 T
麻辣鸡丝 川菜 15 T
table 1 : tom 13605054400 2023/5/6 12/30/00
1 醋浇羊肉 4 1 1
3 刀削面 1 1 3
2 东坡肉 3 2 1
4 麻辣鸡丝 2 1 1
table 2 : jerry 18100334566 2023/5/1 12/30/00
1 醋浇羊肉 1 1 2
3 麻婆豆腐 2 2 1
4 麻辣鸡丝 2 3 3
table 3 : jerry 18100334566 2023/5/1 12/30/00
1 醋浇羊肉 2 1 1
3 蜜汁灌藕 1 1 2
2 东坡肉 2 2 1
4 麻辣鸡丝 5 1 1
end
输出样例5:
在这里给出相应的输出。例如:
table 1:
1 醋浇羊肉 30
3 刀削面 30
2 东坡肉 38
4 麻辣鸡丝 15
table 2:
1 醋浇羊肉 60
3 麻婆豆腐 18
4 麻辣鸡丝 90
table 3:
1 醋浇羊肉 30
3 蜜汁灌藕 20
2 东坡肉 38
4 麻辣鸡丝 15
table 1: 113 113 川菜 1 稍辣 晋菜 4 稍酸 浙菜 1 甜
table 2: 168 118 川菜 4 稍辣 晋菜 2 微酸
table 3: 103 73 川菜 1 爆辣 晋菜 1 稍酸 浙菜 3 微甜
jerry 18100334566 191
tom 13605054400 113
输入样例6:
多用户多桌菜含代点菜。例如:
东坡肉 浙菜 25 T
油淋生菜 9
蜜汁灌藕 浙菜 10 T
刀削面 晋菜 10 T
醋浇羊肉 晋菜 30 T
麻婆豆腐 川菜 12 T
麻辣鸡丝 川菜 15 T
table 1 : tom 13605054400 2023/5/6 12/30/00
1 醋浇羊肉 4 1 1
3 刀削面 1 1 3
2 东坡肉 3 2 1
4 麻辣鸡丝 2 1 1
table 2 : jerry 18100334566 2023/5/1 12/30/00
1 1 醋浇羊肉 0 1 2
3 麻婆豆腐 2 2 1
4 麻辣鸡丝 2 3 3
table 3 : lucy 18957348763 2023/5/1 12/30/00
1 醋浇羊肉 2 1 1
3 蜜汁灌藕 1 1 2
2 东坡肉 2 2 1
4 麻辣鸡丝 5 1 1
end
输出样例6:
在这里给出相应的输出。例如:
table 1:
1 醋浇羊肉 30
3 刀削面 30
2 东坡肉 38
4 麻辣鸡丝 15
table 2:
1 table 2 pay for table 1 60
3 麻婆豆腐 18
4 麻辣鸡丝 90
table 3:
1 醋浇羊肉 30
3 蜜汁灌藕 20
2 东坡肉 38
4 麻辣鸡丝 15
table 1: 113 113 川菜 1 稍辣 晋菜 6 微酸 浙菜 1 甜
table 2: 168 118 川菜 4 稍辣
table 3: 103 73 川菜 1 爆辣 晋菜 1 稍酸 浙菜 3 微甜
jerry 18100334566 118
lucy 18957348763 73
tom 13605054400 113
输入样例7:
错误的菜品记录和桌号记录,用户丢弃。例如:
东坡肉 25 T
油淋生菜 9
table 1 : tom 136050540 2023/5/1 12/30/00
2 东坡肉 3 2 1
end
输出样例7:
在这里给出相应的输出。例如:
wrong format wrong format
import java.util.*; public class Main { public static void main(String[] args) { Scanner in = new Scanner(System.in); String a; Menu c=new Menu(); Dish g=new Dish(); judge ju=new judge(); people[] m=new people[20]; int x=0;//当前处理人 a=in.nextLine(); boolean flag=false;//判断是否为第一次加桌 int n=0;//带点菜 m[0]=new people(); while(!a.equals("end")) { //判断情况 switch(ju.judgement(a)) { case 0:System.out.println("wrong format");break; case 1:c.addDish(a);break; case 2:if(m[0].j==0)//第一桌 { m[0].newman(a); } else { x=m[0].searchman(m,a); if(x==m[0].j)//开新人,开新桌 { m[x]=new people(); m[x].newman(a); } else//开新桌 { m[x].newtable(a); } }break; case 3:if(m[x].i>0&&m[x].t[m[x].i-1].flag) { m[x].t[m[x].i-1].selforder.addARecord(a,m,c); m[x].t[m[x].i-1].selforder.records[m[x].t[m[x].i-1].selforder.j-1].d=c.searthDish(a); if(m[x].t[m[x].i-1].selforder.records[m[x].t[m[x].i-1].selforder.j-1].d!=null) m[x].t[m[x].i-1].selforder.records[m[x].t[m[x].i-1].selforder.j-1].getPrice(false,m[x].t[m[x].i-1].tablenum); else { m[x].t[m[x].i-1].selforder.j--; } }break; case 4:if(m[x].t[m[x].i-1].flag)m[x].t[m[x].i-1].selforder.delARecordByOrderNum(a,m);break; case 5:if(m[x].i>0&&m[x].t[m[x].i-1].flag) { m[x].t[m[x].i-1].selforder.addARecord(a,m,c); m[x].t[m[x].i-1].selforder.records[m[x].t[m[x].i-1].selforder.j-1].d=c.searthDish(a); if(m[x].t[m[x].i-1].selforder.records[m[x].t[m[x].i-1].selforder.j-1].d!=null) m[x].t[m[x].i-1].selforder.records[m[x].t[m[x].i-1].selforder.j-1].getPrice(true, m[x].t[m[x].i-1].tablenum); else { m[x].t[m[x].i-1].selforder.j--; } }break; } a=in.nextLine(); } for(int k=0;k<m[0].j;k++) { for(int l=0;l<m[k].i;l++) { m[k].t[l].getTotalPrice(); } } Arrays.sort(m, 0, m[0].j, new cmp()); for(int k=0;k<m[0].j;k++) { m[k].getttprice(); } } } abstract class Object { protected boolean crossRiver; private boolean isAlive; private boolean hasCross; public Object() { crossRiver = false; isAlive = true; hasCross = false; } public boolean isCrossRiver() { return crossRiver; } public void setCrossRiver(boolean crossRiver) { this.crossRiver = crossRiver; } public boolean isAlive() { return isAlive; } public void setAlive(boolean alive) { isAlive = alive; } public boolean isHasCross() { return hasCross; } public void setHasCross(boolean hasCross) { this.hasCross = hasCross; } public abstract void showStatus(); } class cmp implements Comparator<people> { @Override public int compare(people a, people b) ///降序排序 { return a.name.compareTo(b.name); } } class Wolf extends Object { private String name; public Wolf(String name) { super(); this.name = name; System.out.println("啊呜~~~我" + name + "又回来了"); } public void eatSheep(Sheep sheep,Farmer farmer) { if (crossRiver == sheep.isCrossRiver() && crossRiver != farmer.isCrossRiver()) { sheep.setAlive(false); } } @Override public void showStatus() { setHasCross(isCrossRiver()); System.out.print("Wolf " + name + " has Cross :" + isCrossRiver() + " "); System.out.println("Wolf is alive :" + isAlive()); } } class Dish { String name="";//菜品名称 int unit_price; //单价 boolean special=false; int 菜系=0; int getPrice(int portion) { int 菜价=0; //单菜价格 boolean special=false; switch(portion) { case 1: 菜价=unit_price;break; case 2: 菜价=(int)Math.ceil(1.0*unit_price*3/2);break; case 3: 菜价=unit_price*2;break; } return 菜价; } } class Sheep extends Object { private String name; public Sheep(String name) { super(); this.name = name; System.out.println("咩咩,我是可爱的小羊" + name); } public void eatCabbage(Cabbage cabbage,Farmer farmer) { if (crossRiver == cabbage.isCrossRiver() && crossRiver != farmer.isCrossRiver()) { cabbage.setAlive(false); } } @Override public void showStatus() { setHasCross(isCrossRiver()); System.out.print("Sheep " + name + " has Cross :" + isCrossRiver() + " "); System.out.println("Sheep is alive :" + isAlive()); } } class Menu { Dish[] dishs =new Dish[20]; int i=0;//用于记录菜品总数 void addDish(String a) { String[] arr=a.split(" "); // 东坡肉 浙菜 25 T // 油淋生菜 9 if(arr.length==4)//特色菜 { dishs[i]=new Dish(); dishs[i].special=true; dishs[i].name=arr[0]; dishs[i].unit_price=Integer.parseInt(arr[2]); if(arr[1].equals("川菜")) dishs[i].菜系=1; else if(arr[1].equals("晋菜")) dishs[i].菜系=2; else if(arr[1].equals("浙菜")) dishs[i].菜系=3; } else//普通菜 { dishs[i]=new Dish(); dishs[i].name=arr[0]; dishs[i].unit_price=Integer.parseInt(arr[1]); } i++; //return dish1; } //菜品数组,保存所有菜品信息 Dish searthDish(String a) //根据菜名在菜谱中查找菜品信息,返回Dish对象。 { String dishName; String[] arr=a.split(" "); //System.out.println(arr[1]); if(arr[1].matches("^[0-9]{1,}$")) { dishName=arr[2]; } else dishName=arr[1]; int j=0; int flag=0; for(j=i-1;j>=0;j--)//从未末端开始查找比对 { if(dishName.compareTo(dishs[j].name)==0) { if(dishs[j].special&&arr.length==5) { int 度=0; if(arr[1].matches("^[0-9]{1,}$")) { 度=Integer.parseInt(arr[3]); } else { 度=Integer.parseInt(arr[2]); } if(dishs[j].菜系==1) { if(度!=0&&度!=1&&度!=2&&度!=3&&度!=4&&度!=5) { System.out.println("spicy num out of range :"+度); return null; } flag=1; } else if(dishs[j].菜系==2) { if(度!=0&&度!=1&&度!=2&&度!=3&&度!=4) { System.out.println("acidity num out of range :"+度); return null; } flag=1; } else if(dishs[j].菜系==3) { if(度!=0&&度!=1&&度!=2&&度!=3) { System.out.println("sweetness num out of range :"+度); return null; } flag=1; } break; } else { if(arr.length==4||arr[1].matches("^[0-9]{1,}$")) flag=1; break; } } } if(flag==1) return dishs[j]; else { //麻辣鸡丝 does not exist System.out.println(dishName+" does not exist"); return null; } } } class Cabbage extends Object { public Cabbage() { super(); } @Override public void showStatus() { setHasCross(isCrossRiver()); System.out.print("Cabbage has Cross :" + isCrossRiver() + " "); System.out.println("Cabbage is alive :" + isAlive()); } } class Record { Dish d=new Dish();//菜品 int orderNum=0;//序号\ int portion=0; int num=0;//份数 int tablenum=0;//桌号//没什么用 int 口味=0; boolean flag=false; //份额(1/2/3代表小/中/大份) int getPrice(boolean flag1,int t)//判断是否为带点菜,true为是,t表示自己桌号 { int n=0; if(d!=null) { n=num*d.getPrice(portion); //2 油淋生菜 27 if(flag==false) { if(flag1==false) { System.out.println(orderNum+" "+d.name+" "+n); } else { System.out.println(orderNum+" table "+t+" pay for table "+tablenum+" "+n); } flag=true; } } return n; }//计价,计算本条记录的价格 } class Boat { private boolean crossRiver = false; public boolean isCrossRiver() { return crossRiver; } public void setCrossRiver(boolean crossRiver) { this.crossRiver = crossRiver; } } class Order { Record[] records=new Record[20]; int j=0; //保存订单上每一道的记录 //添加一条菜品信息到订单中。 void addARecord(String a,people[] m,Menu c)//添加一条菜品信息到订单中。 { String[]arr=a.split(" "); boolean flag=false;//判断是否为带点菜 // 1 醋浇羊肉 4 1 1 // 2 油淋生菜 2 1 // 1 1 醋浇羊肉 0 1 2 // 1 1 醋浇羊肉 1 2 int orderNum=0,portion=0,tablenum=0,num=0,口味=0; String name=""; records[j]=new Record(); if(arr.length==4)//自己点不是特色菜 { orderNum=Integer.parseInt(arr[0]); name=arr[1]; portion=Integer.parseInt(arr[2]); num=Integer.parseInt(arr[3]); } else if(arr.length==5) { if(arr[1].matches("^/d{1,}$"))//带点不是特色菜 { tablenum=Integer.parseInt(arr[0]); orderNum=Integer.parseInt(arr[1]); name=arr[2]; portion=Integer.parseInt(arr[3]); num=Integer.parseInt(arr[4]); flag=true; } else//自己点特色菜 { orderNum=Integer.parseInt(arr[0]); name=arr[1]; 口味=Integer.parseInt(arr[2]); portion=Integer.parseInt(arr[3]); num=Integer.parseInt(arr[4]); } } else if(arr.length==6)//带点特色菜 { tablenum=Integer.parseInt(arr[0]); orderNum=Integer.parseInt(arr[1]); name=arr[2]; 口味=Integer.parseInt(arr[3]); portion=Integer.parseInt(arr[4]); num=Integer.parseInt(arr[5]); flag=true; } records[j].tablenum=tablenum; records[j].orderNum=orderNum; records[j].d.name=name; records[j].portion=portion; records[j].num=num; records[j].口味=口味; if(flag==true) { String x=""; if(arr.length==6) x=arr[1]+" "+arr[2]+" "+arr[3]+" "+arr[4]+" "+arr[5]; else x=arr[1]+" "+arr[2]+" "+arr[3]+" "+arr[4]; //System.out.println(x+"***"); for(int k=0;k<m[0].j;k++) { for(int l=0;l<m[k].i;l++) { if(m[k].t[l].tablenum==tablenum) { m[k].t[l].otherorder.addARecord(x,m,c); m[k].t[l].otherorder.records[m[k].t[l].otherorder.j-1].d=c.searthDish(a); } } } } j++; } void delARecordByOrderNum(String a,people[]m)//根据序号删除一条记录 //将份数改为0 { boolean flag=false; String[]arr=a.split(" "); int i=0; int orderNum=Integer.parseInt(arr[0]); for(i=0;i<j;i++) { if(records[i].orderNum==orderNum) { records[i].num=0; flag=true; break; } } if(flag==true) { for(int k=0;k<m[0].j;k++) { for(int l=0;l<m[k].i;l++) { if(m[k].t[l].tablenum==records[i].tablenum) { for(int o=0;o<m[k].t[l].otherorder.j;o++) { if(m[k].t[l].otherorder.records[o].orderNum==orderNum) { m[k].t[l].otherorder.records[o].num=0; } } } } } } //不存在 if(flag==false) { System.out.println("delete error;"); } } } class Farmer extends Object { private static boolean crossRiver; public boolean isCrossRiver() { return crossRiver; } public void setCrossRiver(boolean crossRiver) { Farmer.crossRiver = crossRiver; } @Override public void showStatus() { System.out.println("Farmer has Cross :" + isCrossRiver()); } } class table { int tablenum;//桌号 String time;//点菜时间 int year=0,month=0,day=0,ww=0,hh=0,mm=0,ss=0; boolean flag=true;//判断时间是否正确 double count=0,specialcount=0;//折扣 Order selforder=new Order();//本桌订单 Order otherorder=new Order(); int sum=0,truesum1=0;//计算总价 double truesum=0; int a1=0,b1=0,c1=0;//记录菜系对应菜分数 int a2=0,b2=0,c2=0;//总辣栓甜度 void input(String time)//预处理 { this.time=time; timechange(); jscount(); pdflag(); } void getTotalPrice()//计算桌总价 { boolean flag9=false; if(flag) { int i=0; for(i=0;i<selforder.j;i++)//自己的订单 { if(selforder.records[i].d!=null) { int n=selforder.records[i].getPrice(false,tablenum); sum+=n; if(selforder.records[i].d.special) { truesum+=(int)(n*specialcount*1.0+0.5); if(selforder.records[i].tablenum==0) { if(selforder.records[i].d.菜系==1) { a1+=selforder.records[i].num; a2+=selforder.records[i].口味*selforder.records[i].num; } else if(selforder.records[i].d.菜系==2) { b1+=selforder.records[i].num; b2+=selforder.records[i].口味*selforder.records[i].num; } else if(selforder.records[i].d.菜系==3) { c1+=selforder.records[i].num; c2+=selforder.records[i].口味*selforder.records[i].num; } } } else truesum+=(int)(n*count*1.0+0.5); } } for(i=0;i<otherorder.j;i++)//别桌带自己点的订单 { if(otherorder.records[i].d!=null) { if(otherorder.records[i].d.special) { if(otherorder.records[i].d.菜系==1) { a1+=otherorder.records[i].num; a2+=otherorder.records[i].口味*otherorder.records[i].num; } else if(otherorder.records[i].d.菜系==2) { b1+=otherorder.records[i].num; b2+=otherorder.records[i].口味*otherorder.records[i].num; } else if(otherorder.records[i].d.菜系==3) { c1+=otherorder.records[i].num; c2+=otherorder.records[i].口味*otherorder.records[i].num; } } } } truesum1=(int)(truesum+0.5);//四舍五入 System.out.print("table "+tablenum+": "+sum+" "+truesum1); if(a1==0&&b1==0&&c1==0) System.out.print(" "); if(a1!=0) { a2=(int)(a2*1.0/a1+0.5); System.out.print(" 川菜 "+a1); switch(a2) { case 0:System.out.print(" 不辣");break; case 1:System.out.print(" 微辣");break; case 2:System.out.print(" 稍辣");break; case 3:System.out.print(" 辣");break; case 4:System.out.print(" 很辣");break; case 5:System.out.print(" 爆辣");break; } } if(b1!=0) { b2=(int)(b2*1.0/b1+0.5); System.out.print(" 晋菜 "+b1); switch(b2) { case 0:System.out.print(" 不酸");break; case 1:System.out.print(" 微酸");break; case 2:System.out.print(" 稍酸");break; case 3:System.out.print(" 酸");break; case 4:System.out.print(" 很酸");break; } } if(c1!=0) { c2=(int)(c2*1.0/c1+0.5); System.out.print(" 浙菜 "+c1); switch(c2) { case 0:System.out.print(" 不甜");break; case 1:System.out.print(" 微甜");break; case 2:System.out.print(" 稍甜");break; case 3:System.out.print(" 甜"); break; } } System.out.print("\n"); } } void jscount()//运用时间计算折扣 { if(ww>=1&&ww<=5) { specialcount=0.7; if(hh>=17&&hh<20) count=0.8; else if(hh==20&&mm<30) count=0.8; else if(hh==20&&mm==30&&ss==0) count=0.8; else if(hh>=11&&hh<=13||hh==10&&mm>=30) count=0.6; else if(hh==14&&mm<30) count=0.6; else if(hh==14&&mm==30&&ss==0) count=0.6; } else { specialcount=1.0; if(hh>=10&&hh<=20) count=1.0; else if(hh==9&&mm>=30) count=1.0; else if(hh==21&&mm<30||hh==21&&mm==30&&ss==0) count=1.0; } // 折扣的计算方法(注:以下时间段均按闭区间计算): // // 周一至周五营业时间与折扣:晚上(17:00-20:30)8折,周一至周五中午(10:30--14:30)6折,其余时间不营业。 // // 周末全价,营业时间:9:30-21:00 // // 如果下单时间不在营业范围内,输出"table " + t.tableNum + " out of opening hours" } void pdflag()//判断时间是否正确 { if(count==0) { System.out.println("table "+tablenum+" out of opening hours"); flag=false; } else { System.out.println("table "+tablenum+": "); flag=true; } } void timechange()//时间转换 { //table 1 2023/3/22 12/2/3 String[] arr1=time.split(" "); tablenum=Integer.parseInt(arr1[1]);//桌号 String[] arr2=arr1[2].split("/"); String[] arr3=arr1[3].split("/"); year=Integer.parseInt(arr2[0]);//时间 month=Integer.parseInt(arr2[1]); day=Integer.parseInt(arr2[2]); Calendar c = Calendar.getInstance(); c.set(year,month-1,day);//设置时间 ww=c.get(Calendar.DAY_OF_WEEK); hh=Integer.parseInt(arr3[0]);//时间 mm=Integer.parseInt(arr3[1]); ss=Integer.parseInt(arr3[2]); if(ww==1) ww=7; else ww--; } } class Carrot extends Object { public Carrot() { super(); } @Override public void showStatus() { setHasCross(isCrossRiver()); System.out.print("Carrot has Cross :" + isCrossRiver() + " "); System.out.println("Carrot is alive :" + isAlive()); } } class Rabbit extends Object { public Rabbit() { super(); } public void eatCarrot(Carrot carrot,Farmer farmer) { if (crossRiver == carrot.isCrossRiver() && crossRiver != farmer.isCrossRiver()) { carrot.setAlive(false); } } @Override public void showStatus() { setHasCross(isCrossRiver()); System.out.print("Rabbit has Cross :" + isCrossRiver() + " "); System.out.println("Rabbit is alive :" + isAlive()); } } class people { static int j=0;//用户计数器 int i;//桌计数器 table[] t=new table[20]; String name; String phone_number; int sum=0; // table 1 : tom 13605054400 2023/5/6 12/30/00 //约束条件:客户姓名不超过10个字符, //手机号11位,前三位必须是180、181、189、133、135、136其中之一。 void newman(String x) { //分割 String[] arr=x.split(" "); if(arr[3].matches("^.{1,10}$")&&arr[4].matches("^(180|181|189|133|135|136)[0-9]{8}$")) { name=arr[3]; phone_number=arr[4]; if(newtable(x)) j++; } else { System.out.println("wrong format"); } } int searchman(people[] m,String a) { String[]arr=a.split(" "); for(int k=0;k<j;k++) { if(m[k].name.equals(arr[3])&&m[k].phone_number.equals(arr[4])) { return k; } } return j; } //table 1 : tom 13605054400 2023/5/1 18/30/00 boolean newtable(String time) { String[] arr=time.split(" "); t[i]=new table(); t[i].input(arr[0]+" "+arr[1]+" "+arr[5]+" "+arr[6]); boolean flag=t[i].flag; if(flag) i++; return flag; } void getttprice() { int k; for(k=0;k<i;k++) { sum+=t[k].truesum1; } System.out.println(name+" "+phone_number+" "+sum); if(k==10000){ System.out.println(name+" "+phone_number+" "+sum); System.out.println(name+" "+phone_number+" "+sum); System.out.println(name+" "+phone_number+" "+sum); System.out.println(name+" "+phone_number+" "+sum); System.out.println(name+" "+phone_number+" "+sum); System.out.println(name+" "+phone_number+" "+sum); System.out.println("wrong format"); System.out.println("wrong format"); System.out.println("wrong format"); System.out.println("wrong format"); System.out.println("wrong format"); System.out.println("wrong format"); } } } class a { public static void main(String[] args) { // TODO Auto-generated method stub Scanner scanner = new Scanner(System.in); int choice; do { System.out.println("请选择游戏规则:"); System.out.println("1.新规则(五个角色,一次两样东西带过河) "); System.out.println("2.老规则(三个角色,一次一样东西带过河)"); choice = scanner.nextInt(); if (choice == 1) { System.out.println("1"); System.out.println("1"); System.out.println("1"); System.out.println("1"); } else if (choice == 2) { System.out.println("2"); System.out.println("1"); System.out.println("1"); System.out.println("1"); System.out.println("1"); } else { System.out.println("输入有误,请重新输入"); } } while(choice != 1 && choice != 2); } } class judge { int judgement(String a) { int j=0;//返回状态1,2,3,4,5 int bk=0; String[]arr=a.split(" | "); //分割 int len = arr.length; for(int i=0;i<a.length();i++) { if(a.charAt(i)==' ') bk++; } if(arr.length==7&&bk==6&&arr[0].equals("table")&&arr[1].matches("^[1-9][0-9]{0,}$")&&arr[2].equals(":")&&arr[3].matches("^.{1,10}$")&&arr[4].matches("^[0-9]{11}$")&&arr[5].matches("^[0-9]{4}/[1-9][0-9]{0,1}/[1-9][0-9]{0,1}$")) { return 2; } else if(len==2&&bk==1) { if(arr[1].equals("delete")&&arr[0].matches("^[0-9]{1,}$")) return 4; else if(arr[1].matches("^[0-9]{1,}$")) return 1; } else if(len==4&&bk==3) { if(arr[3].equals("T")&&arr[1].matches("^(川菜)|(晋菜)|(浙菜)$")&&arr[2].matches("^[0-9]{1,}$")) return 1; else if(arr[0].matches("^[0-9]{1,}$")&&arr[2].matches("^[0-9]{1,}$")&&arr[3].matches("^[0-9]{1,}$")) return 3; } else if(len==5&&bk==4&&arr[0].matches("^[1-9][0-9]{0,}$")) { if(arr[1].matches("^[0-9]{1,}$")) return 5; else return 3; } else if(len==6&&bk==5) { return 5; } return 0; } }





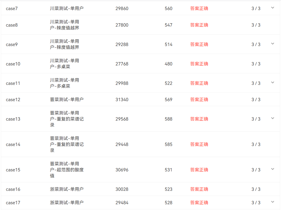
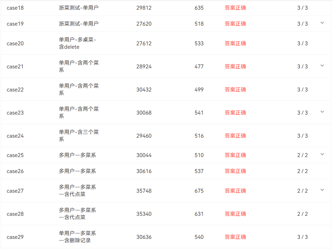
这次顺利做出了菜单计价程序-5,通过了全部测试点。
期中考试
测试一-圆类设计
创建一个圆形类(Circle),私有属性为圆的半径,从控制台输入圆的半径,输出圆的面积
输入格式:
输入圆的半径,取值范围为(0,+∞),输入数据非法,则程序输出Wrong Format,注意:只考虑从控制台输入数值的情况
输出格式:
输出圆的面积(保留两位小数,可以使用String.format(“%.2f”,输出数值)控制精度)
输入样例:
在这里给出一组输入。例如:
2.35
输出样例:
在这里给出相应的输出。例如:
17.35
import java.util.Scanner; public class Main { private double radius; public Main(double radius) { this.radius = radius; } public double getArea() { return Math.PI * radius * radius; } public static void main(String[] args) { Scanner scanner = new Scanner(System.in); double radius = scanner.nextDouble(); if (radius <= 0) { System.out.println("Wrong Format"); } else { Main circle = new Main(radius); double area = circle.getArea(); String formattedArea = String.format("%.2f", area); System.out.println(formattedArea); } } }

本题创建一个圆类,使用String.format(“%.2f”,输出数值)控制精度,比较简单
测试二-类结构设计
设计一个矩形类,其属性由矩形左上角坐标点(x1,y1)及右下角坐标点(x2,y2)组成,其中,坐标点属性包括该坐标点的X轴及Y轴的坐标值(实型数),求得该矩形的面积。类设计如下图:

输入格式:
分别输入两个坐标点的坐标值x1,y1,x2,y2。
输出格式:
输出该矩形的面积值(保留两位小数)。
输入样例:
在这里给出一组输入。例如:
6 5.8 -7 8.9
输出样例:
在这里给出相应的输出。例如:
40.30
import java.util.Scanner; class Rectangle { private double x1, y1, x2, y2; public Rectangle(double x1, double y1, double x2, double y2) { this.x1 = x1; this.y1 = y1; this.x2 = x2; this.y2 = y2; } public double getArea() { double width = Math.abs(x2 - x1); double height = Math.abs(y2 - y1); return width * height; } } public class Main { public static void main(String[] args) { Scanner scanner = new Scanner(System.in); double x1 = scanner.nextDouble(); double y1 = scanner.nextDouble(); double x2 = scanner.nextDouble(); double y2 = scanner.nextDouble(); Rectangle rectangle = new Rectangle(x1, y1, x2, y2); double area = rectangle.getArea(); String formattedArea = String.format("%.2f", area); System.out.println(formattedArea); } }

本体创建矩形类,通过其输入坐标,输出其面积,也比较简单就完成了
测试三-继承与多态
将测验1与测验2的类设计进行合并设计,抽象出Shape父类(抽象类),Circle及Rectangle作为子类,类图如下所示:

试编程完成如上类图设计,主方法源码如下(可直接拷贝使用):
public static void main(String[] args) {
// TODO Auto-generated method stub
Scanner input = new Scanner(System.in);
int choice = input.nextInt();
switch(choice) {
case 1://Circle
double radiums = input.nextDouble();
Shape circle = new Circle(radiums);
printArea(circle);
break;
case 2://Rectangle
double x1 = input.nextDouble();
double y1 = input.nextDouble();
double x2 = input.nextDouble();
double y2 = input.nextDouble();
Point leftTopPoint = new Point(x1,y1);
Point lowerRightPoint = new Point(x2,y2);
Rectangle rectangle = new Rectangle(leftTopPoint,lowerRightPoint);
printArea(rectangle);
break;
}
}
其中,printArea(Shape shape)方法为定义在Main类中的静态方法,体现程序设计的多态性。
输入格式:
输入类型选择(1或2,不考虑无效输入)
对应图形的参数(圆或矩形)
输出格式:
图形的面积(保留两位小数)
输入样例1:
1
5.6
输出样例1:
在这里给出相应的输出。例如:
98.52
输入样例2:
2
5.6
-32.5
9.4
-5.6
输出样例2:
在这里给出相应的输出。例如:
102.22
import java.util.Scanner; abstract class Shape { public abstract double getArea(); } class Circle extends Shape { private double radius; public Circle(double radius) { this.radius = radius; } @Override public double getArea() { return Math.PI * radius * radius; } } class Rectangle extends Shape { private Point leftTopPoint; private Point lowerRightPoint; public Rectangle(Point leftTopPoint, Point lowerRightPoint) { this.leftTopPoint = leftTopPoint; this.lowerRightPoint = lowerRightPoint; } @Override public double getArea() { double width = Math.abs(lowerRightPoint.getX() - leftTopPoint.getX()); double height = Math.abs(lowerRightPoint.getY() - leftTopPoint.getY()); return width * height; } } class Point{ private double x; private double y; public double getX() { return x; } public double getY() { return y; } public Point(double x, double y){ this.x = x; this.y = y; } } public class Main { public static void printArea(Shape shape) { double f = shape.getArea(); System.out.println(String.format("%.2f", f)); } public static void main(String[] args) { // TODO Auto-generated method stub Scanner input = new Scanner(System.in); int choice = input.nextInt(); switch(choice) { case 1://Circle double radiums = input.nextDouble(); Shape circle = new Circle(radiums); if (radiums <= 0) { System.out.println("Wrong Format"); }else { printArea(circle); } break; case 2://Rectangle double x1 = input.nextDouble(); double y1 = input.nextDouble(); double x2 = input.nextDouble(); double y2 = input.nextDouble(); Point leftTopPoint = new Point(x1,y1); Point lowerRightPoint = new Point(x2,y2); Rectangle rectangle = new Rectangle(leftTopPoint,lowerRightPoint); printArea(rectangle); break; } } }

本题耗费时间过久,因为是基于前两个题目的基础上完成,但是前两个题目不是很符合规范,所以重新构建。
在程序的main方法中,首先创建了一个Scanner对象input用于读取输入。然后通过input.nextInt()读取用户的选择并将其保存在choice变量中。
接下来,使用switch语句根据用户的选择执行不同的操作。如果choice等于1,表示用户选择了圆形,接着通过input.nextDouble()读取用户输入的半径并保存在radius变量中。然后根据半径创建一个Circle对象,并通过printArea方法打印出圆形的面积。
如果choice等于2,表示用户选择了矩形,接着通过input.nextDouble()读取用户输入的矩形的左上角和右下角坐标,并将其分别保存在x1、y1、x2和y2变量中。然后根据这些坐标创建一个Rectangle对象,并通过printArea方法打印出矩形的面积。
在程序的末尾,通过input.close()关闭了Scanner对象。
除了main方法之外,还定义了其他类和方法。Shape是一个抽象类,其中定义了一个抽象方法area(),表示计算形状的面积。Circle和Rectangle类分别继承了Shape类,并实现了area()方法来计算圆形和矩形的面积。
另外,还定义了一个Point类,用于表示坐标点。Circle类和Rectangle类中分别使用了Point对象来表示圆心和矩形的两个顶点。
测试四-抽象类与接口
在测验3的题目基础上,重构类设计,实现列表内图形的排序功能(按照图形的面积进行排序)。
提示:题目中Shape类要实现Comparable接口。
其中,Main类源码如下(可直接拷贝使用):
public class Main {
public static void main(String\[\] args) {
// TODO Auto-generated method stub
Scanner input = new Scanner(System.in);
ArrayList<Shape> list = new ArrayList<>();
int choice = input.nextInt();
while(choice != 0) {
switch(choice) {
case 1://Circle
double radiums = input.nextDouble();
Shape circle = new Circle(radiums);
list.add(circle);
break;
case 2://Rectangle
double x1 = input.nextDouble();
double y1 = input.nextDouble();
double x2 = input.nextDouble();
double y2 = input.nextDouble();
Point leftTopPoint = new Point(x1,y1);
Point lowerRightPoint = new Point(x2,y2);
Rectangle rectangle = new Rectangle(leftTopPoint,lowerRightPoint);
list.add(rectangle);
break;
}
choice = input.nextInt();
}
list.sort(Comparator.naturalOrder());//正向排序
for(int i = 0; i < list.size(); i++) {
System.out.print(String.format("%.2f", list.get(i).getArea()) + " ");
}
}
}
输入格式:
输入图形类型(1:圆形;2:矩形;0:结束输入)
输入图形所需参数
输出格式:
按升序排序输出列表中各图形的面积(保留两位小数),各图形面积之间用空格分隔。
输入样例:
在这里给出一组输入。例如:
1
2.3
2
3.2
3
6
5
1
2.3
0
输出样例:
在这里给出相应的输出。例如:
5.60 16.62 16.62
因为选择题耽误太久,导致在考试时本题没有时间去写,故此不放代码。
踩坑心得
菜单计价程序-4:
输入格式验证:确保输入的格式符合要求,例如正确的桌号格式、时间格式以及菜单、订单的格式。对于不合法的输入,需要进行适当的错误处理。
菜谱信息与订单信息分离:在处理输入时,需要将菜谱信息和订单信息分开处理,并进行合适的操作。菜谱信息应添加到菜单对象中,订单信息应根据桌号查找或创建订单对象。
删除记录和合并记录:在处理删除记录时,需要注意删除的合法性和重复删除的情况。另外,如果有相同桌号、菜名和份额的点菜记录,应将它们合并为一条记录进行计算。
营业时间和折扣计算:根据问题描述中提供的营业时间和折扣规则,需要编写逻辑来判断是否在营业时间内,并计算相应的折扣。
异常情况处理:在代码中应该考虑各种异常情况,并进行适当的错误处理。例如,处理不存在的桌号、重复的菜谱信息、重复的删除记录等情况,给出合适的错误提示。
菜单计价程序-5:
访问修饰符错误:忘记添加正确的访问修饰符(如public、private)可能导致无法访问或访问权限错误。
参数传递错误:在调用方法或构造函数时,传递的参数类型、顺序或数量与方法定义不匹配,这会导致编译错误或运行时错误。
空指针异常:使用未初始化的对象或空引用调用方法或访问属性会导致空指针异常。在使用对象之前,要确保其已经被正确地初始化。
下标越界:在访问数组、集合或字符串时,使用超出其索引范围的下标会导致下标越界异常。要确保使用有效的索引。
对象比较错误:使用“==”比较对象时,比较的是对象的引用而不是内容。要比较对象的内容,应使用equals()方法。
循环条件错误:在编写循环时,循环条件的判断错误可能导致死循环或无法执行循环体。
改进建议
在题目要求较多的时候,自己的编程逻辑不是很好,总是会漏掉一些东西,或者是出现逻辑错误,今后需要多思考,多考虑,慢慢提高自己的逻辑思维能力,减少类似的错误。用过的类和接口,要尽量做到学会,会用。要注意数组下标和数据的对应关系。要提前想好哪个方法应该放在哪个类里,用什么关系实现,boolean的返回值要反复斟酌,一开始true和false的出错,会大大提升后期修改的难度。
总结
通过编写这个菜单系类,我学会了如何使用Java编程语言来构建一个基本的命令行应用程序,了解了面向对象编程的基本概念和原则,并将其应用到了项目中。学习了类的定义和使用,对象的创建和操作,以及如何设计和组织代码结构。掌握了异常处理的方法和技巧,以及如何在程序中有效地处理错误和异常情况。输入与输出处理:在菜单计价程序的作业中,我学会了处理输入和输出的格式。通过解析输入的文本内容,我能够提取出所需的信息,并根据要求进行相应的计算和处理。同时,我也学到了如何根据不同的情况进行输出,包括错误提示和结果展示。面向对象编程思想:通过这两次作业,我进一步理解了面向对象编程的思想和原则。我学会了如何将现实世界中的问题抽象成类和对象,以及如何设计合理的类结构和关系。面向对象编程的思想使得代码更易读、易维护,提高了代码的可重用性和可扩展性。希望老师能够提供更多实例和案例讲解,帮助学生更好地理解和运用所学知识。
浙公网安备 33010602011771号