1.项目背景:
随着移动设备的完善和普及,移动互联网+各行各业进入了高速发展阶段,这其中以O2O(Online to
Offline)消费最为吸引眼球。据不完全统计,O2O行业估值上亿的创业公司至少有10家,也不乏百亿巨头的身影。O2O行业天然关联数亿消费者,各类APP每天记录了超过百亿条用户行为和位置记录,因而成为大数据科研和商业化运营的最佳结合点之一。以优惠券盘活老用户或吸引新客户进店消费是O2O的一种重要营销方式。然而随机投放的优惠券对多数用户造成无意义的扰。对商家而言,滥发的优惠券可能降低品牌声誉,同时难以估算营销成本。个性化投放是提高优惠券核销率的重要技术,它可以让具有一定偏好的消费者得到真正的实惠,同时赋予商家更强的营销能力。本次大赛为参赛选手提供了O2O场景相关的丰富数据,希望参赛选手通过分析建模,精准预测用户是否会在规定时间内使用相应优惠券。
2.总体情况统计分析
2.1 数据总体情况
- 数据集样本大小 :共1754884条记录, 每条记录包括7个特征
- 总用户数 :539438
- 总店铺数 :8415
- 总领券记录数 :1053282
- 总消费记录数 :776984
2.2 优惠券使用的总体情况
- 有优惠卷,购买商品 :75382
- 有优惠卷,未购商品 :977900
- 无优惠卷,购买商品 :701602
- 无优惠卷,未购商品 :0

分析:很多人(701602)购买商品却没有使用优惠券,也有很多人(977900)有优惠券但却没有使用,真正使用优惠券购买商品的人(75382)很少!所以,优惠券的精准投放很重要。
2.3 每月消费数统计


分析:3月份-6月份的销售量比1、2月份高很多,需考虑是商户采取的运营策略导致的销量提高还是受季节影响。
2.4 一周每天消费总数统计


分析:周末的消费量比工作日的略高,周末较活跃。
2.5 一周每天领券数量


分析:周五至周一的领券数比周二至周四多。对比上面一周每天的消费总量,可以发现用户在每周的周末比较活跃,领券数也较多,发放优惠券的时候要重点考虑周末时间。
2.6 每月新增用户数


分析:每月新增用户数有规律地涨跌,可能是商铺在每次新增消费用户减少时采取了一些提高用户转化率的运营策略。
2.7 流失可能性较大的用户数
最近消费日期离2016年6月30日超过120天的用户很有可能流失,这部分用户有64893,占消费用户的近30%(29.75%),流失率比较大。还需要继续采取一些运营策略维护老用户。
2.8 用户最近消费日期,最早消费日期,消费次数三维散点图**

分析:结合用户流失率和上面的最近消费日期,最早消费日期,消费次数三维散点图,我们可以看到,虽然用户流失率高,但是留存下来的用户忠诚度高。
2.9 复购率
整体复购率 :52.5%

分析:2016年1月至6月各月的复购率在0.310-0.382之间,用户的粘性基本保持,没有出现异常。
2.10 商户消费次数和消费天数描述性统计
商户消费天数描述性统计:

分析:商户最多活跃天数达182天,,而超过75%的商户消费天数在32天以下,大部分商户不活跃。
商户消费次数描述性统计:

分析:商户最多消费次数达36238次,而超过75%的商户消费次数在38次以下,商户消费次数差异大,消费集中于部分活跃商户。
2.10 每月有消费商户数量


分析:活跃商户逐月递增
2.10 一周每天有消费商户数量


分析:周末活跃商户比工作日略多,周末消费较活跃
3.用户分层
3.1 用户核销率
用户核销率描述性统计:
- 平均值 :0.548212
- 标准差 :0.317454
- 最小值 :0.012500
- 下四分位数 :0.250000
- 中位数 :0.500000
- 上四分位数 :1.000000
- 最大值 :1.000000
3.2 用户分层
分层标准:
借鉴RFM模型对用户进行分层,这里的数据只有用户消费频数和最近消费日期,没有提供消费金额,所以仅根据R和F两个指标来对用户分层,将用户分为四类。
- **消费次数 >1,最近消费日期在一个月内:价值用户 **
- **消费次数 >1,最近消费日期在一个月之前:保持用户 **
- **消费次数 <=1,最近消费日期在一个月内:发展用户 **
- **消费次数 <=1,最近消费日期在一个月之前:挽留用户 **
- 未消费用户:待引导消费用户
分层后各层用户数量

各层用户数量在消费用户中占比

分层后各层用户消费总数:

各层用户消费次数在消费总次数中占比 :

分析:价值用户在消费用户中占比仅25.8%,却贡献了58.7%的消费次数,是销售贡献主力。需要重点维护。
3.3 分层用户优惠券敏感度
在用户分层的基础上考察用户优惠券核销率,核销率超过50%的消费用户定性为优惠券敏感用户。进一步分层后各分层用户数量:

消费用户中优惠券敏感用户占比:

分析:消费用户中优惠券敏感用户仅占12.1%,说明优惠券并不能起到很好的带动消费作用,需要进一步调整优惠券的发放策略,提高用户优惠券敏感度。
各分层用户中优惠券敏感用户在总消费用户中的占比:

分析:优惠券敏感价值用户在消费用户中仅占5.2%,优惠券不敏感价值用户占比20.6%,即80%左右的价值用户不受优惠券驱动。
4.商户分层
4.1 商户优惠券被核销率
商户优惠券被核销率的描述性统计:

分析:可以看到,75%的商户发放的优惠券被核销率在34.8%以下。
4.2 商户分层
分层标准:
- **消费天数 >31天,最近消费日期在一个月内:活跃商户 **
- **消费天数 >31天,最近消费日期在一个月之前:保持商户 **
- **消费天数 <=31天,最近消费日期在一个月内:发展商户 **
- **消费天数 <=31天,最近消费日期在一个月之前:低活跃商户 **
- 消费天数=0:近6个月无消费商户
分层后各层商户数量:

Remark:近6个月无消费商户有94个
各层商户数量在有消费商户总数中的占比 :

分析:低活跃商户占比超过60%,需要帮助商户盘活销售能力,同时引进更有吸引力的商户。
4.3 分层商户优惠券敏感度
在商户分层的基础上考察商户优惠券被核销率,核销率超过10%的商户定性为优惠券敏感商户。进一步分层后各分层商户数量:

有消费商户中优惠券敏感商户占比:

分析:优惠券敏感商户占比38%,平台商户整体而言对优惠券不敏感。
各分层用户中优惠券敏感用户在总消费用户中的占比:

分析:优惠券敏感的活跃商户仅占不到10%。
4.优惠券分析
4.1 优惠券总体情况统计分析
- 总领券量 : 1053282
- 领券种类 : 45
- 总用券量 : 75382
- 用券种类 : 45
- 总核销率 : 0.07156867771404049
优惠券总核销率仅7%
4.2 优惠券核销率分析
4.2.1 月领券量,用券量,核销率,用券消费占比

4.2.2 计算不同种类优惠券的核销率及其描述性分析

分析:总共有45种不同类型的优惠券,每周优惠券的平均领券数为23406张,平均用券数为1675张,平均每种优惠券的核销率为8.7%
4.3 优惠券分层
分层标准:
- 核销率超过7%,用券数超过239张:优质优惠券
- 核销率超过7%,用券数少于239张:谨慎优惠券
- 核销率小于7%,用券数超过239张:一般优惠券
- 核销率小于7%,用券数少于239张:低质优惠券
分层后各层优惠券种类数:

分层次优惠券的核销率:

5.交叉分析
5.1 基本分层交叉分析
用户分层、商户分层和优惠券分层交叉后用券量最大的前15项

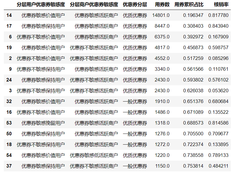
5.1 优惠券敏感度分层交叉分析
在基本分层基础上考察优惠券敏感度后进一步分层,进行交叉后用券量最大的前15项:


 
                    
                 
 
                
            
         浙公网安备 33010602011771号
浙公网安备 33010602011771号