daka


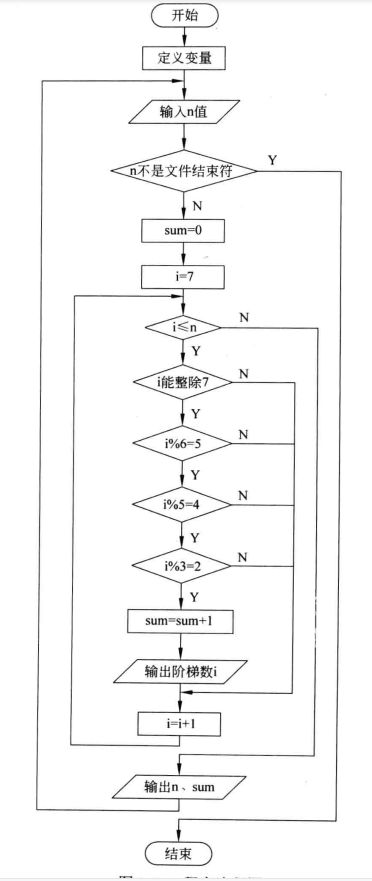
#include<bits/stdc++.h> using namespace std; int main(){ long n, sum, i; while(cin >> n != EOF) { cout << "在之间的阶梯数为" << endl; sum = 0; for (i = 7; i < =n; i ++) if(i % 7 == 0) if(i % 6 == 5) if(i % 5 == 4) if(I %4 == 3) if(i % 3 == 2) { sum ++; cout << i; } cout << n << " " << sum << endl; } }
浙公网安备 33010602011771号