解决阿里云redis监听6379,配置规则也将6379端口开放,但是外网仍无法连接6379的问题。
问题描述:
阿里云linux安装完成redis,并且已经运行,检测6379端口,显示redis-server正在监听,如图

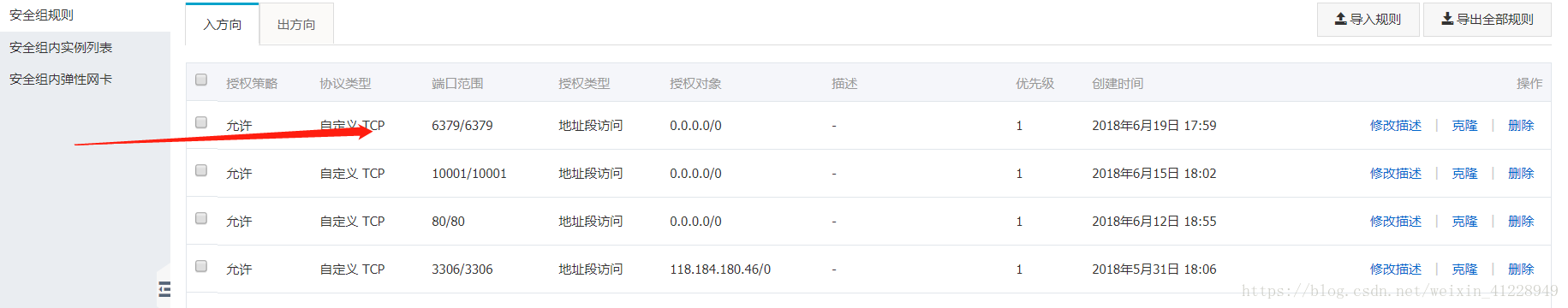
查看阿里云端口配置规则,6379端口对外开放

解决方法:
查看阿里云端口开放规则:

上图所示,此时redis只监听本地的127.0.0.1的6379端口,外网传入的请求是无法接收的。
修改redis.conf配置

将bind 后跟着的127.0.0.1修改为0.0.0.0
然后重启redis

浙公网安备 33010602011771号