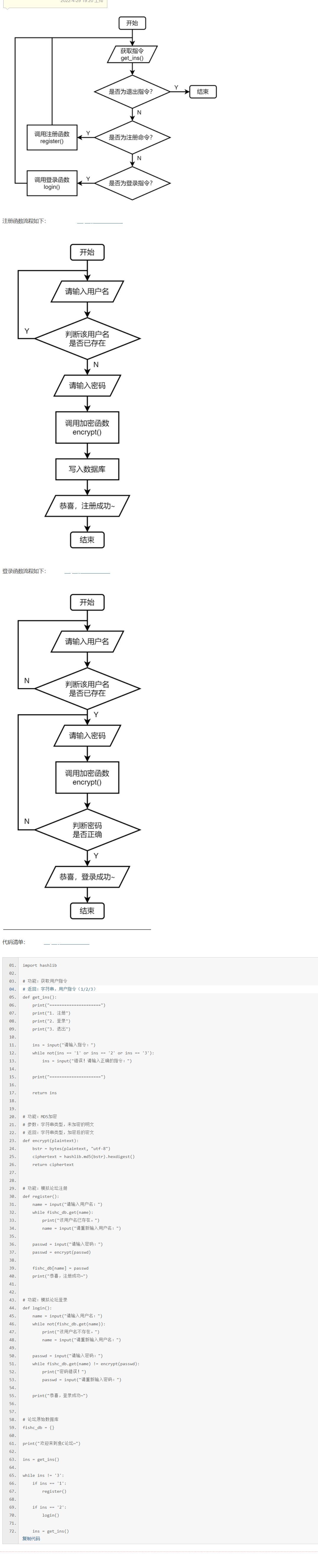
摘要:
***  *** ! 阅读全文
posted @ 2023-03-25 17:00
jzm1/
阅读(18)
评论(0)
推荐(0)
摘要:
 阅读全文
posted @ 2023-03-25 16:48
jzm1/
阅读(9)
评论(0)
推荐(0)
摘要:
  *** 阅读全文
posted @ 2023-03-25 16:46
jzm1/
阅读(16)
评论(0)
推荐(0)
摘要:
  ** 阅读全文
posted @ 2023-03-25 16:32
jzm1/
阅读(43)
评论(0)
推荐(0)
摘要:
  *** 阅读全文
posted @ 2023-03-25 15:58
jzm1/
阅读(31)
评论(0)
推荐(0)
浙公网安备 33010602011771号