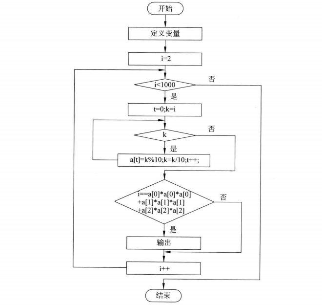
第二十八天 阿姆斯特郎数


#include<iostream>
using namespace std;
int main() {
int i,n;
for (i = 2; i < 1000; i++) {
if (i < 10) {
n = i * i * i;
if (n == i) cout << i << " ";
}
else if (i >= 10 && i < 100) {
int a, b;
a = i % 10;
b = i / 10;
if (a * a * a + b * b * b == i) cout << i << " ";
}
else {
int a, b, c;
a = i % 10;
b = i % 100 / 10;
c = i / 100;
if (a * a * a + b * b * b + c * c * c == i) cout << i << " ";
}
}
}

浙公网安备 33010602011771号