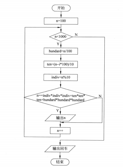
第二十七天 水仙花数
 

#include <iostream>
using namespace std;
int main() {
    int i, b=0,j,k;
    for (i = 100; i <= 999; i++) {
        b = 0; k = 0;
        b = i / 100;
        k = k + b * b * b;
        b = (i - b * 100) / 10;
        k = k + b * b * b;
        b = i % 10;
        k = k + b * b * b;
        if (k == i) cout << k << " ";
    }
    
}
 
                    
                     
                    
                 
                    
                
 
                
            
         
         浙公网安备 33010602011771号
浙公网安备 33010602011771号