第二十五天 自守数
 

#include<iostream>
#include<cmath>
using namespace std;
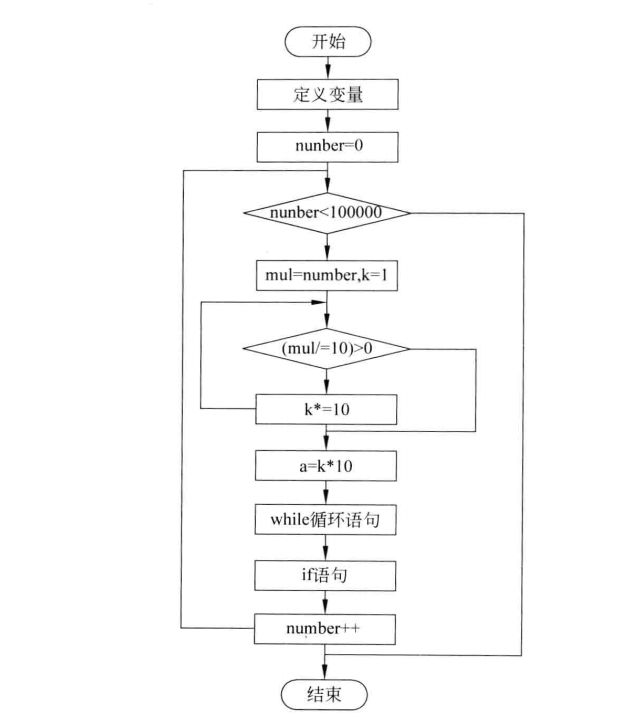
int main() {
	int i, j = 0, a, b, t;
	long long int num;
	for (i = 0; i < 100000; i++) {
		if (i < 10000) {
			num = i * i;
			for (t = 10; t < i; ) {
				t = t * 10;
			}
			a = num % t;
			if (a == i) {
				cout << ++j << ":" << i << endl;
			}
		}
		else {
			num = i * (100000 - i);
			a = num % 100000;
			if (a == 100000 - i) {
				cout << ++j << ":" << i << endl;
			}
		}
		
	}
}
 
                    
                     
                    
                 
                    
                
 
                
            
         
         浙公网安备 33010602011771号
浙公网安备 33010602011771号