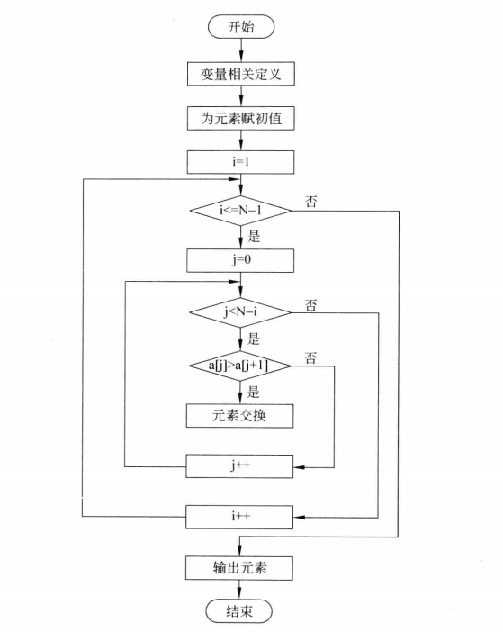
第八天 冒泡排序



#include<iostream>
using namespace std;
int main() {
int n,t;
cin >> n;
int a[10000];
int i;
for (i = 0; i < n; i++) {
cin >> a[i];
}
int j;
for (i = 0; i < n; i++) {
for (j = i + 1; j < n; j++) {
if (a[i] > a[j]) {
t = a[i]; a[i] = a[j]; a[j] = t;
}
}
}
for (i = 0; i < n; i++) {
cout << a[i] << " "[i == n - 1];
}
}

浙公网安备 33010602011771号