超导电路|课本学习笔记|第6章 超导RSFQ约瑟夫森结传输线
第6章 超导RSFQ约瑟夫森结传输线
RSFQ电路都包括三个基本模块:传输模块、存储模块、判决模块。分别提供SFQ(单磁通量子)脉冲在器件之间的传输、脉冲的存储以及决定是否传送一个脉冲等功能。
而传输模块主要通过超导传输线(主要是微带线)或有源JTL(JTL, 超导约瑟夫森结传输线)将 SFQ 脉冲传输到其他单元门。本章主要内容与JTL相关。
1. 单约瑟夫森结的RSFQ现象

其中 \(R\) 为并联电阻,结处在临界阻尼态 (什么意思呢?),\(I_b\) 为结上的直流偏置电流,输入一定的外加电流激励 \(I_{in}\) ,大小满足

可以看出,在输入电流 \(I_{in}\) 的驱动下,结上的电流超过其临界电流,使结进入常态,同时触发单磁通量子电压脉冲,使结的相位发生一个 $2\pi (2*3.14rad= 6.28rad) $的超前。输入脉冲结束后,结又恢复至超导态。
2. JTL理论分析
超导JTL是超导RSFQ数字电路中的一种基本元件,在电路中起传输单磁通电压脉冲的作用。最简单的JTL结构是一个双结量子干涉器。
- 单一态干涉器电路JTL
单一态干涉器指只具有一个可用的零电压态,也就是 n=0 的基态。此干涉器的一个结发生 \(2\pi\) 的相位翻转,另一个结也经历同样的翻转,这种行为构成了 RSFQ 传输电路和缓冲器的基础。
一个结发生 \(2\pi\) 相位的迅速变化会出现一个SFQ 电压脉冲,同时每个结相位翻转的时候存在时延,这就会有一个 SFQ 电压脉冲首先通过一个结,在经历一个短时延之后,通过第二个结。以此多个双结干涉器彼此首尾相互串联,形成了最基本的 RSFQ 电路即 JTL 。

假如一电流脉冲经过 \(L_{k-1}\) 进入干涉器,如果脉冲的幅度和持续时间能够保证第 \(k\) 个结仅产生一次翻转,第 \(k-1\) 个结将发生 \(2\pi\) 的相位超前。当电流流入第 \(k\) 个结时,第 \(k\) 个结的相位发生 \(2\pi\) 的翻转。同时足够的电流也必须经过 \(L_k\) 流入另一个结,以满足 \(n=0\) 。
电感较大时,较小的电流可以满足方程的要求,因此对于给定了临界电流和偏置电流,足够大的电感将使少量的电流到达下一个结,此种情况下,即使第一个结发生翻转,第二个仍然保持原状态,即一个磁通量子进入了干涉器,如同干涉器的状态 \(n=0\) 变换到 \(n=1\) 。
(需要再比对以下原文)
电感较小时,通过电感器的电流可以引起下一个结的相位超过 \(\frac{\pi}{2}\) (不理解???),这个结就会翻转,发生 \(2\pi\) 相位的超前,同时伴以 SFQ 电压脉冲的产生。另一个结的相位变化 \(2\pi\) 。SFQ 电压脉冲在两个结上的出现表明一个量子磁通已经从一端的结进入干涉器,并且经另一个结离开,最终干涉器的状态不会变。
- 依据磁通量子引入的方式不同,JTL的工作方式可以分为两种。
- 第一种方式为,单磁通量子从JTL的一端传到另一段。从电流的观点可以解释为,由于注入某结的电流和偏置电流大于起临界电流 \(I_c\) ,而导致该结进入短暂的常态,从而具有了常态电阻,常态电阻会使得大部分电流不再流过该结,而是转而经过电感流过下一个超导态的结。
- 第二种方式为,位于中间的某个结通过传输线来引入磁通量子或SFQ电压脉冲。例如从第 \(k\) 个结引入一个脉冲,使其相位发生 \(2\pi\) 的变化,该结会转为常态具有常态电阻,使得进入第 \(k\) 个结的电路几乎对称地从两边的电感流过,进入第 \(k-1\) 个和第 \(k+1\) 个结中。
- JTL中电路优化问题
-
优化的目的是当参数由于集成电路制造过程中出现偏差和缺陷时能给电路提供最佳的容限,以保证电路还能正常工作。
-
参数容限可以定义为能够保证电路正常工作的其中一个或几个参数的变化范围。
- 估计参数容限时,判断电路工作的正确与否的一套规则
- 对于简单的缓冲器和传输器件,要求一个输入脉冲必须跟以一个输出脉冲,在输入端和输出端不能出现第二个脉冲或者反射脉冲。
- 对于多个输入输出端的逻辑门,对于 RSFQ 逻辑电路而言,要求 SFQ 脉冲在正确的时间以正确的序列出现在正确的节点上。
- 对于执行状态转换( \(n=0\) 到 \(n=-1\) 再返回到初态)的两态干涉器,输出脉冲也许会按功能要求正确出现,然而干涉器却不能返回到最初状态。此时,要求还需要观察循环电流和结相位。
- 估计参数容限时,判断电路工作的正确与否的一套规则
-
直流容限反映的是对于输入端无时间限制时电路的工作状态。
- 对于缓冲器是为仅当一个脉冲输入时电路的工作状态;
- 对于逻辑电路而言,需要考虑在输入脉冲结合时,这些脉冲之间必须有足够的间隙。
-
动态错误也可以导致电路的不正常工作。
-
如何对 RSFQ 电路进行优化。先确定每个参数的容限,它是通过固定其他参数而获得的,当所有这些容限都以这种方式确定后,再找出临界容限的参数,并使之位于参数范围的中点。之后迭代几次,该过程会收敛到可接受的临界电路容限上。
3. JTL 工作方式
JTL 具有多种不同的工作方式,可以提供信号的不变性传输、电流放大、电压放大。
- JTL 的不变性传输
JTL 的参数主要有三个,分别是约瑟夫森结的临界电流 \(I_c\) 、对约瑟夫森结施加的直流偏置 \(I_b\) 、结和结相连的等效电感 \(L\) 。

- JTL 的电流放大传输
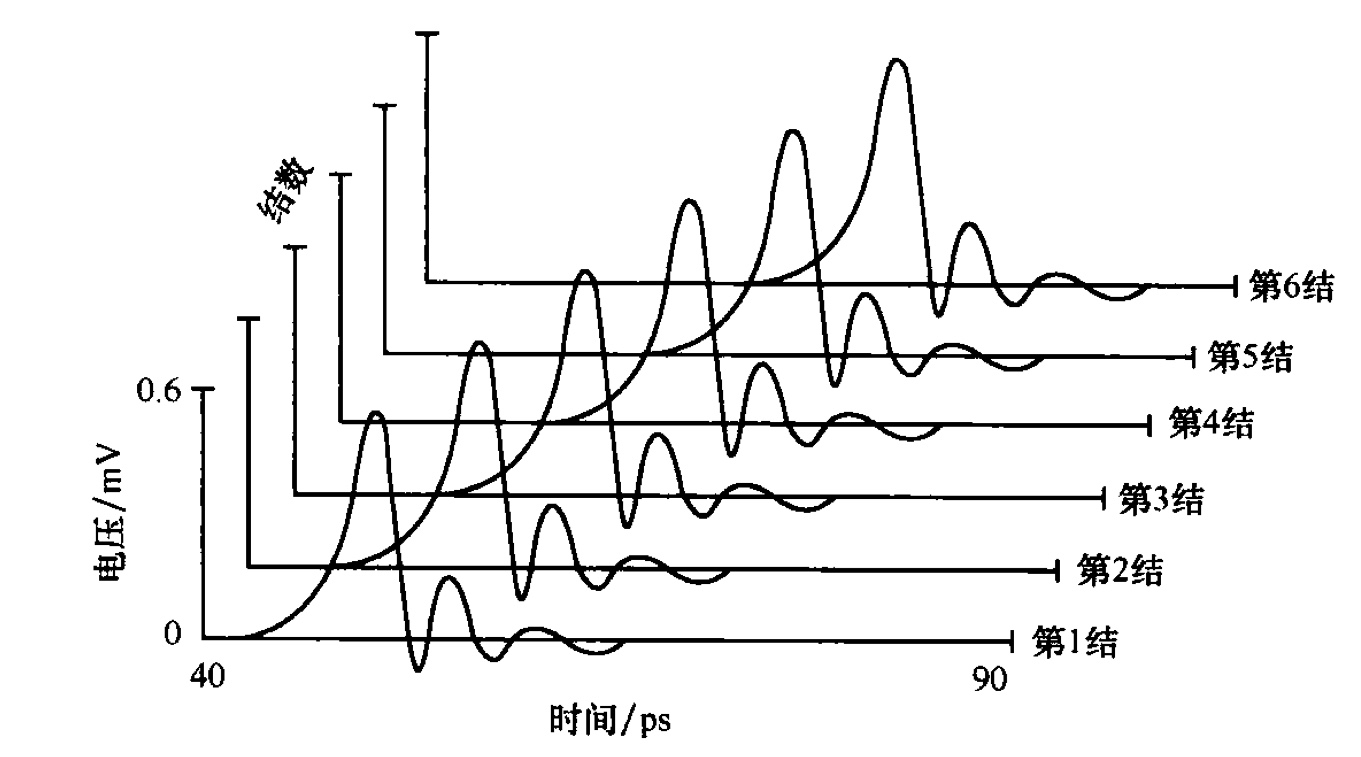
JTL 在传输过程中可以对SFQ 脉冲进行放大,提供电流或者是功率的增益。电路参数的选取一般遵循一下规则:沿脉冲传输方向,临界电流 \(I_c\) 逐渐增大,偏置电流 \(I_b\) 逐渐增大,结之间的串联电感 \(L_k\) 逐级递减。

上图为 4 级 JTL 放大器的第1、2、3结电流和电压随时间的变化。其中的参数变化规律按 \(\sqrt{2}\) 来确定,可以看出在保证信号 SFQ 电压波形不变的前提下,各结电流逐渐增大,且稳定时的电流值近似等于在其上所施加的偏置电流。
- JTL 电压传输放大
RSFQ 电路的工作频率可达几十G到上百GHz,但是产生的 SFQ 信号电压的幅度较小,为确保信号能够有效地提取出来,信号电压幅度最好能在 1mV 以上。
- “Interface”电路
“Interface”电路可以在 SFQ 信号传输到室温设备之前将其放大。

此电路是在 JTL 和信号分路(splitter)的基础上由多个超导量子干涉器串联形成。每个超导量子干涉器通过自身的电感与其相对应的JTL上的电感器相耦合,而所有的超导量子干涉器又相互串联在一起。
splitter是图上的第二个位置的结;超导量子干涉器为两个结并联的结构,超导量子干涉器上的电感和 JTL 过来的电感相耦合(并没有连接在一起)。
经过此电路的信号幅度可以被放大几倍到十几倍,但是其输出脉冲呈现双峰状,由于双峰的出现,使得输出脉冲的幅值变小。
“双峰”现象产生的原因是,超导量子干涉器与 JTL 控制线之间形成电容,当超导量子干涉环向电压态转换时,偏置电流有相当部分消耗在电容电荷的积累上。(这一句不是很理解?)因此加到约瑟夫森结上的偏置减小,相应的输出电压幅度也变小,当电容电荷充满电了,电压又有所增加。
- 阶梯式电压放大电路
阶梯式JTL传输放大电路是基于多层约瑟夫森堆积结构成。

该电路的输入端由 DC/SFQ 产生 SFQ 脉冲输入到单层JTL,经过单结缓冲器(起到定向作用)传递到下一级的双层堆积结JTL,再经过一个双结缓冲器输入到下面的四层堆积结JTL,最后输出的信号几乎没有“双峰”现象。
单层JTL应该是只有一个结为一列的结,单结缓冲器为单层JTL和双层堆积结JTL之间的一个结。
- 电路的优化(略)
4. JTL的参数特性
- JTL参数对脉冲传输的影响
JTL模型的几个参数,分别是串联电感 \(L\) 、偏置电流 \(I_b\) 、结临界电流 \(I_c\) 和常态电阻 \(R_n\) 。
参考公式如下:
- 电感 \(L\) 的改变

电感 \(L\) 对脉冲的幅度影响不是很大,而对传输时间t的影响十分明显。
- 偏置电流 \(I_b\) 的影响

电压幅度随归一化偏置电流的增大而增大,变化趋势近似为一个上升的直线;传输时间随归一化偏置电流的增加而逐渐缩短。
- 临界电流 \(I_c\) 的改变

电压幅度随 \(I_c\) 的增加而增大,但是变化幅度不大;传输时间随 \(I_c\) 的增加而近似直线增长。
- \(R_n\) 的改变

\(R_n\) 逐渐增大,电压幅度近似直线增加;传输时间随 \(R_n\) 增加而缩短。
5. JTL中的推斥效应和碰撞现象
- 推斥效应
当JTL输入的两个连续的SFQ脉冲的时间间隔与 \(\frac{1}{f_{max}}\) 可比拟时,就会发生所谓的脉冲“推斥效应”。脉冲间的推斥效应可能导致信号与时钟不同步的结果。

首先在模拟电路的输入端引入两个时间上连续的SFQ脉冲,其间隔为 10.09ps ,近似为结的 \(\frac{1}{f_{max}}\) 。这两个SFQ脉冲在JTL中相继传输,循环一圈要经历 50 级JTL。脉冲间的间隔随着级数的增加而加大,到第 200 级时输出间隔为 30.07ps ,几乎为初始间隔的 3 倍。
上图 (b) 给出的时间间隔 (12.8、22.7、25.6 ) 应该是从第 0 级到第 200 级JTL中的某几级的输出脉冲间隔。

此图为脉冲传输间隔 \(t_k\) 随级数的变化曲线,图中存在多条曲线表示多次实验在初始间隔 \(t_k\) 不同的情况下的仿真。
可以看出,不同的量子磁通间没有相互吸引,而是发生推斥现象,随间隔 \(t_k\) 逐渐增大而趋向于以恒定饱和值 \(t_b\) (怎么看出来的,没有理解???),\(t_b\) 约为 \(\frac{3}{f_{max}}\) 。
当初始间隔 \(t_k\) 较小时,曲线的弯曲程度变大,而当 \(t_k\) 大于饱和值 \(t_b\) 时,\(t_k\) 几乎不随级数变化而变化。
- 碰撞效应
通过仿真发现, 两个 SFQ 在 JTL 上相对传输的特性主要受两个因素的影响, 分别是归一化偏置电流 \(i=I_{b} / I_{c}\) 和回滞参数 \(\beta_{c}=2 e I_{c} R^{2} \mathrm{C} / \hbar\)。可以看出 \(i\) 和 \(\beta_{c}\) 满足一定的条件时, 两个相对传输的 SFQ 会发生碰撞后继续通过和碰撞后湮灭两种不同的现象。

模拟结果表明,\(i\) 代表对SFQ 或孤子的一种驱动作用,而 \(\beta_{c}\) 代表的是对 SFQ 的阻碍作用。
当\(i\)与 \(\beta_{c}\)比值较大时, 驱动作用占主导地位, 因此 SFQ 表现出孤子特性, 所以两个相对 的 SFQ碰撞后会不受影响而继续传输;
而当 \(\beta_{c}\) 所起的作用较大时, 两个相对传输的 SFQ 相碰撞时, 驱动力无法使之继续前行。