#20232408 2025-2026-1 《网络与系统攻防技术》实验五实验报告
一、实验内容
1.1 实验要求
域名与IP信息搜集分析;
1.2社交网络IP地址获取与地理位置定位;
1.3靶机环境扫描探测、漏洞评估与攻击路径分析;
1.4搜索个人网上足迹与高级搜索技能实践。
二、实验目的
掌握恶意代码分析技术,包括文件识别、脱壳、字符串提取及静态动态分析,完成样本分析与取证报告撰写。
三. 基础环境
kali虚拟机,具体配置如下:

winXP虚拟机,具体配置如下:

四. 实验过程与分析
4.1 查询baidu.com,收集信息
4.1.1 查询DNS注册人及联系方式
使用命令`whois baidu.com`,可以查询该域名的注册信息,如图所示。


从返回数据中可以了解到注册人信息,注册商信息,联系方式等信息,具体信息如下:
注册人组织:北京百度网讯科技有限公司
注册人国家:中国
注册域名ID:11181110_DOMAIN_COM-VRSN
注册商:MarkMonitor Information Technology (Shanghai) Co., Ltd.
注册商IANA ID:3838
注册机构:MarkMonitor Inc.
注册商滥用投诉电话:+1.2083895740
注册商滥用投诉邮箱:abusecomplaints@markmonitor.com
4.1.2 查询对应域名的IP地址
使用命令dig baidu.com查询DNS解析信息,包括IP地址、服务器配置等信息。从返回数据可以看到,我这里访问baidu.com有四个网址,都在同一个网段中。百度配置了多个地址记录,使得用户访问时会分配到不同的服务器IP。如图所示:

** 4.1.3 查询IP地址注册信息**
使用whois命令,可以得到IP地址的注册人和他的邮箱、电话,以及IP地址的地址信息。如图所示:
IP地址归属信息
网络名称: CMNET
所属机构: China Mobile Communications Corporation (中国移动通信集团公司)

注册人/组织信息
组织名称: China Mobile (中国移动)
国家: CN (中国)
地址: 北京市西城区金融大街29号
电话: +86-10-5268-6688
传真: +86-10-5261-6187

技术联系人信息
技术联系人: haijun li
联系人邮箱: hostmaster@chinamobile.com
联系人电话: +86 1052686688
联系人传真: +86 10 52616187

网络状态信息
状态: ALLOCATED PORTABLE (已分配可移植)
最后修改时间: 2020-10-20T00:58:36Z
数据来源: APNIC (亚太互联网络信息中心)

4.1.4 跟踪网络路由
通过traceroute baidu.com命令,可以追踪到数据包从本机到目标主机所经过的路径。如图所示:

这里可以看到,前5跳在内网,第六跳被屏蔽了,7-9跳在服务商网络,10-16跳应该是在百度网络中。其中有些被屏蔽了,可能是有部分节点不允许ICMP包。
我们看另一个网段:

可以看到,跳的范围与上一个没啥区别,但是区别在于被屏蔽的跳数不同,可能是中途途径的服务器不同。
4.1.5 获取IP地址注册位置
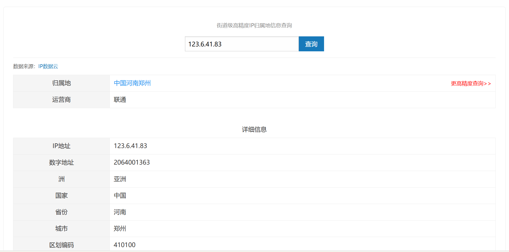
使用“UU在线工具”查询IP地址的具体位置,网址为:https://uutool.cn/ip/。对于IP182.61.244.149 和 123.6.41.83,它们的城市级位置如图所示。


** 4.2 尝试获取一位好友的IP地址与具体地理位置**
4.2.1 获取IP地址
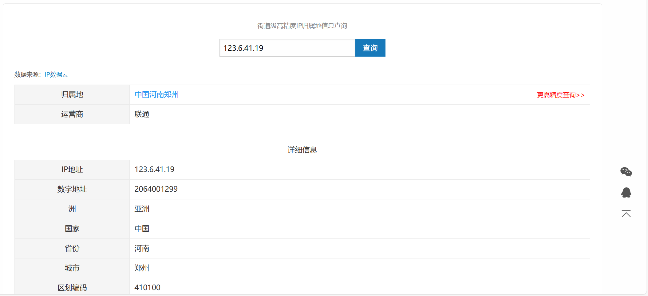
给某一微信好友打语音电话并开启wireshark抓包,使用命令udp and ip.addr==192.168.1.103筛选IP为主机地址,并且传输协议为UDP的数据包。筛选结果如图所示:

从中可以看出,源/目的IP除本机IP之外,主要是123.6.41.19。
** 4.2.2 查询地理位置**
查询结果是在河南郑州。

从上述数据中可以确定123.6.41.19是对方的IP地址,且与对方自行提供的公网IP地址能够完全对应。
4.3 使用nmap开源软件对靶机环境进行扫描
此处使用WinXP虚拟机作为靶机,Kali虚拟机作为攻击机。安装完成后,分别查看靶机与攻击机的IP地址,其中靶机IP地址为192.168.116.130,攻击机的IP地址为192.168.116.128。如图所示:


4.3.1 检查靶机IP地址是否活跃
通过命令nmap -sn 192.168.116.130进行ping扫描,查询靶机是否在线。查询结果为靶机在线,如图所示:

4.3.2 检查靶机IP地址开放的端口
通过命令nmap -sS 192.168.116.130进行ping扫描,查询靶机开放的TCP端口。查询结果为靶机开放的TCP端口有135、139、445端口。其中135端口提供Microsoft RPC服务,139端口提供NetBIOS会话服务,445端口提供Microsoft目录服务。如图所示:

通过命令nmap -sU 192.168.3.42进行UDP扫描,查询靶机开放的UDP端口。查询结果为靶机开放的UDP端口有123、137端口。开放但被过滤的端口有138、445、500、1048、1900、4500端口。其中123端口是网络时间协议,137端口是NetBIOS名称服务。如图所示:

4.3.3靶机安装的操作系统及版本
通过命令nmap -O 192.168.116.130,查询靶机安装的操作系统及版本。查询结果为靶机开放的操作系统是Microsoft Windows XP。如图所示:

4.3.4靶机安装的服务
通过命令nmap -sV 192.168.116.130,查询靶机安装的服务。查询结果为靶机安装的服务是远程过程调用服务和文件打印机共享服务。通过135端口,可以支持程序间的网络通信。通过139端口和445端口可以在局域网内共享文件和打印机,让其他计算机访问它的资源。如图所示:

** 4.4 用Nessus开源软件对靶机环境进行扫描**
** 4.4.1靶机上开放的端口**
在Kali虚拟机上下载nessus,安装完成后,通过https://localhost:8834打开nessus,选择create new scan,选择其中的host discovery。在扫描配置界面,输入任务名称、描述、文件夹与目标主机。前三个可以任意填写,随后一个需填写靶机的IP地址。如图所示:

保存并扫描,扫描结果显示,靶机开放的端口有135、139、445端口,与使用nmap扫描的结果相同。如图所示:

4.4.2靶机各个端口上网络服务存在的安全漏洞
创建一个新的扫描,选择Advanced Scan高级扫描,并使用同样的方式进行配置,并进行扫描。扫描结果如图所示:

扫描信息如下:
(1)严重漏洞
漏洞名称:Microsoft Windows XP Unsupported Installation Detection
风险:Windows XP 是微软停止支持的操作系统,无安全补丁更新,易受各类新漏洞攻击。攻击者可利用已知或未知漏洞轻松入侵系统,导致数据泄露、系统瘫痪或被植入恶意软件,安全风险极高。
(2)高危漏洞
漏洞名称:SMB NULL Session Authentication
风险:SMB 空会话认证漏洞,允许攻击者匿名连接目标系统,枚举用户列表、共享资源、系统配置等敏感信息,为后续渗透攻击(如暴力破解、权限提升)提供关键信息支撑。
(3)高危漏洞
漏洞名称:ICMP Timestamp Request Remote Date Disclosure
风险:ICMP 时间戳请求漏洞,导致系统时间信息泄露。攻击者可通过该信息推断操作系统类型、运行时长、时区等,辅助网络侦察,为后续攻击(如时间同步攻击、精准利用时间相关漏洞)创造条件。
(4)中危漏洞
漏洞名称:SMB (Multiple Issues)
风险:SMB 协议存在多个混合型问题,可能涉及信息泄露、权限绕过等风险,扩大攻击者的攻击面,为其进一步渗透提供多种途径。
(5)中危漏洞
漏洞名称:Microsoft Windows (Multiple Issues)
风险:Windows 系统存在多个混合型问题,可能涵盖系统组件、服务等方面的安全缺陷,如信息泄露、权限配置不当等,增加系统被攻击的风险。
(6)信息性漏洞
包括 Nessus SYN Scanner、Common Platform Enumeration (CPE)、Device Type、Ethernet Card Manufacturer Detection、Ethernet MAC Addresses、Nessus Scan Information、Nessus Windows Scan Not Performed with Admin Privileges、Network Time Protocol (NTP) Server Detection、OS Fingerprints Detected、OS Identification、OS Security Patch Assessment Not Available、Target Credential Status by Authentication Protocol - No Credentials Provided、TCP/IP Timestamps Supported、Traceroute Information、VMware Virtual Machine Detection 等,虽无直接安全威胁,但可能暴露系统配置、硬件信息、扫描信息等,为攻击者提供系统画像,辅助其制定攻击策略。
** 4.4.3攻陷靶机环境,获得系统访问权的方法**
使用编号为MS17-010的永恒之蓝漏洞,它主要利用了SMB协议,影响的是TCP 139和445端口。具体命令如下,如图所示:

存在报错:

分析是需要32位的攻击程序,但是切换了之后还是存在问题:


** 4.5 搜索测试**
4.5.1 搜索自己在网上的足迹
搜索自己的名字:

学号:

手机号:

搜集到的信息都是我自己公开发布(比如博客)或者是手机号所在地,虽然有隐私泄露的风险,但是并不大。
** 4.5.2 练习使用Google hack搜集技能完成搜索**
(1)site:指定域名
仅搜索指定网站或域名的资源。
示例:site:baidu.com python教程。可用于搜索百度旗下页面中含“python教程”的内容。

(2)info:指定域名
查询网站的基础信息,如缓存时间、收录状态等。
示例:info:google.com。可用于展示谷歌官网的基本索引信息。

(3)intext:限定关键字
限定关键字必须出现在网页正文内容中。
示例:intext:数据安全 隐私保护。可用于找到正文中同时包含“数据安全”和“隐私保护”的页面。

(4)intitle:匹配关键字
只匹配网页标题中含关键字的页面。
示例:intitle:2025 AI趋势报告。可用于筛选标题含该关键词的报告类页面。

(5)allintitle:查找标题中同时包含多个关键词的页面
比 intitle:更严格,要求网页标题中必须同时出现所有指定的关键字。
示例:allintitle:上海 美食 攻略。可用于查找标题中完整包含这三个词的旅游指南页面,并且过滤掉只包含其中一两个词的无关结果。

(6)inurl:匹配关键字
筛选URL地址中含关键字的网页。
示例:inurl:admin 登录。可用于定位URL含“admin”且含“登录”的页面。

(7)filetype:匹配文件类型
限定搜索指定文件格式的资源。
示例:filetype:pdf 机器学习入门。可以找到PDF格式的机器学习资料。

(8)ext:限定搜索特定类型的网页扩展名
与filetype:作用类似,但它侧重于URL中显示的文件扩展名。
示例:ext:ppt 项目管理 方法论。可用于查找扩展名为 .ppt 的PowerPoint演示文稿。

(9)OR用于扩大搜索范围
搜索包含多个关键词中任意一个的页面。
示例:新能源汽车(政策 OR 补贴)2024。可用于查找与新能源汽车政策和补贴相关的2024年信息。

(10)*通配符匹配任何未知词
在词组中代替一个或多个未知词。
示例:*是*的首都。可用于找到各种国家的首都信息。

五. 问题以及解决
1.第一个问题是Winxp安装,根本没网络。后来跟着教程重新做了一遍就有网络了
2.在对Winxp虚拟机做攻击的时候,发现收集不到任何信息。解决方法:关闭Winxp的防火墙。
3.在traceroute的时候,发现所有跳全部被屏蔽。解决方案:关闭本机防火墙,在traceroute命令后面使用-I参数。
4.nessus一直无法下载插件。解决方法:反反复复,多下几次。
六、实验体会
本次信息搜集技术实验,让我系统掌握了网络攻防领域的基础实用技能。实验期间,我重点学习了指定域名的深度剖析方法,通过相关工具精准获取目标IP地址、域名注册主体信息及注册地址等核心数据;同时实践了网络通信抓包技术,成功捕获通信对象的IP地址后,借助地理定位工具分析其大致地理位置;此外,还运用nmap与nessus两款专业工具对靶机进行全方位探测,不仅摸清了靶机的运行环境、系统配置,还排查出潜在的安全漏洞,并尝试基于漏洞开展模拟攻击测试;最后,我还学习了高级搜索语法的应用技巧,同时通过多种检索方式梳理了自己在网络空间留下的各类痕迹,对信息泄露的风险有了直观认知。经过一系列实操训练,我对信息搜集的技术逻辑、实施流程及实际成效形成了全面且深入的理解。
实验开展过程中,我也面临了不少挑战,既涉及环境搭建与软件配置的难题,也存在具体操作环节的突发状况。在实验环境搭建阶段,WinXP镜像文件的获取成为首要阻碍。由于官方渠道已停止提供相关资源,我不得不辗转多个网络平台查找,期间尝试了各类论坛、资源分享站点,多次遭遇资源失效、版本不匹配等问题,耗费大量时间筛选验证后,才找到适配的镜像文件并完成虚拟机安装。而在nessus工具配置过程中,不同技术博客提供的教程方案差异较大,部分步骤描述不够细致,且存在版本适配问题,导致实际操作中频繁出现配置报错,虽通过反复比对教程、逐步排查参数,最终完成了配置,但整体耗时远超预期。在具体操作执行环节,同样出现了一些超出预期的问题。例如,往届学长推荐的IP精准地理定位网站,在本次实验中均无法正常访问,推测可能是网站关停或地域访问限制导致。
总体而言,本次实验不仅让我扎实掌握了信息搜集的核心技术,更在实践中深刻体会到工具选型、方法适配的重要性。合理运用专业工具与科学的搜索策略,能够大幅提升信息搜集的效率和精准度,这项技能在网络攻防、安全防护等场景中是具有强大实用价值的。实验过程中遇到的各类问题,既锻炼了我的问题排查能力和自主解决问题的思维,也让我学会了灵活变通、多方求助的学习方法。

浙公网安备 33010602011771号