springboot(医保药品进销项管理系统-->前端开发-->自动代码生成模式开发页面细节调整)
一、页面细节调整
1、factory.js的调整,需要将原先代码生成器中生成的代码做一个替换

将代码生成中的vue--->api---->pill下的factory.js重新拉到webstrom中做个替换

2、index.vue的调整
将代码生成中的vue--->views---->pill---->factory下的index.vue重新拉到webstrom中做个替换


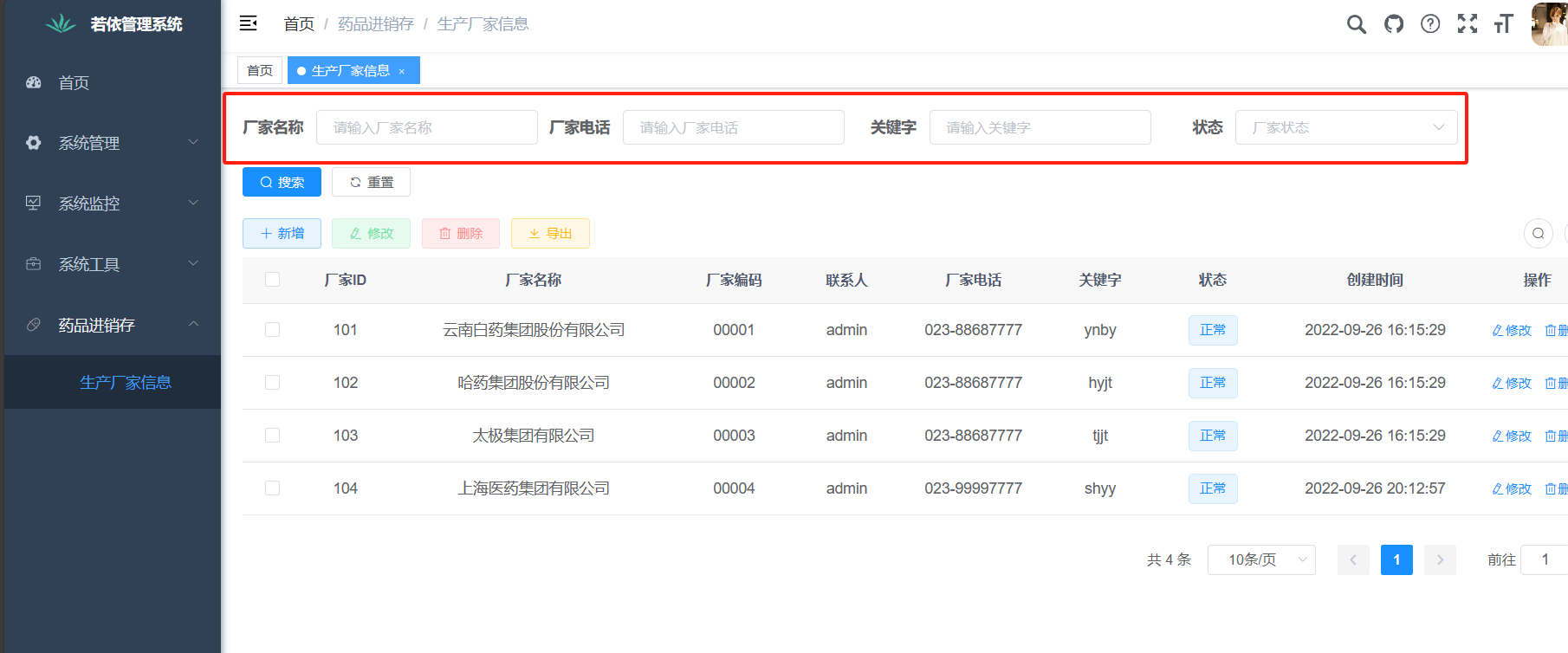
操作完成后,才能完成在若依后台中想要的界面:

3、条件搜索栏的调整
在若依后台搜索框中可以看到,只出现名称、电话、关键字、状态四个条件搜索框,但是代码生成的代码由于没有调整,可能会出现多或少的条件搜索
所以我们修改前端index.vue的代码进行调整

在index.vue中<el-form-item></el-form-item>中的代码进行删改,多的就删掉,少的进行添加即可

其中状态这一栏是特殊的,可能是代码生成器生成的代码有些不足需要修改,也是直接仿照着原有的ruoyi中的代码进行粘贴修改


但有个地方需要注意一下:


状态栏0和1的对应关系调整,我们需要修改<el-table-column></el-table-column>中的代码

浙公网安备 33010602011771号